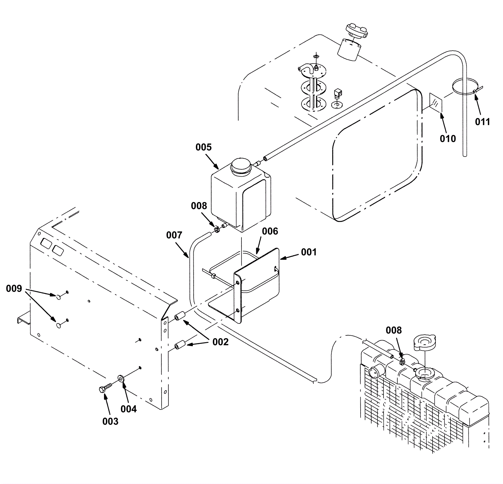
Radiator Overflow Tank Group - Gas - SN025000 and Up
Click to enlarge