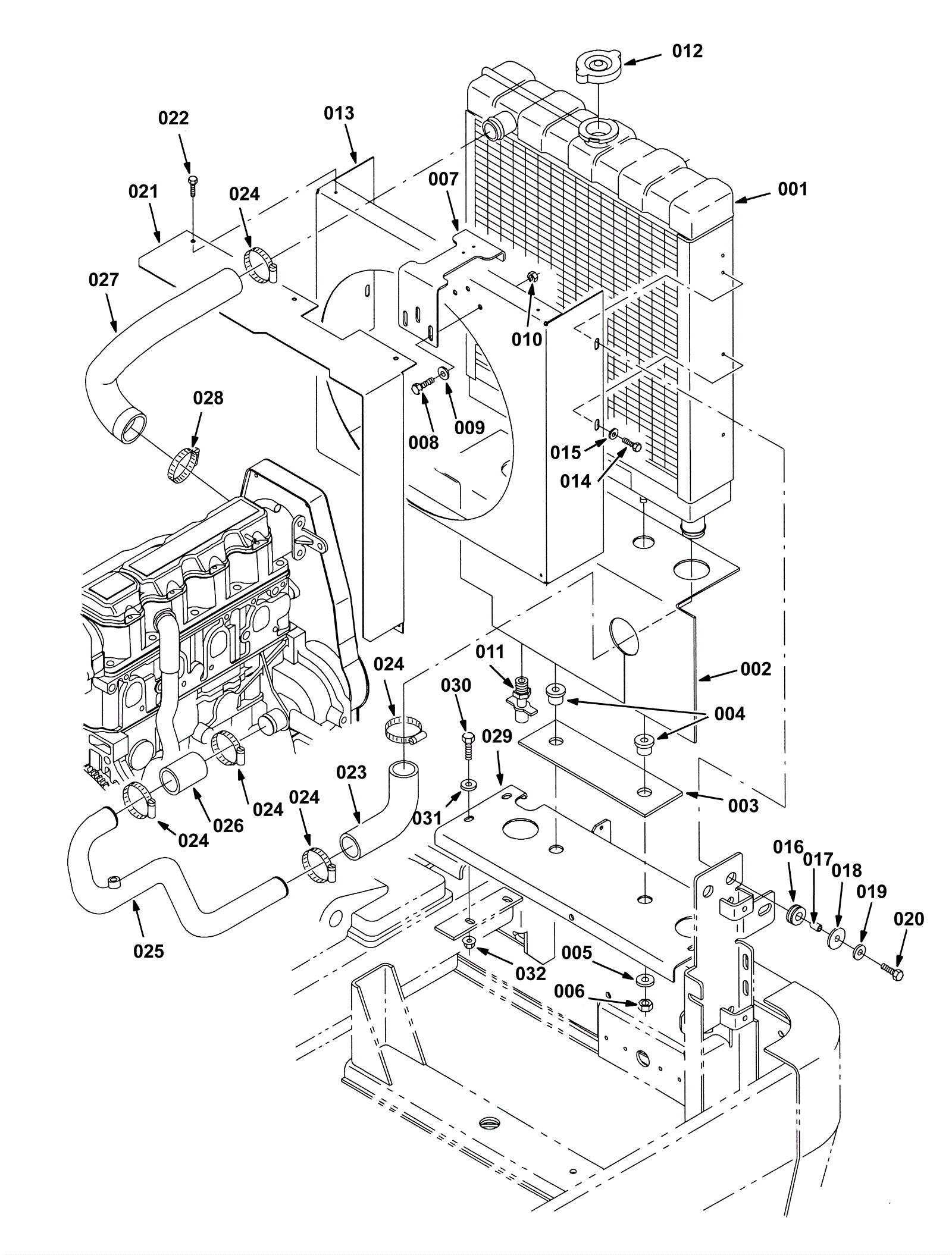
Radiator Group - SN 025000 and Up
Click to enlarge