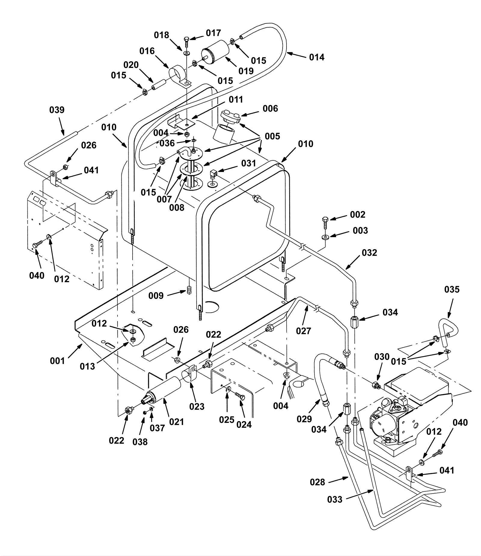
Fuel Tank Group - Gas - Up to SN 024999
Click to enlarge