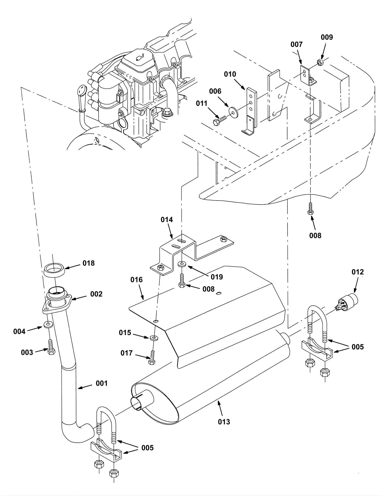
Muffler Group - Up to SN 024999
Click to enlarge