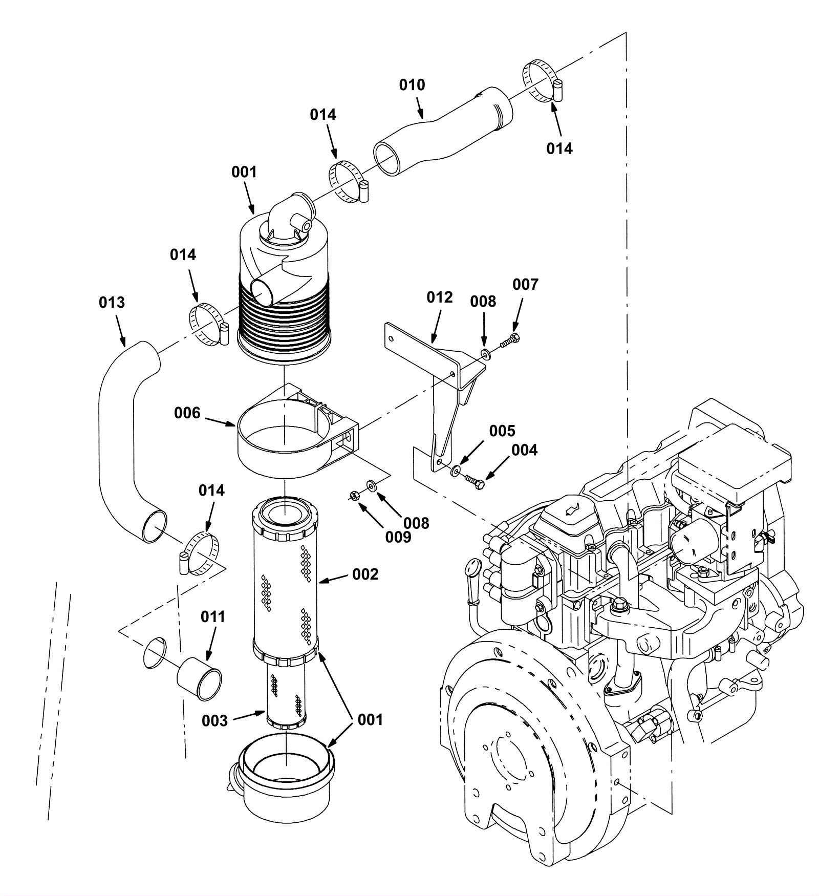
Air Cleaner Group - Up to SN 024999
Click to enlarge