| # | Part | Description | Price | Req | Notes | Availability |
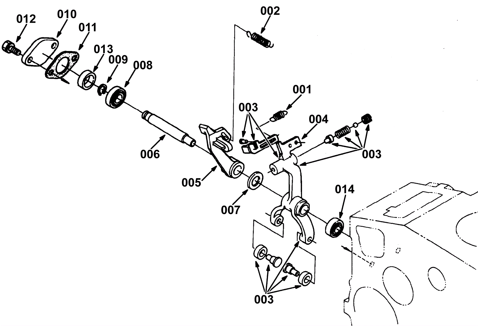
001 |
275-3681
|
VR, SPRING, START [KU] (Tennant Industrial) |
$34.67
|
1 |
|
usually ships 1-5 days |
002 |
275-3682
|
VR, SPRING, EXT, GOVNR [KU] (Tennant Industrial) |
$44.18
|
1 |
|
usually ships 1-5 days |
003 |
275-3683
|
VR, LEVER ASSY, GOVNR [KU] (Tennant Industrial) |
$885.01
|
1 |
|
usually ships 1-5 days |
004 |
275-3684
|
Fork complete lever (OBSOLETE) |
Call for price
|
1 |
|
usually ships 1-5 days |
005 |
275-3685
|
VR, LEVER, GOV [KU] (Tennant Industrial) (OBSOLETE) |
$65.50
|
1 |
|
usually ships 1-5 days |
006 |
275-3686
|
VR, SHAFT, GOVNR [KU] (Tennant Industrial) |
$42.51
|
1 |
|
usually ships 1-5 days |
007 |
275-3687
|
VR, WASHER, FLAT [KU] (Tennant Industrial) |
$8.84
|
1 |
|
usually ships 1-5 days |
008 |
275-3688
|
VR, BEARING, BALL [KU] (Tennant Industrial) (OBSOLETE) |
$16.13
|
1 |
|
usually ships 1-5 days |
009 |
275-3689
|
VR, RING, SNAP, EXT [KU] (Tennant Industrial) (OBSOLETE) |
$1.80
|
1 |
|
usually ships 1-5 days |
010 |
275-3690
|
VR, COVER, LEVER, GOV [KU] (Tennant Industrial) |
$22.50
|
1 |
|
usually ships 1-5 days |
011 |
275-3691
|
VR, GASKET, COVER, GOV [KU] (Tennant Industrial) |
$5.50
|
1 |
|
usually ships 1-5 days |
012 |
175-8363
|
VR, BOLT, HEX [KU] (Tennant Industrial) |
$5.50
|
2 |
|
usually ships 1-5 days |
013 |
N/A
|
Not available |
Call for price
|
1 |
Collar |
usually ships 3-26 days |
014 |
275-3693
|
VR, BEARING, BALL [KU] (Tennant Industrial) |
$27.01
|
1 |
|
usually ships 1-5 days |