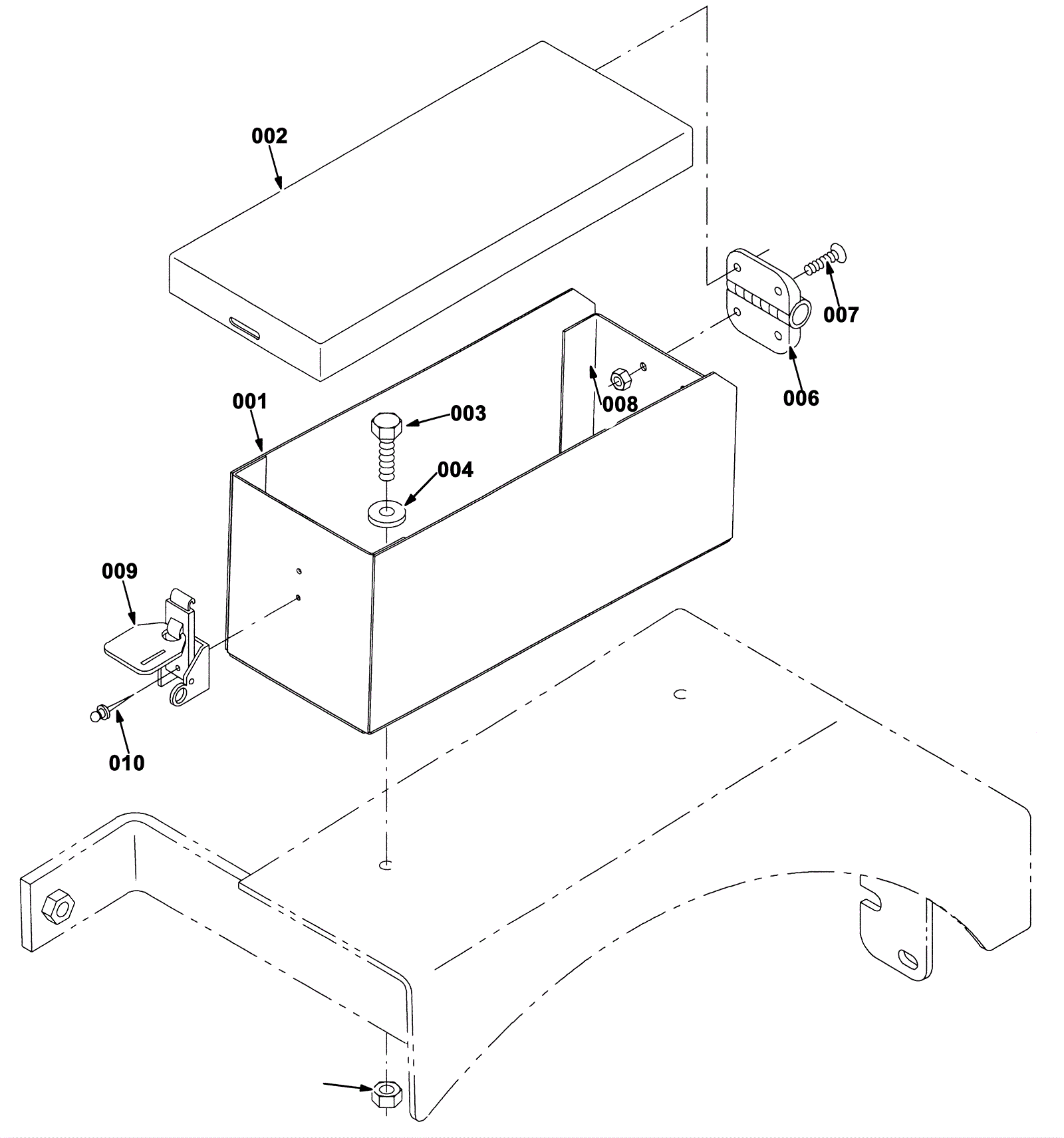
| # | Part | Description | Price | Req | Notes | Availability |
001 |
275-3174
|
BOX KIT, TOOL (Tennant Industrial) |
$715.81
|
1 |
|
usually ships 1-5 days |
001 |
275-3175
|
BOX, TOOL (Tennant Industrial) |
$188.87
|
1 |
|
usually ships 1-5 days |
002 |
275-3176
|
COVER, BOX, TOOL (Tennant Industrial) |
$174.03
|
1 |
|
usually ships 1-5 days |
003 |
999-0499
|
Bolt M8-1.25 x 20mm hex head full thread stainless steel |
$1.85
|
2 |
|
ships same day |
004 |
999-0549
|
Washer 5/16 x 3/4 SAE flat stainless steel |
$0.99
|
2 |
|
ships same day |
005 |
999-0665
|
Nut M8-1.25 flange lock |
$0.99
|
2 |
|
ships same day |
006 |
275-3177
|
HINGE, .40PIN 2.2W 02.0L, 4/0.21H (Tennant Industrial) |
$129.53
|
1 |
|
usually ships 10-13 days |
007 |
999-1225
|
Screw M5-.8 x 12mm pan head phillips zinc |
$0.99
|
4 |
|
ships same day |
008 |
175-2894
|
Nut M5-.8 hex nylon locking |
$3.30
|
4 |
|
usually ships 10-13 days |
009 |
175-8144
|
Latch (Tennant Industrial) |
$58.35
|
1 |
|
usually ships 10-13 days |
010 |
175-8145
|
Pop rivet |
$4.49
|
2 |
|
usually ships 1-5 days |