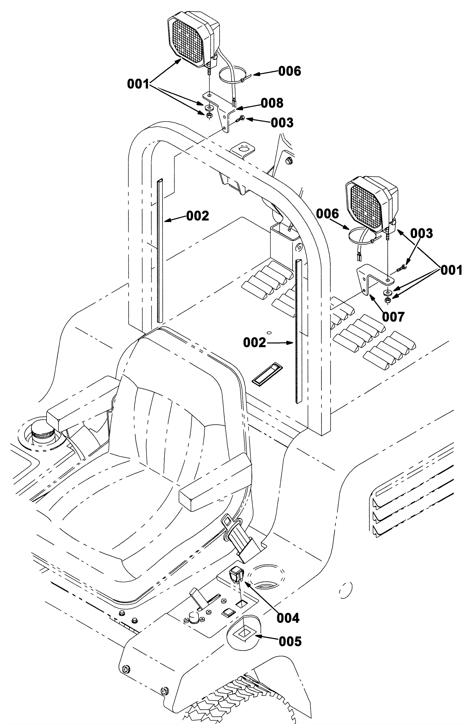
| # | Part | Description | Price | Req | Notes | Availability |
001 |
275-3160
|
LIGHT KIT, WORK, 12VDC, CI [ATLV] (Tennant Industrial) |
$877.18
|
1 |
|
usually ships 1-5 days |
001 |
275-3161
|
LIGHT, FLOOD, HALOGEN, 55WATT, HD (Tennant Industrial) |
$161.03
|
2 |
|
usually ships 1-5 days |
001 |
275-3162
|
LAMP, 12VDC, 55WATT, HALOGEN, HD [H3] (Tennant Industrial) |
$39.51
|
1 |
|
usually ships 1-5 days |
002 |
275-3163
|
Vinyl duct (OBSOLETE) |
$0.99
|
2 |
|
usually ships 1-5 days |
003 |
175-0536
|
Bolt M6-1 x 20mm hex head thread forming |
$4.49
|
4 |
|
ships same day |
004 |
175-0569
|
Rocker switch |
$54.12
|
1 |
|
usually ships 1-5 days |
005 |
175-5981
|
LLATE (Tennant Industrial) |
$21.50
|
1 |
|
usually ships 1-5 days |
006 |
175-2226
|
Nylon wire tie |
$4.49
|
2 |
|
ships same day |
007 |
275-3164
|
BRACKET, ANGLE, LIGHT, LH (Tennant Industrial) |
$41.68
|
1 |
|
usually ships 1-5 days |
008 |
275-3165
|
BRACKET, ANGLE, RH (Tennant Industrial) |
$43.18
|
1 |
|
usually ships 1-5 days |