| # | Part | Description | Price | Req | Notes | Availability |
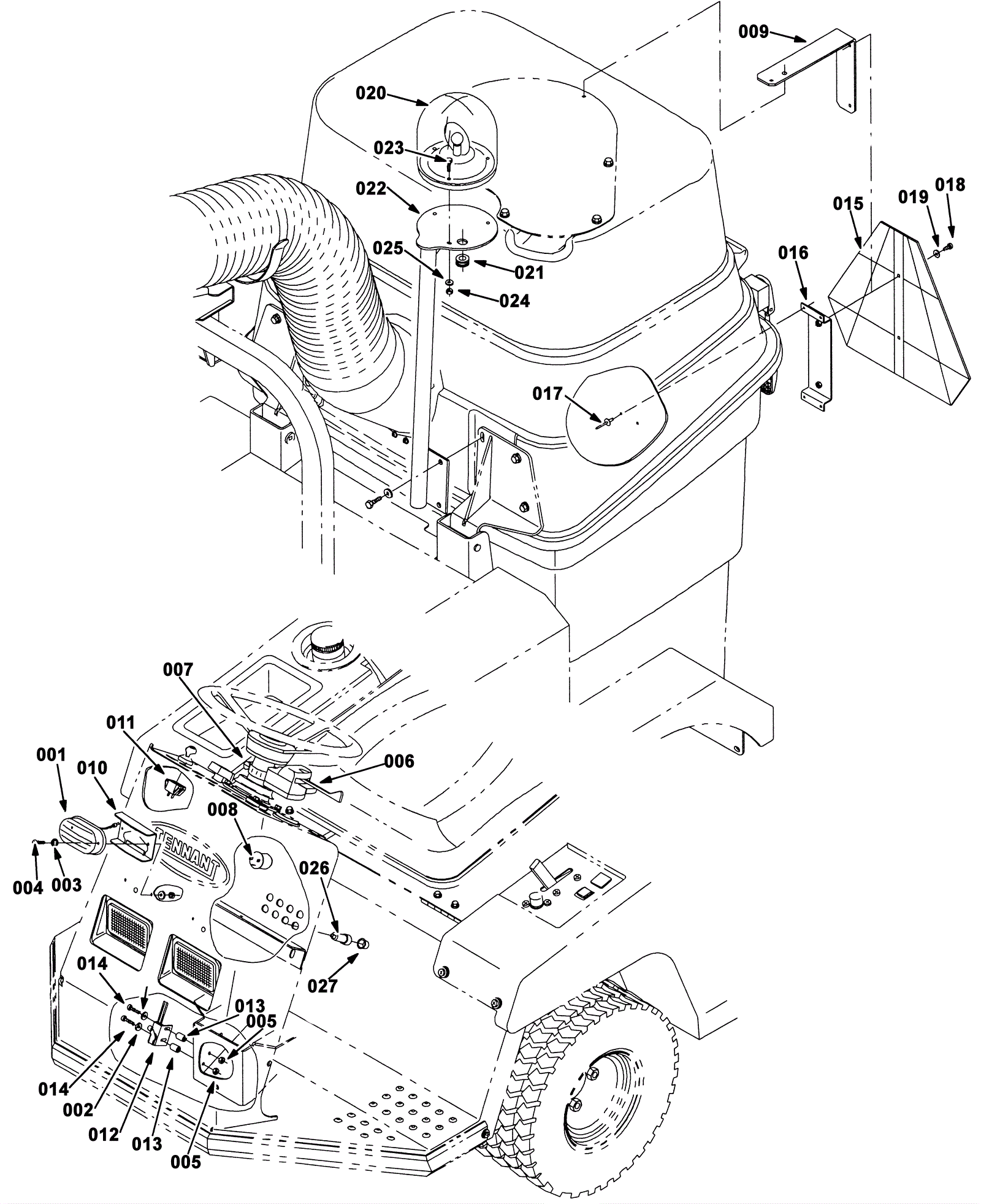
001 |
175-0526
|
LAMP, 12VDC, 0.3A, 02CP [#194] (Tennant Industrial) |
$13.67
|
1 |
|
usually ships 1-5 days |
001 |
275-3139
|
LIGHT KIT, ROAD, CI [ATLV4300] (Tennant Industrial) |
$2,441.32
|
1 |
|
usually ships 1-5 days |
002 |
999-0998
|
Washer #10 flat stainless steel |
$0.99
|
8 |
|
ships same day |
003 |
999-0053
|
Washer #10 split lock plain finish |
$0.99
|
2 |
|
ships same day |
005 |
999-0740
|
Nut M5-.8 hex stainless steel |
$0.99
|
6 |
|
ships same day |
006 |
275-3140
|
SWITCH, TURN SIGNAL, RWK 60750 (Tennant Industrial) |
$591.95
|
1 |
|
usually ships 1-5 days |
007 |
997-2000
|
Hose clamp |
$2.37
|
1 |
|
ships same day |
008 |
275-3141
|
FLASHER, HD, 12VDC 25A [10-57300] (Tennant Industrial) |
$105.19
|
1 |
|
usually ships 1-5 days |
009 |
275-3142
|
BRACKET, MTG, LABEL (Tennant Industrial) |
$95.52
|
2 |
|
usually ships 1-5 days |
010 |
275-3143
|
BRACKET, LIGHT, SBDC (Tennant Industrial) |
$24.84
|
2 |
|
usually ships 10-13 days |
011 |
175-5962
|
LIGHT, PANL, 14VDC, 1.1 X 1.0 (Tennant Industrial) |
$35.67
|
1 |
|
usually ships 1-5 days |
012 |
275-3144
|
SWITCH, SNAP, 15A NC, RLR (Tennant Industrial) |
$205.21
|
1 |
|
usually ships 10-13 days |
013 |
175-3398
|
Sleeve |
$8.03
|
2 |
|
usually ships 10-13 days |
014 |
275-3145
|
Screw M5-.8 x 40mm pan head phillips stainless steel |
$6.67
|
2 |
|
usually ships 1-5 days |
015 |
275-3146
|
LABEL, SYMBOL, SLOW MOVING VEH (Tennant Industrial) |
$75.85
|
1 |
|
usually ships 1-5 days |
016 |
275-3147
|
BRACKET, MTG [SMV LABEL] (Tennant Industrial) |
$89.68
|
1 |
|
usually ships 1-5 days |
017 |
275-3075
|
Pop rivet |
$4.22
|
4 |
|
usually ships 10-13 days |
018 |
175-3229
|
Screw 6mm-1 x 16 pan head |
$4.49
|
2 |
|
usually ships 1-5 days |
019 |
999-0123
|
Washer 1/4 SAE flat zinc plated |
$0.99
|
2 |
|
ships same day |
020 |
275-3149
|
2D9P, 12VDC, 55WATT, HALOGEN [H1] (Tennant Industrial) |
$59.29
|
1 |
|
usually ships 1-5 days |
020 |
275-3150
|
LENS, AMB, LIGHT, REVL (Tennant Industrial) |
$81.02
|
1 |
|
usually ships 1-5 days |
020 |
675-5312
|
LIGHT, STROBE, AMB (Tennant Industrial) |
$734.65
|
1 |
|
usually ships 10-13 days |
021 |
175-9590
|
Rubber grommet |
$5.28
|
1 |
|
usually ships 1-5 days |
022 |
275-3150
|
LENS, AMB, LIGHT, REVL (Tennant Industrial) |
$81.02
|
1 |
|
usually ships 1-5 days |
023 |
175-3382
|
Bolt M5-.8 x 25mm hex head stainless steel |
$4.49
|
3 |
|
usually ships 10-13 days |
024 |
275-3151
|
NUT, HEX, STD, M5 X 0.80, A2, SS (Tennant Industrial) |
$0.90
|
3 |
|
usually ships 1-5 days |
025 |
999-0335
|
Washer 1/4 x 5/8 SAE flat stainless steel |
$0.99
|
3 |
|
ships same day |
026 |
175-5969
|
15amp circuit breaker (Tennant Industrial) |
$8.34
|
1 |
|
ships same day |
027 |
275-2596
|
Circuit breaker boot (Tennant Industrial) |
$20.84
|
1 |
|
ships same day |