| # | Part | Description | Price | Req | Notes | Availability |
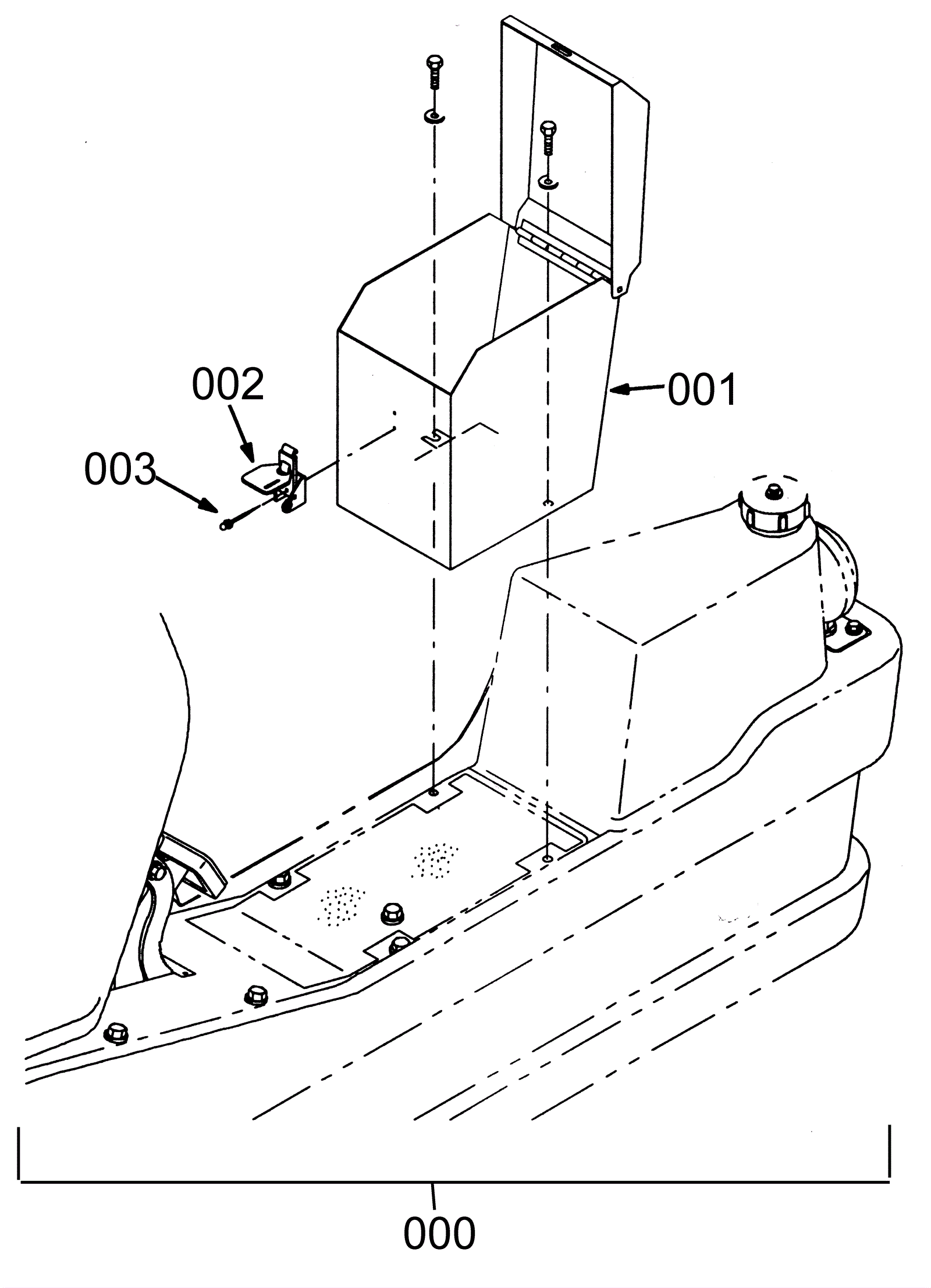
000 |
175-8142
|
Storage box kit (Tennant Industrial) (OBSOLETE) |
$1,579.75
|
1 |
|
usually ships 1-5 days |
001 |
175-8143
|
Storage box weldment(Tennant Industrial) (OBSOLETE) |
$1,515.25
|
1 |
|
usually ships 1-5 days |
002 |
175-8144
|
Latch (Tennant Industrial) |
$58.35
|
1 |
|
usually ships 10-13 days |
003 |
175-8145
|
Pop rivet |
$4.49
|
2 |
|
usually ships 1-5 days |