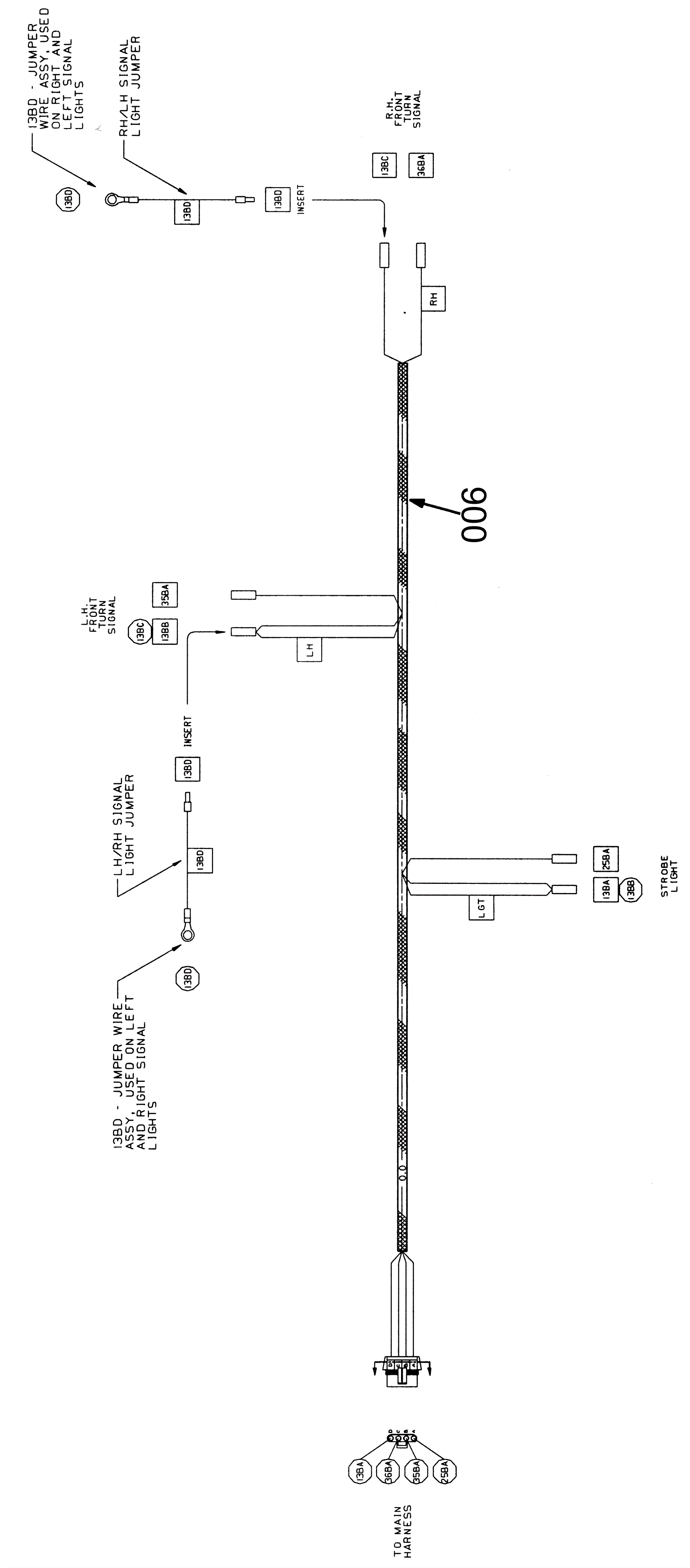
Wire Harnesses Group - 02
Click to enlarge