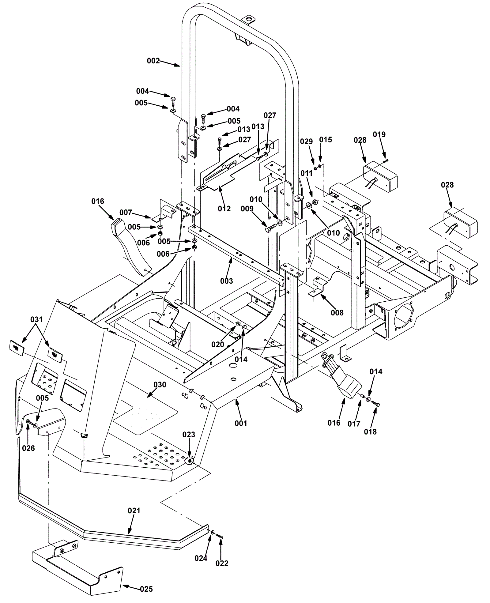
Main Frame Group
Click to enlarge