| # | Part | Description | Price | Req | Notes | Availability |
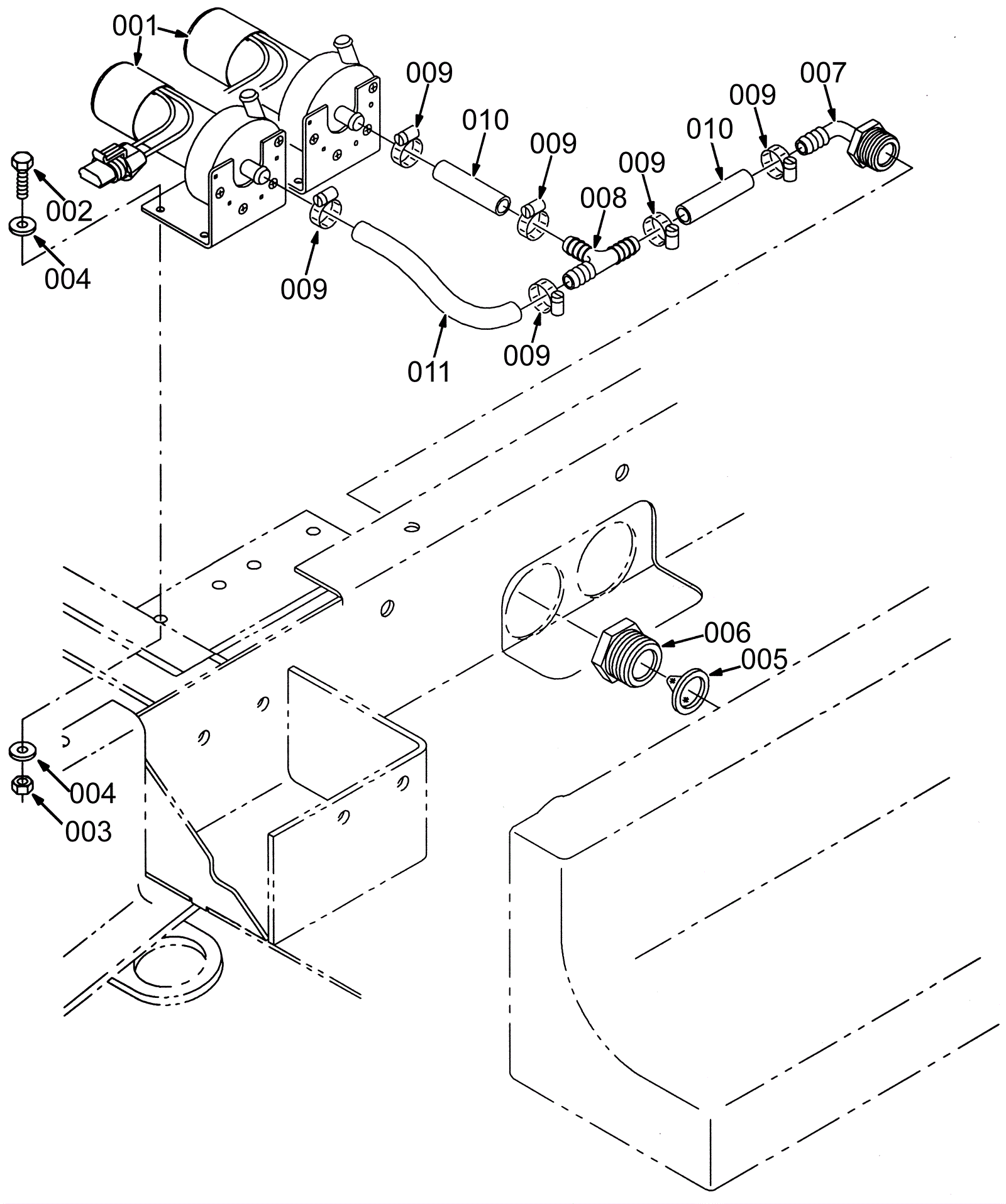
001 |
175-6938
|
MP, WATER, 12VDC, 0.5GPM (Tennant Industrial) |
$573.61
|
2 |
|
usually ships 1-5 days |
002 |
175-6939
|
Screw M5 x 16mm stainless steel |
$3.96
|
4 |
|
ships same day |
003 |
999-0740
|
Nut M5-.8 hex stainless steel |
$0.99
|
4 |
|
ships same day |
004 |
999-0998
|
Washer #10 flat stainless steel |
$0.99
|
8 |
|
ships same day |
005 |
175-6940
|
STRAINER, SOLTN, 30MESH, CYL, 1.1D 00.8L (Tennant Industria |
$20.17
|
1 |
|
usually ships 1-5 days |
006 |
175-6941
|
FITTING, PLSTC, STR, PF08/PM16 (Tennant Industrial) |
$6.50
|
1 |
|
usually ships 1-5 days |
007 |
175-6942
|
Plastic fitting (Tennant Industrial) |
$8.50
|
1 |
|
usually ships 1-5 days |
008 |
175-6943
|
FITTING, PLSTC, TEE, BM06/BM06/BM06 (Tennant Industrial) |
$11.00
|
1 |
|
usually ships 1-5 days |
009 |
175-3594
|
Hose clamp |
$5.28
|
6 |
|
usually ships 10-13 days |
010 |
275-4939
|
1 foot PVC hose clear |
$20.35
|
2 |
|
usually ships 10-13 days |
011 |
275-4939
|
1 foot PVC hose clear |
$20.35
|
1 |
|
usually ships 10-13 days |