| # | Part | Description | Price | Req | Notes | Availability |
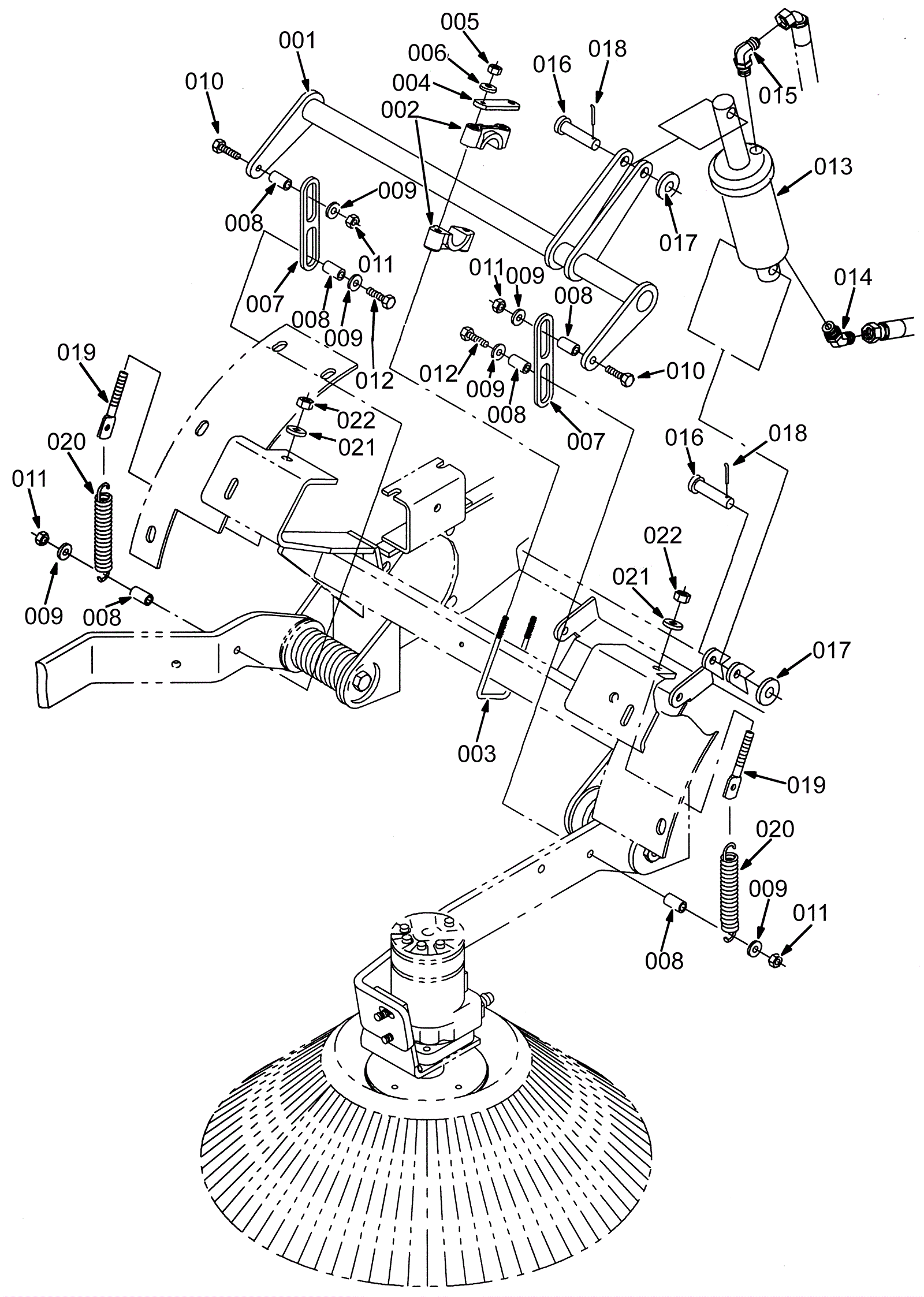
001 |
175-6913
|
Cross shaft weldment (Tennant Industrial) (OBSOLETE) |
$87.63
|
1 |
|
usually ships 1-5 days |
002 |
175-6807
|
BEARING, SPLIT, 1.00B (Tennant Industrial) |
$12.17
|
4 |
|
usually ships 10-13 days |
003 |
175-6914
|
BOLT, U, M6 X 2.0 (Tennant Industrial) |
$8.52
|
2 |
|
usually ships 1-5 days |
004 |
175-6915
|
PLATE, SPPT (Tennant Industrial) (OBSOLETE) |
$9.13
|
2 |
|
usually ships 1-5 days |
005 |
999-0469
|
Nut M6-1 nylon insert lock zinc plated |
$1.32
|
4 |
|
ships same day |
006 |
999-0123
|
Washer 1/4 SAE flat zinc plated |
$0.99
|
4 |
|
ships same day |
007 |
175-6916
|
LINK, 0.18, 1.0W 04.9L, 2/0.6SL (Tennant Industrial) |
$57.62
|
2 |
|
usually ships 1-5 days |
008 |
175-2182
|
Sleeve |
$4.22
|
6 |
|
ships same day |
009 |
175-0024
|
Bag housing screen (OBSOLETE) |
$14.63
|
6 |
|
usually ships 1-5 days |
010 |
175-0634
|
Bolt M8-1 1/4 x 35mm hex head |
$4.49
|
2 |
|
usually ships 1-5 days |
011 |
999-0665
|
Nut M8-1.25 flange lock |
$0.99
|
4 |
|
ships same day |
012 |
175-3163
|
Screw M8-1.25 x 60mm hex head |
$4.49
|
2 |
|
usually ships 10-13 days |
013 |
175-6917
|
Cylinder (Tennant Industrial) |
$364.91
|
1 |
|
usually ships 10-13 days |
014 |
175-6918
|
FITTING, HYD, E45, JM04/OM04 (Tennant Industrial) |
$18.67
|
1 |
|
usually ships 1-5 days |
015 |
175-6919
|
Elbow fitting |
$15.40
|
1 |
|
usually ships 10-13 days |
016 |
175-2382
|
Clevis pin |
$5.50
|
2 |
|
usually ships 10-13 days |
017 |
999-0187
|
Washer 1/2 flat plain finish |
$0.99
|
2 |
|
ships same day |
018 |
175-4986
|
Cotter pin |
$3.30
|
2 |
|
usually ships 10-13 days |
019 |
175-6920
|
BOLT, EYE, .38-16 X 3.22, 0.28 EYE (Tennant Industrial) |
$17.50
|
2 |
|
usually ships 1-5 days |
020 |
175-6921
|
Extension spring |
$12.10
|
2 |
|
usually ships 10-13 days |
021 |
999-0032
|
Washer 3/8 USS flat plain finish |
$2.42
|
2 |
|
ships same day |
022 |
175-6922
|
Nut 3/8 - 16 hex lock |
$4.49
|
2 |
|
usually ships 1-5 days |