| # | Part | Description | Price | Req | Notes | Availability |
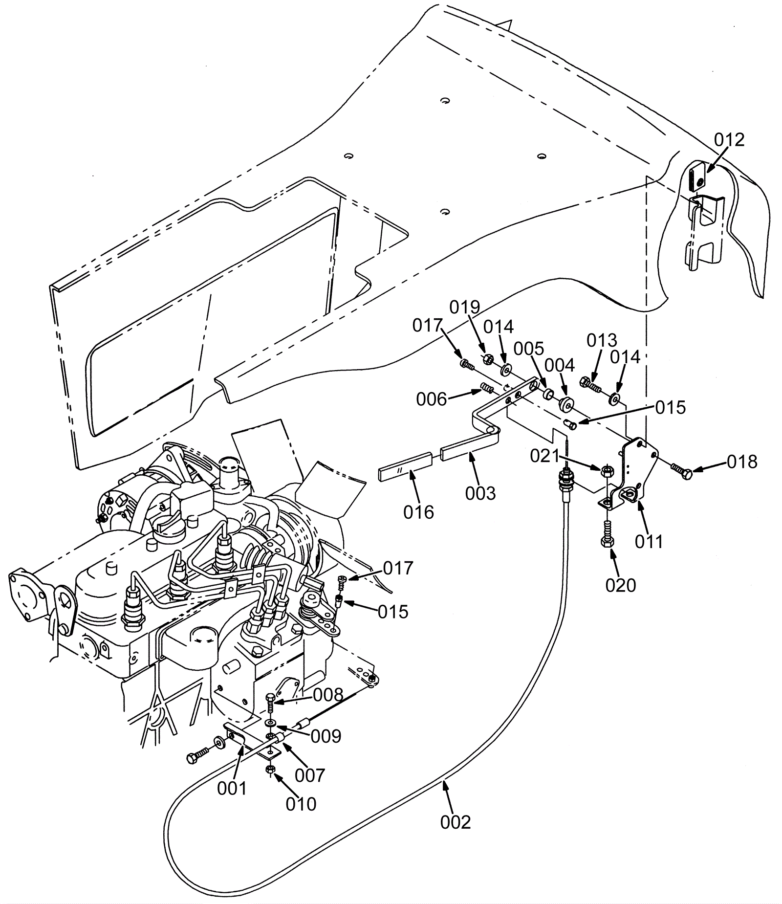
001 |
175-6826
|
Cable mounting bracket (Tennant Industrial) (OBSOLETE) |
$12.50
|
1 |
|
usually ships 1-5 days |
002 |
175-6827
|
CABLE, PUSH / PULL, 070.0L NONE / NONE (Tennant Industrial) |
$76.85
|
1 |
|
usually ships 1-5 days |
003 |
175-6828
|
HANDLE, THROTTLE (Tennant Industrial) (OBSOLETE) |
$40.63
|
1 |
|
usually ships 1-5 days |
004 |
175-6829
|
SPACER, LEVER, THROTTLE (Tennant Industrial) |
$44.51
|
1 |
|
usually ships 1-5 days |
005 |
175-6830
|
BUSHING, SLEEVE, 0.50B 0.59D 0.25L, OIB (Tennant Industrial |
$12.34
|
1 |
|
usually ships 1-5 days |
006 |
175-6831
|
PLUNGER (Tennant Industrial) |
$82.52
|
1 |
|
usually ships 10-13 days |
007 |
175-6932
|
BRACKET, TANK (Tennant Industrial) |
$42.18
|
1 |
|
usually ships 1-5 days |
008 |
999-0507
|
Bolt M6-1 x 16mm hex head full thread plain finish |
$0.99
|
1 |
|
ships same day |
009 |
999-0016
|
Washer 1/4 flat plain finish |
$0.99
|
1 |
|
ships same day |
010 |
999-0469
|
Nut M6-1 nylon insert lock zinc plated |
$1.32
|
1 |
|
ships same day |
011 |
175-6833
|
BRACKET ASSY, THROTTLE (Tennant Industrial) |
$171.87
|
1 |
|
usually ships 1-5 days |
012 |
175-5927
|
Nut M08 - 1 1/4 U |
$4.36
|
2 |
|
usually ships 1-5 days |
013 |
999-1133
|
Bolt M8-1.25 x 20mm hex head full thread plain |
$0.99
|
2 |
|
ships same day |
014 |
999-0024
|
Washer 5/16 flat stainless steel |
$1.34
|
3 |
|
ships same day |
015 |
175-2164
|
Swivel bushing |
$6.49
|
2 |
|
usually ships 10-13 days |
016 |
175-6834
|
GRIP, VYL (Tennant Industrial) |
$9.84
|
1 |
|
usually ships 1-5 days |
017 |
999-0411
|
Screw 8-32 x 3/8 pan head slotted zinc plated |
$0.99
|
2 |
|
ships same day |
018 |
999-0248
|
Bolt M8-1.25 x 30mm hex head full thread plain finish |
$0.99
|
1 |
|
ships same day |
019 |
175-3045
|
Skirt left side green (2401) |
$338.91
|
2 |
|
usually ships 10-13 days |
020 |
999-0581
|
Bolt M8-1.25 x 25mm hex head full thread zinc |
$0.99
|
1 |
|
ships same day |
021 |
999-0579
|
Nut M8-1.25 hex coarse thread zinc |
$0.99
|
1 |
|
ships same day |