| # | Part | Description | Price | Req | Notes | Availability |
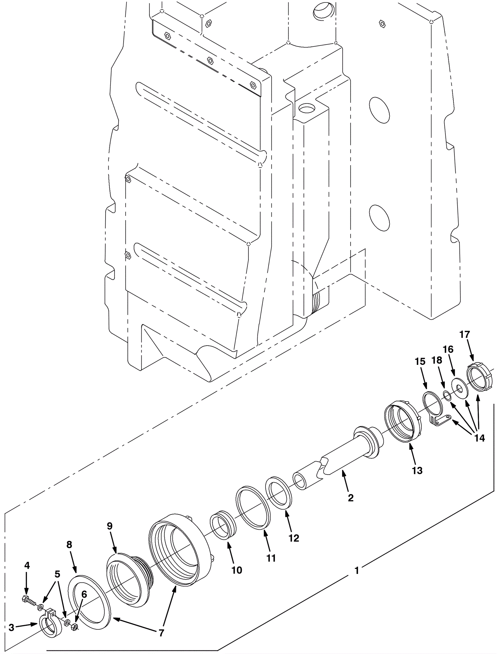
1 |
175-3379
|
Retractable hose drain assembly |
$274.01
|
1 |
(Includes 2-18) |
ships same day |
2 |
175-3380
|
Drain hose |
$85.91
|
1 |
|
usually ships 10-13 days |
3 |
175-3381
|
Plastic hose clamp 1.6 ID x .62 |
$31.02
|
1 |
|
usually ships 10-13 days |
4 |
175-3382
|
Bolt M5-.8 x 25mm hex head stainless steel |
$4.49
|
1 |
|
usually ships 10-13 days |
5 |
999-0998
|
Washer #10 flat stainless steel |
$0.99
|
2 |
|
ships same day |
6 |
999-0740
|
Nut M5-.8 hex stainless steel |
$0.99
|
1 |
|
ships same day |
7 |
175-3384
|
Tank cap |
$44.00
|
1 |
(Includes 8) |
usually ships 10-13 days |
8 |
175-7831
|
Rubber gasket |
$10.34
|
1 |
|
usually ships 10-13 days |
9 |
175-3386
|
Insert cover |
$18.37
|
1 |
|
usually ships 10-13 days |
10 |
175-3387
|
Seal |
$32.23
|
1 |
|
usually ships 10-13 days |
11 |
175-3388
|
Drain cap gasket |
$8.03
|
1 |
|
usually ships 10-13 days |
12 |
175-3389
|
Lid gasket |
$8.80
|
1 |
|
usually ships 10-13 days |
13 |
175-3390
|
Drain tank cap 3.85 thread pye |
$16.61
|
1 |
|
usually ships 10-13 days |
14 |
175-3391
|
Drain cap kit |
$29.37
|
1 |
(Includes 15-18) |
usually ships 10-13 days |
15 |
175-3392
|
Strap |
$10.34
|
1 |
|
usually ships 10-13 days |
16 |
175-3393
|
Cap gasket |
$5.50
|
1 |
|
usually ships 10-13 days |
17 |
175-3394
|
Drain tank cap 2.25 thread pye |
$10.01
|
1 |
|
usually ships 10-13 days |
18 |
175-3395
|
3/4 ID retaining extension ring stainless steel |
$6.49
|
1 |
|
usually ships 10-13 days |