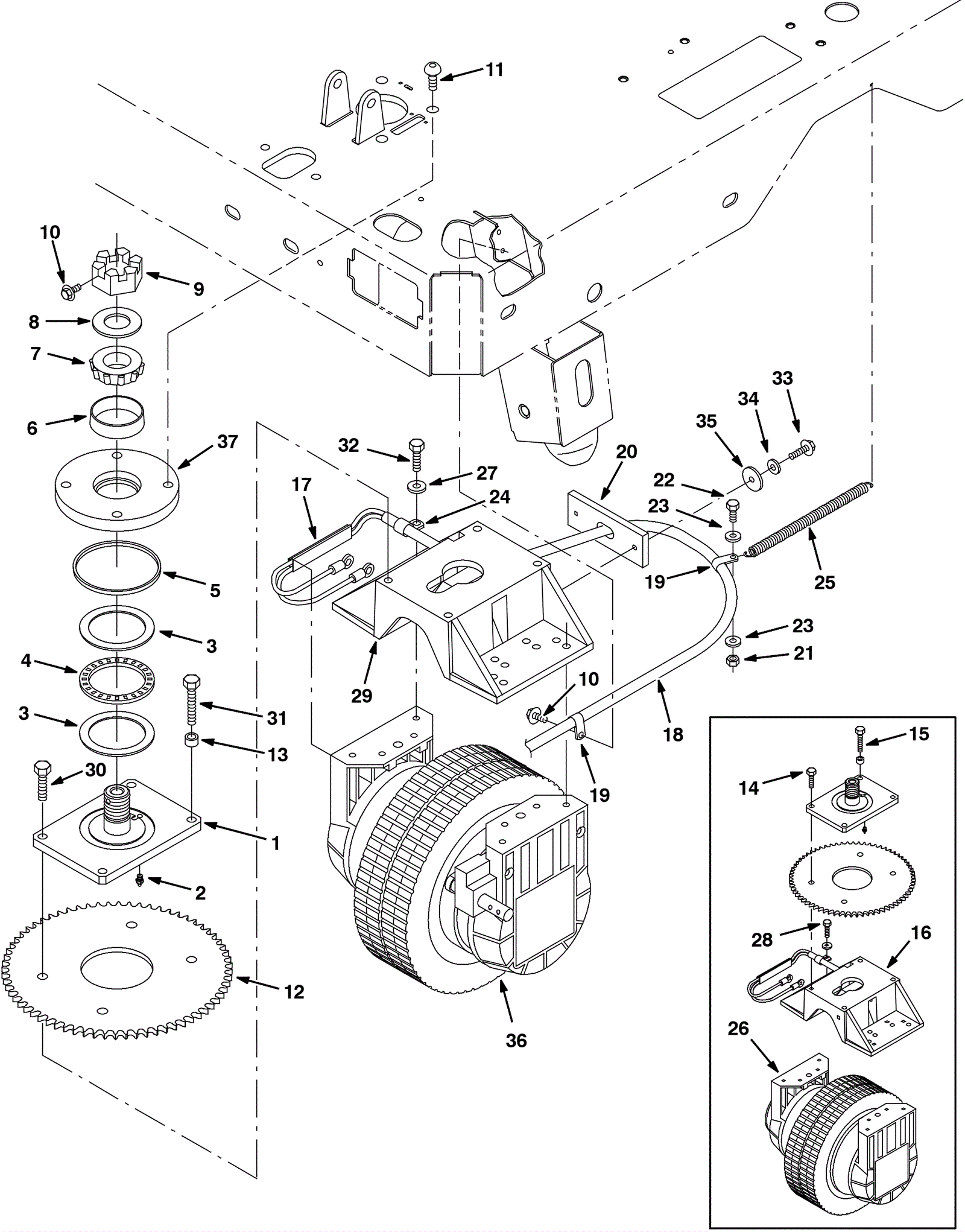
| # | Part | Description | Price | Req | Notes | Availability |
1 |
175-3247
|
Swivel plate weldment |
$421.08
|
1 |
|
usually ships 10-13 days |
2 |
175-3248
|
Grease fitting |
$4.49
|
1 |
|
usually ships 10-13 days |
3a |
175-4946
|
Front drive wheel replacement bearing kit |
$170.50
|
1 |
(includes 3b-7) |
ships same day |
3b |
175-3249
|
Washer thrust |
$7.37
|
2 |
|
usually ships 10-13 days |
4 |
175-3250
|
Thrust bearing |
$23.43
|
1 |
|
usually ships 10-13 days |
5 |
175-3251
|
Felt seal |
$8.80
|
1 |
|
usually ships 10-13 days |
6 |
175-4947
|
Cup bearing |
$10.89
|
1 |
|
usually ships 1-5 days |
7 |
175-6775
|
Cone bearing |
$40.70
|
1 |
|
usually ships 1-5 days |
8 |
175-3254
|
Washer |
$7.37
|
1 |
|
usually ships 10-13 days |
9 |
175-3255
|
Nut hexslot 1 1/4 x 12 |
$10.34
|
1 |
|
usually ships 1-5 days |
10 |
175-3166
|
Bolt M6-1 x 16mm hex head |
$5.28
|
2 |
|
usually ships 10-13 days |
11 |
175-3256
|
Screw M12-1.75 x 25mm button head |
$8.03
|
4 |
|
usually ships 1-5 days |
12 |
175-3257
|
Drive sprocket |
$69.08
|
1 |
|
usually ships 1-5 days |
13 |
175-2814
|
Spacer |
$6.49
|
1 |
|
usually ships 10-13 days |
14 |
175-3258
|
Bolt M10-1.5 x 35mm hex head |
$5.28
|
3 |
(before SN 00131) |
usually ships 1-5 days |
15 |
175-3259
|
Screw M10-1.5 x 45mm hex head |
$5.28
|
1 |
(before SN 00131) |
usually ships 1-5 days |
16 |
175-3260
|
Adapter plate repair kit (OBSOLETE) |
$217.80
|
1 |
(before SN 00131) |
usually ships 1-5 days |
17 |
175-3261
|
PVC duct |
$25.96
|
1 |
|
usually ships 10-13 days |
18 |
175-3262
|
Motor harness |
$96.03
|
1 |
|
usually ships 10-13 days |
19 |
175-3170
|
P clamp |
$4.22
|
3 |
|
ships same day |
20 |
175-4948
|
Strain relief flap |
$13.97
|
1 |
|
usually ships 10-13 days |
21 |
999-0497
|
Nut M6-1 nylon insert lock stainless steel |
$0.99
|
2 |
|
ships same day |
22 |
999-0507
|
Bolt M6-1 x 16mm hex head full thread plain finish |
$0.99
|
1 |
|
ships same day |
23 |
999-0016
|
Washer 1/4 flat plain finish |
$0.99
|
2 |
|
ships same day |
24 |
175-3168
|
P clamp |
$5.28
|
1 |
|
usually ships 10-13 days |
25 |
175-3263
|
Extension spring |
$23.98
|
1 |
|
usually ships 10-13 days |
26 |
175-4950
|
Front wheel gearbox assembly |
$5,192.66
|
1 |
(before SN 00213) |
usually ships 10-13 days |
27 |
999-0355
|
Washer 3/8 x 7/8 SAE flat stainless steel |
$0.99
|
6 |
|
ships same day |
28 |
999-0785
|
Screw M8-1.25 x 30mm hex head stainless steel |
$2.24
|
8 |
(before SN 00131) |
ships same day |
29 |
275-2748
|
Wheel adapter plate |
$227.70
|
1 |
(after SN 00130) |
usually ships 1-5 days |
30 |
999-0507
|
Bolt M6-1 x 16mm hex head full thread plain finish |
$0.99
|
3 |
(after SN 00130) |
ships same day |
31 |
175-3266
|
Bolt 10mm-1 1/2 x 50 hex head |
$4.22
|
1 |
(after SN 00130) |
usually ships 1-5 days |
32 |
999-0788
|
Screw M8-1.25 x 55mm hex head stainless steel |
$2.40
|
6 |
(after SN 00130) |
ships same day |
33 |
999-0779
|
Screw M6-1 x 25mm hex head plain finish |
$0.99
|
2 |
|
ships same day |
34 |
999-0123
|
Washer 1/4 SAE flat zinc plated |
$0.99
|
2 |
|
ships same day |
35 |
999-1288
|
Washer 1/4 x 1 OD fender stainless steel |
$0.99
|
2 |
|
ships same day |
36 |
175-4952
|
Break wheel gearbox |
$4,828.45
|
1 |
(after SN 00212) |
usually ships 10-13 days |
37 |
175-3252
|
Bottom swivel plate |
$302.39
|
1 |
|
usually ships 10-13 days |