| # | Part | Description | Price | Req | Notes | Availability |
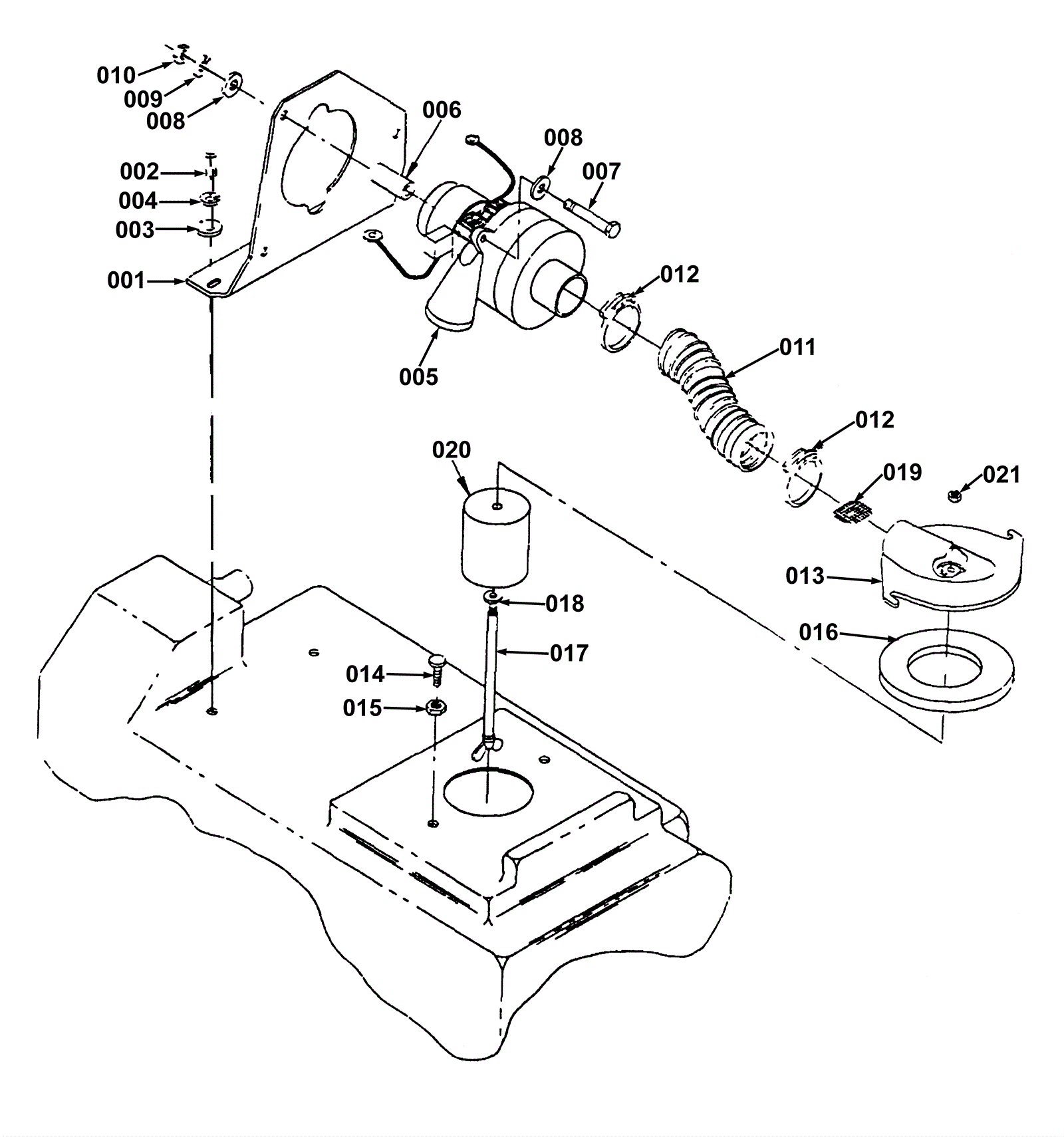
001 |
N/A
|
Not available |
Call for price
|
1 |
Vacuum fan bracket |
usually ships 3-26 days |
002 |
175-5113
|
Bolt M6 x 12mm hex head |
$3.30
|
2 |
|
usually ships 1-5 days |
003 |
N/A
|
Not available |
Call for price
|
2 |
(not available) Washer |
usually ships 3-26 days |
004 |
999-0632
|
Washer 1/4 split lock stainless steel |
$0.99
|
2 |
|
ships same day |
005a |
991-1237
|
36V 3 stage vacuum motor bypass dual ball tangential |
$361.06
|
1 |
|
ships same day |
005b |
175-5182
|
Carbon brush (sold individually) |
$32.78
|
2 |
|
usually ships 10-13 days |
006 |
175-5183
|
Spacer nylon (OBSOLETE) |
$0.99
|
3 |
|
usually ships 1-5 days |
007 |
999-1116
|
Bolt M6-1 x 50mm hex head stainless steel |
$0.99
|
3 |
|
ships same day |
008 |
N/A
|
Not available |
Call for price
|
6 |
(not available) Washer |
usually ships 3-26 days |
009 |
N/A
|
Not available |
Call for price
|
3 |
Washer M6 |
usually ships 3-26 days |
010 |
999-0439
|
Nut M6-1 hex coarse thread |
$0.99
|
3 |
|
ships same day |
011 |
N/A
|
Not available |
Call for price
|
1 |
PVC hose |
usually ships 3-26 days |
012 |
997-2003
|
Hose clamp |
$2.66
|
2 |
|
ships same day |
013 |
N/A
|
Not available |
Call for price
|
1 |
Float hose adapter |
usually ships 3-26 days |
014 |
175-5187
|
Stud 8mm X 25mm weldment |
$2.24
|
2 |
|
usually ships 1-5 days |
015 |
999-0496
|
Nut M8-1.25 nylon insert lock stainless steel |
$1.98
|
2 |
|
ships same day |
016 |
175-2007
|
Recovery tank (teal) |
$687.50
|
1 |
|
usually ships 1-5 days |
017a |
175-5188
|
Float guide rod |
$43.89
|
1 |
|
usually ships 10-13 days |
018 |
175-5012
|
Flat plastic washer |
$3.56
|
1 |
|
usually ships 1-5 days |
020 |
175-5190
|
Float |
$29.70
|
1 |
|
usually ships 10-13 days |
021 |
999-0497
|
Nut M6-1 nylon insert lock stainless steel |
$0.99
|
1 |
|
ships same day |
N/S |
175-5182
|
Carbon brush (sold individually) |
$32.78
|
1 |
|
usually ships 10-13 days |