# | Part | Description | Price | Req | Notes | Availability |
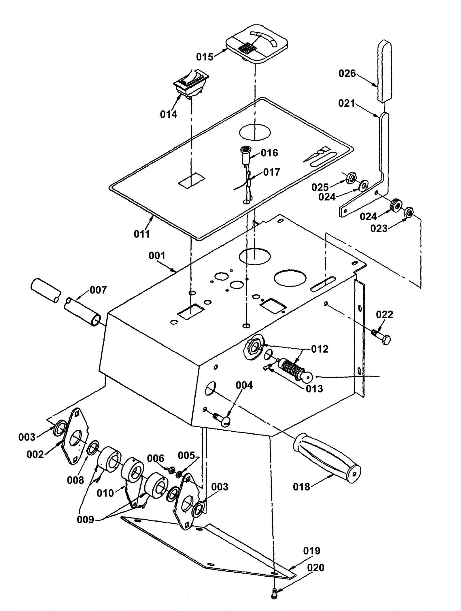
001 |
175-0378
|
Console frame (OBSOLETE) |
$114.51
|
1 |
|
usually ships 1-5 days |
002 |
175-0379
|
Bearing block (OBSOLETE) |
$16.61
|
2 |
|
usually ships 1-5 days |
003 |
175-0380
|
Bushing (OBSOLETE) |
$6.16
|
2 |
|
usually ships 1-5 days |
004 |
999-1146
|
Screw 5/16-18 x 3/4 truss head phillips stainless steel |
$1.41
|
4 |
|
ships same day |
005 |
175-0382
|
Washer lock spring (OBSOLETE) |
$0.99
|
4 |
|
usually ships 1-5 days |
007 |
175-0384
|
Handlebar |
$50.05
|
1 |
|
usually ships 1-5 days |
008 |
175-0385
|
Nylon washer |
$5.50
|
2 |
|
usually ships 10-13 days |
009 |
175-0386
|
Shaft collar (OBSOLETE) |
Call for price
|
2 |
|
usually ships 1-5 days |
010 |
175-0387
|
Handlebar actuator clamp arm (OBSOLETE) |
$33.11
|
1 |
|
usually ships 1-5 days |
011 |
175-0388
|
Console decal (OBSOLETE) |
$19.03
|
1 |
|
usually ships 1-5 days |
012 |
175-0389
|
Keylock switch |
$105.93
|
1 |
|
usually ships 1-5 days |
013 |
999-0147
|
Screw 6-32 x 3/8 round head slotted zinc plated |
$0.99
|
1 |
|
ships same day |
014 |
175-0391
|
Rocker switch (OBSOLETE) |
$17.71
|
1 |
|
usually ships 1-5 days |
015 |
175-0392
|
19amp ammeter (OBSOLETE) |
$47.52
|
1 |
|
usually ships 1-5 days |
016 |
175-0393
|
Pilot light (green) |
$12.98
|
1 |
|
usually ships 1-5 days |
017 |
175-0394
|
Resistor assembly |
$15.73
|
1 |
|
usually ships 1-5 days |
018a |
164-0304
|
Handle grip |
$71.48
|
2 |
|
usually ships 1-5 days |
018b |
991-8571
|
Handle grip |
$4.04
|
2 |
|
usually ships 18-24 days |
019 |
175-0366
|
Lead assembly (OBSOLETE) |
$26.73
|
1 |
|
usually ships 1-5 days |
020 |
999-1029
|
Screw 10-24 x 5/8 truss head phillips stainless steel |
$0.99
|
4 |
|
ships same day |
021 |
175-0396
|
Water valve handle (OBSOLETE) |
$5.83
|
1 |
|
usually ships 1-5 days |
022 |
999-0248
|
Bolt M8-1.25 x 30mm hex head full thread plain finish |
$0.99
|
1 |
|
ships same day |
023 |
999-0496
|
Nut M8-1.25 nylon insert lock stainless steel |
$1.34
|
1 |
|
ships same day |
024 |
175-0399
|
Washer 8mm plain (OBSOLETE) |
$0.99
|
3 |
|
usually ships 1-5 days |
025 |
999-0471
|
Nut M8-1.25 nylon insert lock zinc plated |
$0.99
|
1 |
|
ships same day |
026 |
175-0401
|
Handle closure |
$7.26
|
1 |
|
usually ships 1-5 days |
N/S |
175-0402
|
Volt meter kit (OBSOLETE) |
$91.96
|
|
|
usually ships 1-5 days |
N/S |
175-0403
|
Side skirt |
$37.84
|
|
|
usually ships 1-5 days |