T3 ORBITAL
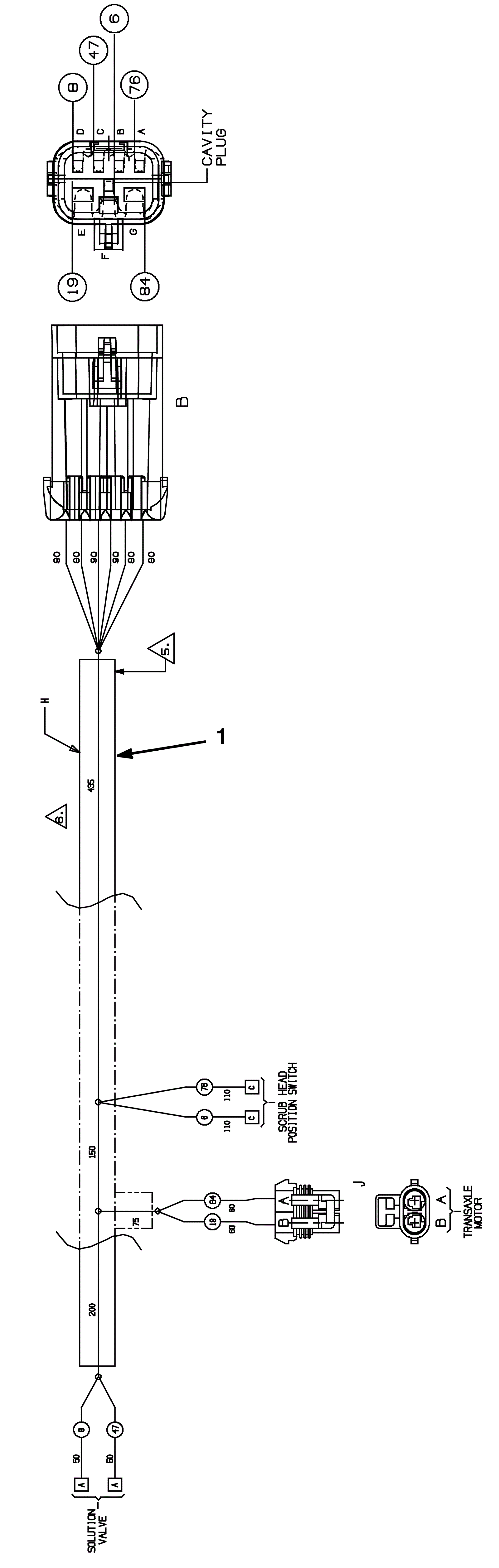
Wire Harness - Chassis -Drive Model
Click to enlarge
#
Part
Description
Price
Req
Notes
Availability
1
175-7906
Chassis wiring harness
$115.72
1
usually ships 10-13 days