| # | Part | Description | Price | Req | Notes | Availability |
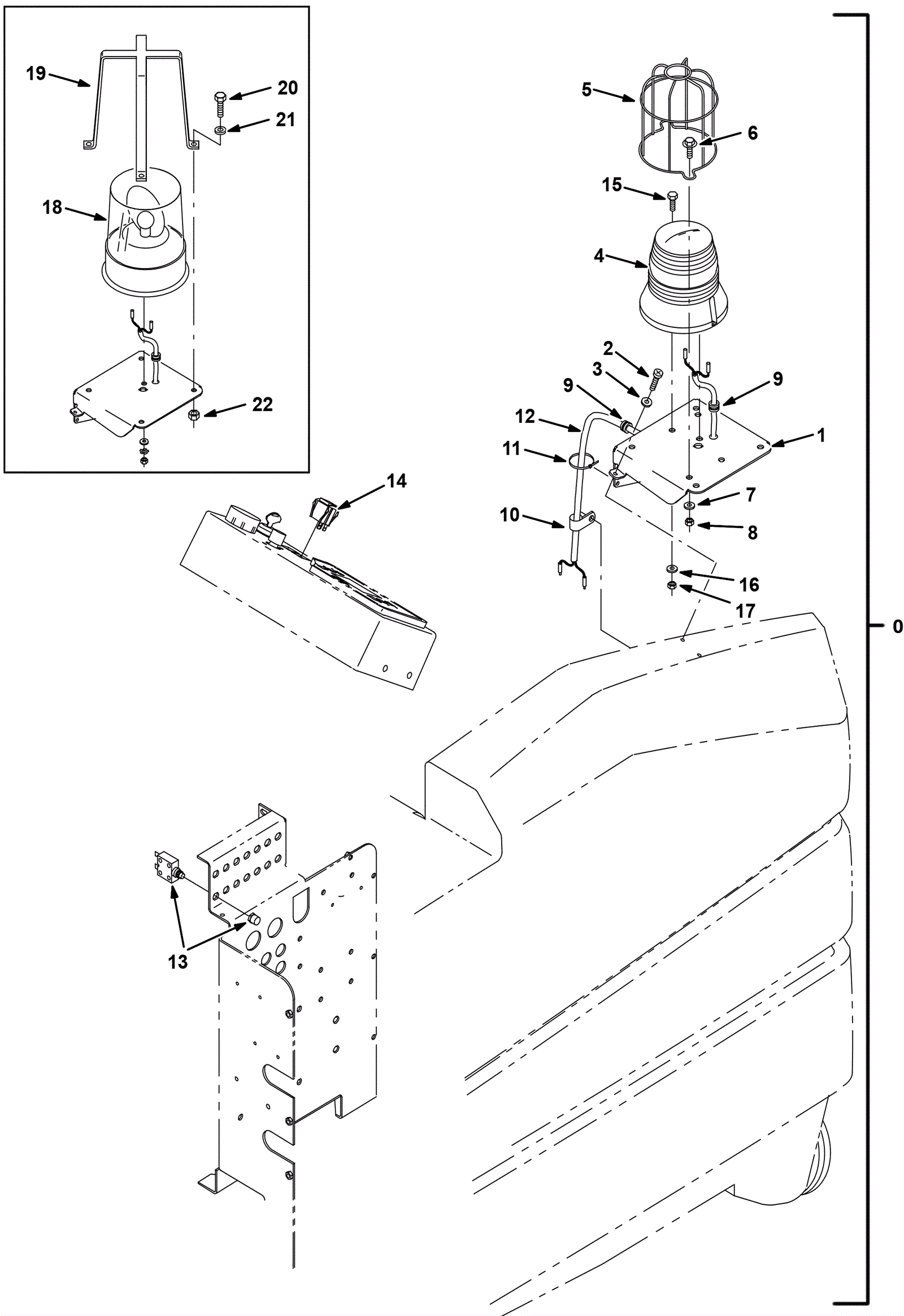
0a |
275-2471
|
Light kit without overhead guard (Tennant Industrial) |
$1,016.54
|
1 |
(includes 1a, 2-17) (after SN 004999) |
usually ships 10-13 days |
0b |
275-8561
|
LIGHT KIT, REVL, W/O OHG, CI [7300/8300] (Tennant Industria |
$1,019.54
|
1 |
(includes 1b, 2-3, 9-14, 18a-18c, 19b, 20-22) (before SN 005000) |
usually ships 1-5 days |
1a |
275-2470
|
Bracket (iron gray) (Tennant Industrial) |
$151.86
|
1 |
(after SN 004999) |
usually ships 1-5 days |
1b |
275-8562
|
BRACKET, MTG (Tennant Industrial) |
$473.76
|
1 |
(before SN 005000) |
usually ships 1-5 days |
2 |
999-1352
|
Screw 10-14 x 3/4 phillips pan head plastic thread rolling |
$5.06
|
5 |
|
ships same day |
3 |
999-0006
|
Washer 3/16 flat zinc plated |
$0.99
|
4 |
|
ships same day |
4a |
375-4398
|
LED strobe light (Tennant Industrial) |
$318.23
|
1 |
(includes 4b-4c) (after SN 005724) |
usually ships 10-13 days |
4b |
275-4675
|
Lens |
$37.29
|
1 |
(after SN 005724) |
usually ships 1-5 days |
4c |
275-4678
|
Bulb |
$48.29
|
1 |
(after SN 005724) |
usually ships 10-13 days |
5 |
275-7188
|
Light guard |
$82.72
|
1 |
(after SN 005724) |
usually ships 1-5 days |
6 |
175-3382
|
Bolt M5-.8 x 25mm hex head stainless steel |
$4.49
|
2 |
(after SN 005724) |
usually ships 10-13 days |
7 |
999-0998
|
Washer #10 flat stainless steel |
$0.99
|
2 |
(after SN 005724) |
ships same day |
8 |
999-0740
|
Nut M5-.8 hex stainless steel |
$0.99
|
2 |
(after SN 005724) |
ships same day |
9 |
175-4401
|
GROMMET, RBR, 0.38ID, F/0.5H, .12 MATL (Tennant Industrial) |
$5.50
|
2 |
|
usually ships 1-5 days |
10 |
175-5421
|
P clamp |
$5.28
|
1 |
|
usually ships 10-13 days |
11 |
175-2162
|
Nylon wire tie |
$3.30
|
1 |
|
usually ships 10-13 days |
12 |
275-8563
|
HARNESS, LIGHT, REVL, SHRD (Tennant Industrial) |
$81.85
|
1 |
|
usually ships 1-5 days |
13 |
175-0842
|
15amp circuit breaker |
$16.61
|
1 |
|
ships same day |
14 |
175-0569
|
Rocker switch |
$54.12
|
1 |
|
usually ships 1-5 days |
15 |
175-0837
|
Bolt M5-.8 x 16mm hex head |
$3.30
|
2 |
(after SN 005724) |
usually ships 1-5 days |
16 |
999-0006
|
Washer 3/16 flat zinc plated |
$0.99
|
2 |
(after SN 005724) |
ships same day |
17 |
175-2894
|
Nut M5-.8 hex nylon locking |
$3.30
|
2 |
(after SN 005724) |
usually ships 10-13 days |
18a |
275-4242
|
LIGHT, REVL, 36VDC, AMB, RWK 44684 (Tennant Industrial) |
$388.58
|
1 |
(includes 18b-18c) |
usually ships 1-5 days |
18b |
175-5418
|
Revolving light amber lens |
$47.63
|
1 |
|
usually ships 1-5 days |
18c |
175-5417
|
Lamp |
$30.58
|
1 |
|
usually ships 1-5 days |
19a |
275-2469
|
Light guard weldment (Tennant Industrial) |
$87.35
|
1 |
(between SN 005000 and SN 005724) |
usually ships 1-5 days |
19b |
175-5420
|
Revolving/flashing light guard weldment |
$167.97
|
1 |
(before SN 005000) |
usually ships 1-5 days |
20 |
999-0581
|
Bolt M8-1.25 x 25mm hex head full thread zinc |
$0.99
|
4 |
|
ships same day |
21 |
999-0549
|
Washer 5/16 x 3/4 SAE flat stainless steel |
$0.99
|
4 |
|
ships same day |
22 |
999-0665
|
Nut M8-1.25 flange lock |
$0.99
|
4 |
|
ships same day |
N/S |
275-7186
|
Lens (red) (Tennant Industrial) |
$64.68
|
1 |
(after SN 005724) |
usually ships 1-5 days |
N/S |
275-7187
|
Lens (blue) (Tennant Industrial) |
$78.18
|
1 |
(after SN 005724) |
usually ships 1-5 days |
N/S |
175-5422
|
Revolving light red lens |
$62.59
|
1 |
(before SN 005725) |
usually ships 1-5 days |
N/S |
175-5423
|
Revolving light blue lens |
$80.19
|
1 |
(before SN 005725) |
usually ships 1-5 days |