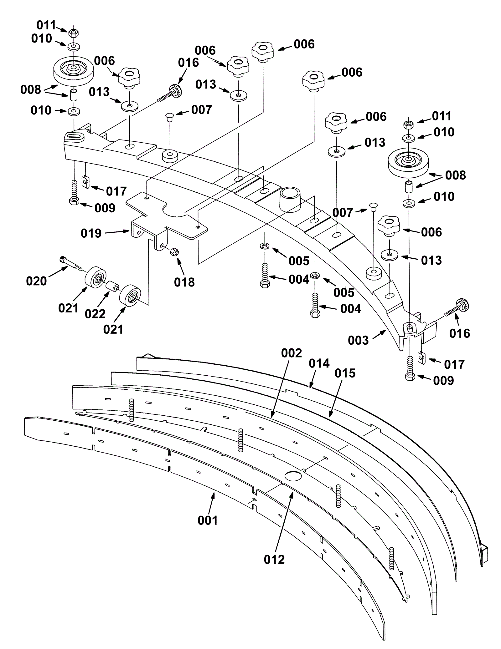
Curved Squeegee Group
Click to enlarge