| # | Part | Description | Price | Req | Notes | Availability |
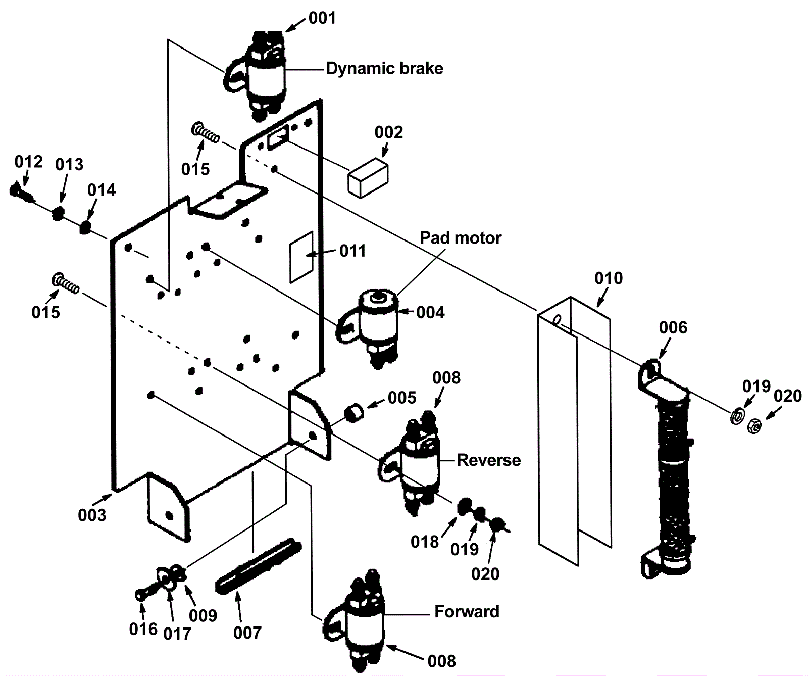
001 |
175-5020
|
100amp contactor (OBSOLETE) |
$131.66
|
1 |
|
usually ships 1-5 days |
002 |
175-1360
|
Hour meter kit (OBSOLETE) |
$144.76
|
1 |
(optional) |
usually ships 1-5 days |
003 |
N/A
|
Not available |
Call for price
|
1 |
(Electrical panel) |
usually ships 3-26 days |
004 |
N/A
|
Not available |
Call for price
|
1 |
(Contactor) |
usually ships 3-26 days |
005 |
175-1362
|
Nylon spacer |
$4.36
|
2 |
|
usually ships 10-13 days |
006 |
175-5013
|
Resistor (OBSOLETE) |
$75.24
|
1 |
(BR-2500) |
usually ships 1-5 days |
007 |
175-8621
|
Plastic edging |
$12.10
|
1 |
|
usually ships 1-5 days |
008 |
175-5020
|
100amp contactor (OBSOLETE) |
$131.66
|
2 |
(BR-2500) |
usually ships 1-5 days |
009 |
999-1530
|
Washer 3/8 flat nylon |
$0.99
|
2 |
|
ships same day |
010 |
175-1365
|
Heat shield |
$32.45
|
1 |
(BR-2500) |
usually ships 1-5 days |
011 |
175-1366
|
Caution hot decal (OBSOLETE) |
$10.45
|
1 |
(BR-2500) |
usually ships 1-5 days |
012 |
175-5113
|
Bolt M6 x 12mm hex head |
$3.30
|
2 |
|
usually ships 1-5 days |
013 |
999-0364
|
Washer #6 internal star lock zinc plated |
$0.99
|
2 |
|
ships same day |
014 |
999-1261
|
Washer M6 flat stainless steel |
$0.99
|
2 |
|
ships same day |
015a |
999-0798
|
Bolt 1/4-20 x 1/2 flange grade 8.2 zinc plated |
$0.99
|
4 |
(BR-2250) |
ships same day |
015b |
999-0798
|
Bolt 1/4-20 x 1/2 flange grade 8.2 zinc plated |
$0.99
|
10 |
(BR-2500) |
ships same day |
016 |
999-1312
|
Screw M6-1 x 20mm hex head stainless steel |
$0.99
|
2 |
|
ships same day |
017 |
999-1261
|
Washer M6 flat stainless steel |
$0.99
|
2 |
|
ships same day |
018a |
999-0024
|
Washer 5/16 flat stainless steel |
$1.34
|
4 |
(BR-2250) |
ships same day |
018b |
999-0024
|
Washer 5/16 flat stainless steel |
$1.34
|
8 |
(BR-2500) |
ships same day |
019a |
999-0632
|
Washer 1/4 split lock stainless steel |
$0.99
|
4 |
(BR-2250) |
ships same day |
019b |
999-0632
|
Washer 1/4 split lock stainless steel |
$0.99
|
10 |
(BR-2500) |
ships same day |
020a |
999-0609
|
Nut 1/4-20 hex stainless steel |
$0.99
|
4 |
(BR-2250) |
ships same day |
020b |
999-0609
|
Nut 1/4-20 hex stainless steel |
$0.99
|
10 |
(BR-2500) |
ships same day |