| # | Part | Description | Price | Req | Notes | Availability |
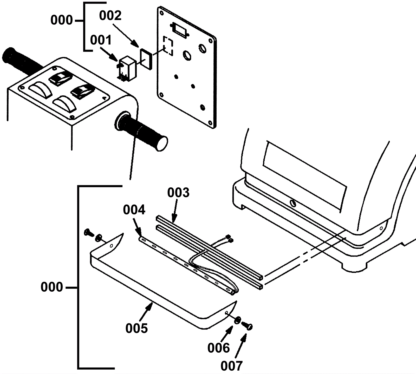
000 |
175-1195
|
Flashing lights assembly (OBSOLETE) |
$197.01
|
1 |
(includes 1-7) |
usually ships 1-5 days |
001 |
175-1205
|
36V flasher |
$214.83
|
1 |
|
usually ships 1-5 days |
002 |
175-0287
|
Acrylic foam tape 1 inch x 1 foot |
$16.50
|
1 |
|
usually ships 10-13 days |
003 |
175-1209
|
Gasket |
$13.09
|
1 |
|
usually ships 10-13 days |
004 |
175-1210
|
Safety light (OBSOLETE) |
$42.35
|
1 |
|
usually ships 1-5 days |
005 |
175-2993
|
Light shield |
$78.54
|
1 |
|
usually ships 1-5 days |
006 |
999-1115
|
Washer M4 flat zinc plated |
$0.99
|
2 |
|
ships same day |
007 |
999-0530
|
Screw M4-.7 x 8mm pan head slotted zinc |
$0.99
|
2 |
|
usually ships 16-20 days |