| # | Part | Description | Price | Req | Notes | Availability |
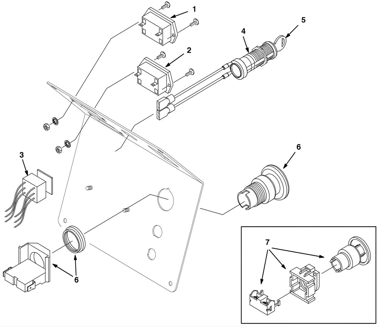
1a |
275-0754
|
Hour meter kit |
$219.34
|
1 |
(includes 1b) |
usually ships 10-13 days |
1b |
175-1213
|
Hour meter |
$139.48
|
1 |
|
usually ships 1-5 days |
2a |
275-0755
|
Voltage shut-off kit |
$594.88
|
1 |
(includes 2b-3e) |
usually ships 1-5 days |
2b |
175-5721
|
36V battery gauge |
$264.00
|
1 |
|
usually ships 1-5 days |
3a |
275-5236
|
Relay assembly |
$174.13
|
1 |
|
usually ships 10-13 days |
3b |
175-3730
|
9 inch wire assembly (green) |
$3.43
|
1 |
|
usually ships 1-5 days |
3c |
175-1216
|
8 inch wire assembly with terminal ring (black) |
$5.50
|
1 |
|
usually ships 1-5 days |
3d |
175-1214
|
12 inch wire assembly (red) |
$5.50
|
1 |
|
usually ships 1-5 days |
3e |
175-0037
|
Wire tie |
$4.36
|
1 |
|
usually ships 10-13 days |
4a |
275-6404
|
Keyswitch kit |
$133.43
|
1 |
(includes 4b-5) |
usually ships 10-13 days |
4b |
175-3727
|
Key switch (OBSOLETE) |
$198.55
|
1 |
|
usually ships 10-13 days |
5 |
175-0185
|
Double sided key (steel) |
$16.94
|
1 |
|
ships same day |
6a |
275-1416
|
Safety shut-off switch |
$43.67
|
1 |
(includes 6b-6c) |
ships same day |
6b |
175-1220
|
5 inch wire assembly (red) |
$6.27
|
1 |
|
usually ships 10-13 days |
6c |
175-1221
|
5 inch wire assembly (red) |
$7.37
|
1 |
|
usually ships 1-5 days |
7 |
N/A
|
Not available |
Call for price
|
1 |
(emergency stop kit) (replaced by 6a) |
usually ships 3-26 days |