| # | Part | Description | Price | Req | Notes | Availability |
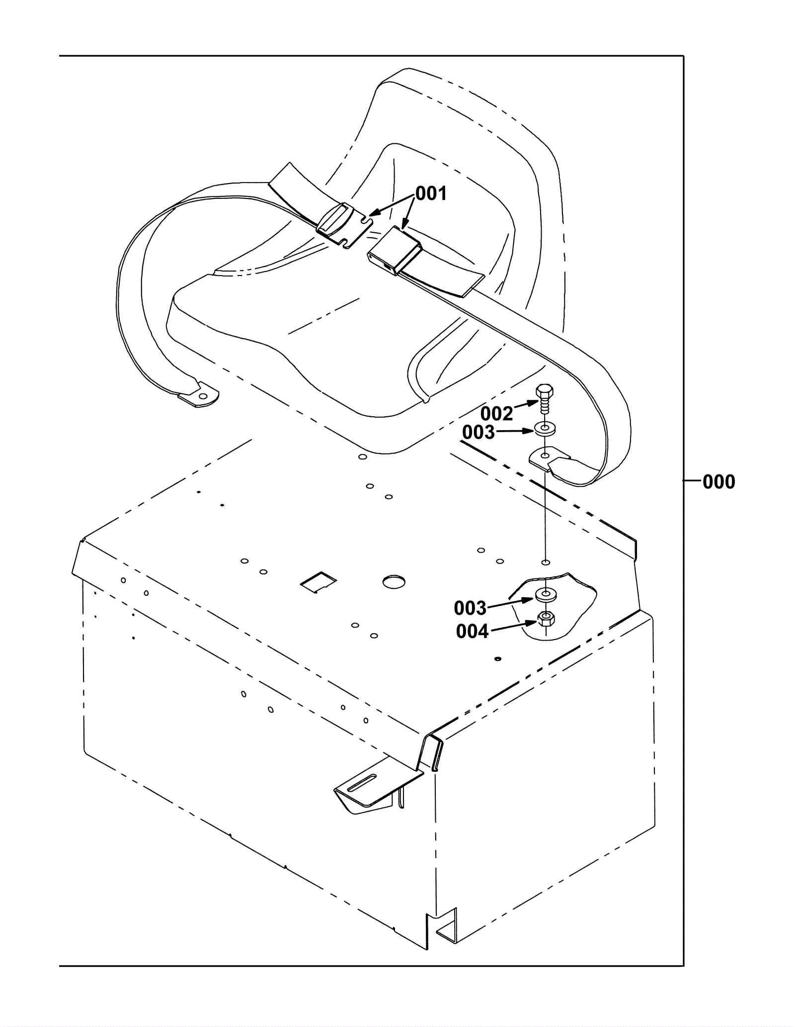
000 |
275-0166
|
CI seat belt kit |
$138.38
|
1 |
includes 001-004 |
usually ships 10-13 days |
001 |
275-0167
|
Seat belt |
$153.56
|
1 |
|
usually ships 10-13 days |
002 |
175-0615
|
Bolt M12-1.75 x 25mm hex head |
$5.28
|
2 |
|
usually ships 10-13 days |
003 |
999-0114
|
Washer 1/2 SAE flat |
$0.99
|
4 |
|
ships same day |
004 |
999-0519
|
Nut M12-1.75 nylon insert lock stainless steel |
$3.85
|
2 |
|
ships same day |