| # | Part | Description | Price | Req | Notes | Availability |
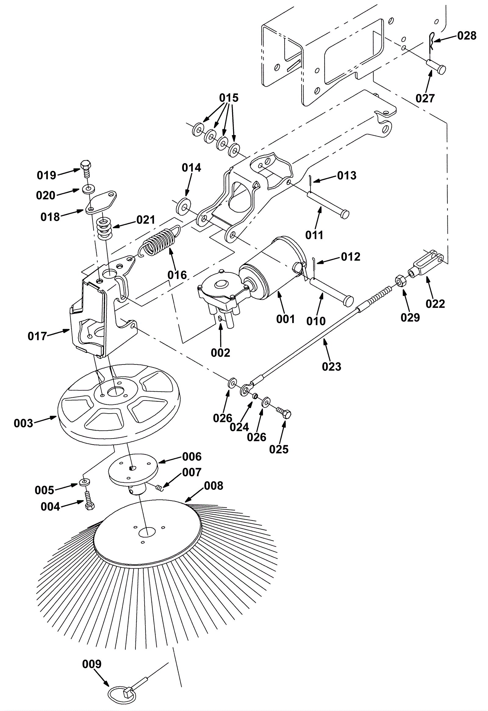
001 |
275-0147
|
Right side electric motor 36VDC 67rpm (OBSOLETE) |
$723.80
|
1 |
|
usually ships 10-13 days |
002 |
275-0148
|
Woodruff key 3mm 3.7mm |
$14.85
|
1 |
|
usually ships 1-5 days |
003 |
275-0149
|
Brush bumper guard |
$15.84
|
1 |
|
usually ships 1-5 days |
004 |
999-0518
|
Bolt M6-1 x 25mm hex head full thread zinc |
$0.99
|
3 |
|
ships same day |
005 |
999-0123
|
Washer 1/4 SAE flat zinc plated |
$0.99
|
3 |
|
ships same day |
006 |
275-0150
|
Side broom hub |
$262.13
|
1 |
|
usually ships 1-5 days |
007 |
999-1413
|
Screw M6-1 x 8mm socket cup point set |
$0.99
|
1 |
|
ships same day |
008 |
275-0151
|
Polypropylene sweeper disk brush assembly 17 1/2d |
$172.48
|
1 |
|
usually ships 1-5 days |
009 |
275-0152
|
PIN, RETAINER (Tennant Industrial) |
$26.17
|
1 |
|
usually ships 1-5 days |
010 |
175-3280
|
Clevis pin |
$6.49
|
1 |
|
usually ships 10-13 days |
011 |
275-0153
|
PIN, CLEVIS, 0.37D X 3.50L (Tennant Industrial) |
$5.00
|
1 |
|
usually ships 1-5 days |
012 |
175-3281
|
Cotter pin |
$3.30
|
1 |
|
usually ships 10-13 days |
013 |
175-2588
|
Cotter pin |
$3.30
|
1 |
|
usually ships 10-13 days |
014 |
999-0114
|
Washer 1/2 SAE flat |
$0.99
|
1 |
|
ships same day |
015 |
999-0024
|
Washer 5/16 flat stainless steel |
$1.34
|
4 |
|
ships same day |
016 |
275-0154
|
SPRING, EXTN, 1.10OD 0.15WIR 03.2L (Tennant Industrial) |
$35.67
|
1 |
|
usually ships 1-5 days |
017 |
275-0155
|
BRACKET WLDT, MTG, MOTOR (Tennant Industrial) (OBSOLETE) |
$57.40
|
1 |
|
usually ships 1-5 days |
018 |
275-0156
|
Side brush plate |
$10.89
|
1 |
|
usually ships 1-5 days |
019 |
999-1133
|
Bolt M8-1.25 x 20mm hex head full thread plain |
$0.99
|
2 |
|
ships same day |
020 |
999-0123
|
Washer 1/4 SAE flat zinc plated |
$0.99
|
2 |
|
ships same day |
021 |
275-0157
|
SPRING, DSL, 1.00OD 0.50ID 1.25L (Tennant Industrial) |
$45.34
|
1 |
|
usually ships 10-13 days |
022 |
275-0158
|
CLEVIS, ADJ, 0.38PIN, M10X1.5 (Tennant Industrial) |
$22.50
|
1 |
|
usually ships 10-13 days |
023 |
275-0159
|
CABLE, GLV .13D 014.9L .41EYE / M10 (Tennant Industrial) |
$116.69
|
1 |
|
usually ships 10-13 days |
024 |
175-0777
|
P/M sleeve |
$5.50
|
1 |
|
usually ships 10-13 days |
025 |
175-4963
|
Bolt M6-1 x 20mm hex head |
$5.50
|
1 |
|
usually ships 1-5 days |
026 |
999-0016
|
Washer 1/4 flat plain finish |
$0.99
|
2 |
|
ships same day |
027 |
275-0160
|
Clevis pin .37d 1 1/4l |
$6.27
|
1 |
|
ships same day |
028 |
175-2113
|
Cotter pin |
$3.30
|
1 |
|
ships same day |
029 |
999-0767
|
Nut M10-1.5 hex coarse thread |
$0.99
|
1 |
|
ships same day |