| # | Part | Description | Price | Req | Notes | Availability |
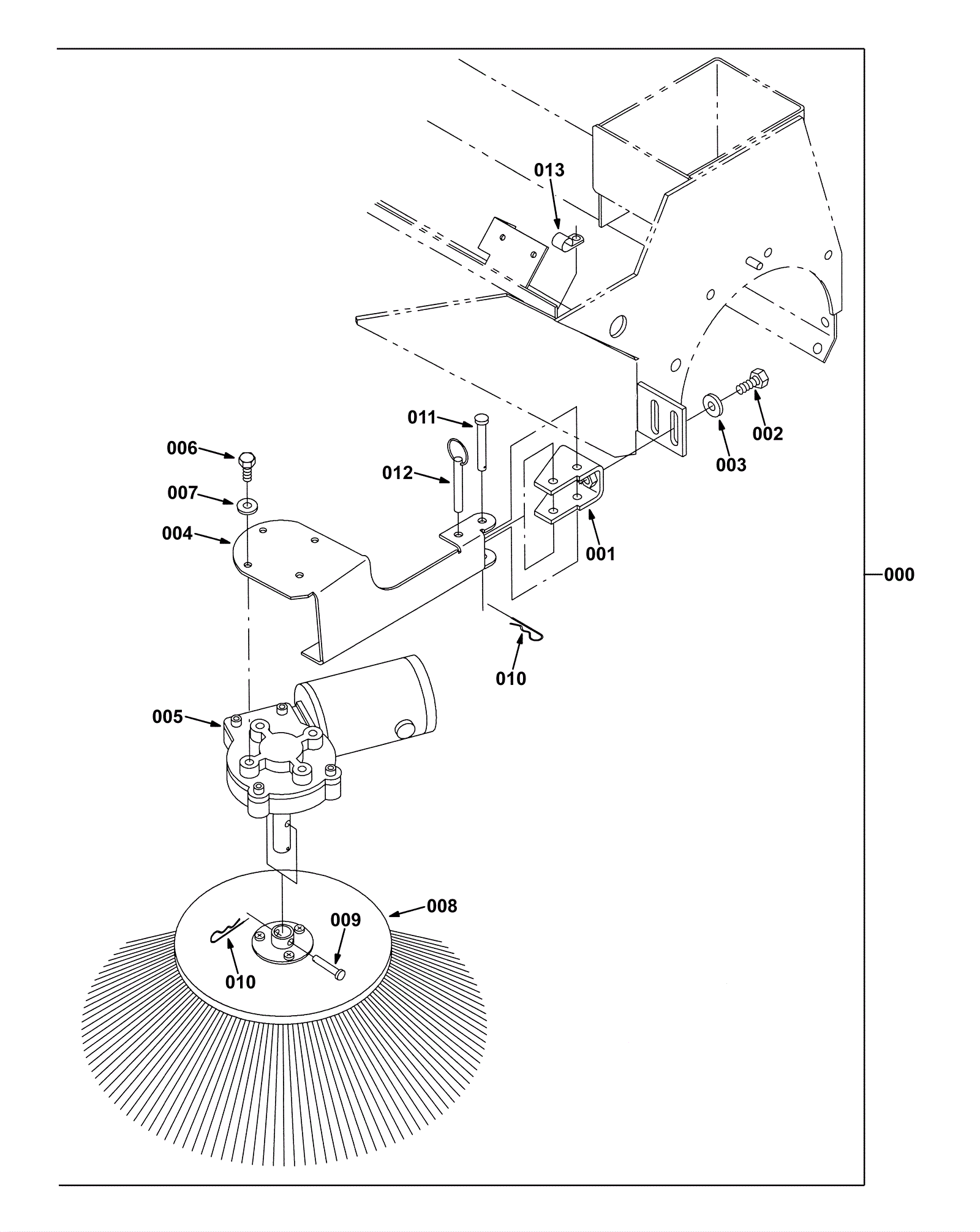
000 |
275-0127
|
Left CI side brush kit |
$1,195.70
|
1 |
includes 001-013 |
usually ships 1-5 days |
001 |
275-0106
|
Channel .18 1.5w 2.6 1.9l |
$52.25
|
1 |
|
usually ships 1-5 days |
002 |
999-0499
|
Bolt M8-1.25 x 20mm hex head full thread stainless steel |
$1.85
|
2 |
|
ships same day |
003 |
999-0105
|
Washer 5/16 external star lock zinc plated |
$0.99
|
2 |
|
ships same day |
004 |
275-0128
|
Left side brush arm |
$51.15
|
1 |
|
usually ships 1-5 days |
005a |
275-0129
|
Overhead guard kit (Tennant Industrial) |
$1,938.70
|
1 |
includes 005b-005e |
usually ships 1-5 days |
005b |
275-0109
|
Carbon brush assembly |
$27.50
|
1 |
|
usually ships 10-13 days |
005c |
175-9270
|
Brush cap |
$5.28
|
2 |
|
usually ships 10-13 days |
005d |
175-9271
|
Brush holder |
$23.98
|
2 |
|
usually ships 10-13 days |
005e |
175-9272
|
Clip |
$6.27
|
2 |
|
usually ships 10-13 days |
006 |
999-0507
|
Bolt M6-1 x 16mm hex head full thread plain finish |
$0.99
|
4 |
|
ships same day |
007 |
999-0016
|
Washer 1/4 flat plain finish |
$0.99
|
4 |
|
ships same day |
008 |
175-0853
|
Side brush |
$157.74
|
1 |
|
usually ships 10-13 days |
009 |
175-9172
|
PIN, CLEVIS, 0.25D X 1.25L (Tennant Industrial) |
$5.67
|
1 |
|
usually ships 1-5 days |
010 |
175-7107
|
Cotter hair pin |
$3.30
|
2 |
|
usually ships 10-13 days |
011 |
275-0110
|
Clevis pin 5/16d x 2 1/8l |
$15.18
|
1 |
|
usually ships 10-13 days |
012 |
275-0111
|
Detention pin .31d x 2.1l |
$17.38
|
1 |
|
usually ships 1-5 days |
013 |
175-3170
|
P clamp |
$4.22
|
1 |
|
ships same day |