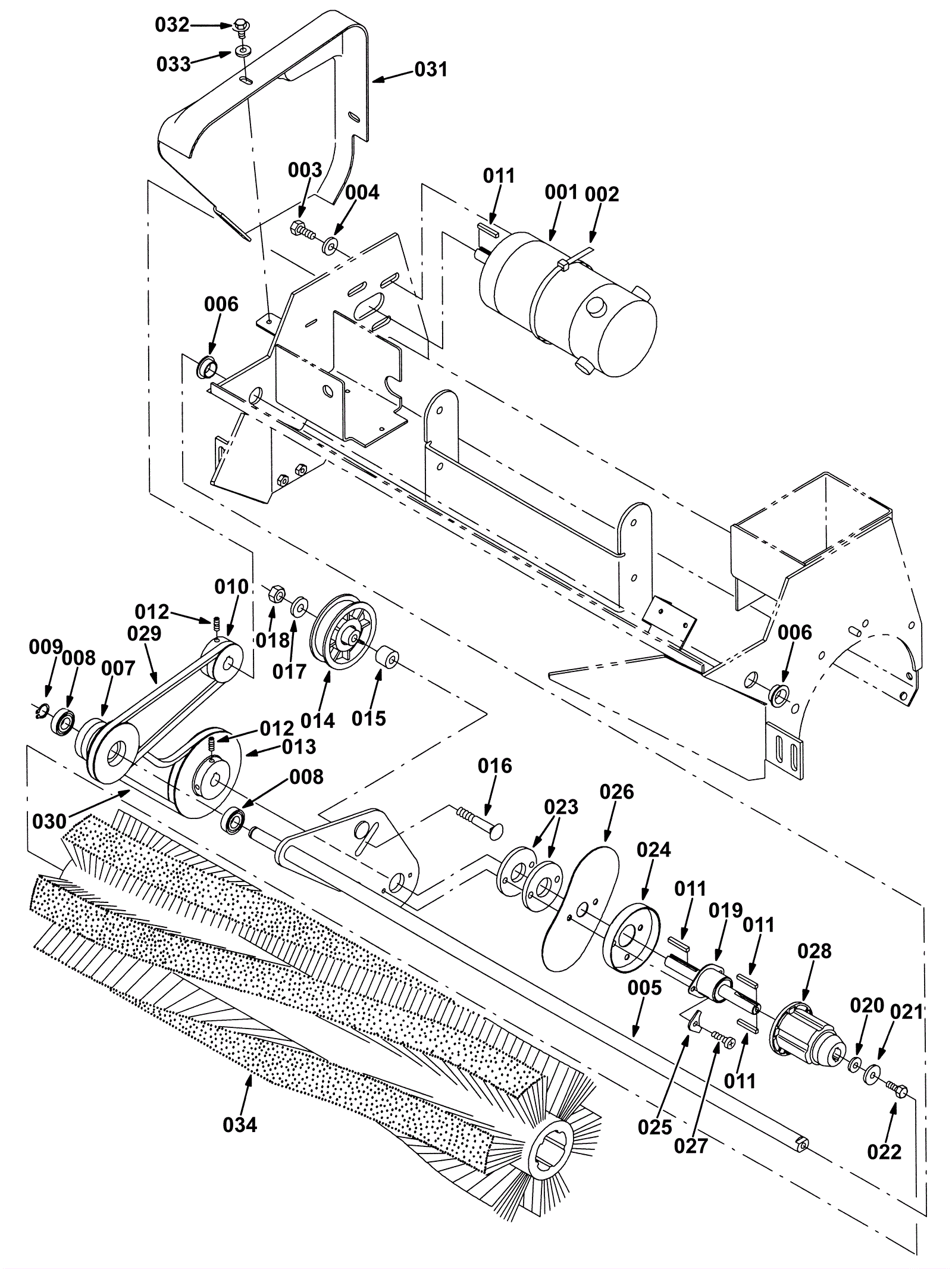
| # | Part | Description | Price | Req | Notes | Availability |
001 |
275-0079
|
36V .6hp electric motor |
$925.21
|
1 |
|
usually ships 10-13 days |
002 |
275-0080
|
TIE, CABLE, NYL, 15.3L . W 4.5 MAX D (Tennant Industrial) |
$5.67
|
1 |
|
usually ships 1-5 days |
003 |
999-1133
|
Bolt M8-1.25 x 20mm hex head full thread plain |
$0.99
|
4 |
|
ships same day |
004 |
999-0105
|
Washer 5/16 external star lock zinc plated |
$0.99
|
4 |
|
ships same day |
005 |
275-0081
|
Main drive brush arm weldment |
$238.04
|
1 |
|
usually ships 1-5 days |
006 |
275-0082
|
Flange bushing .5b .59d .38l |
$11.00
|
2 |
|
usually ships 1-5 days |
007 |
275-0083
|
2 groove sheave 1.9/3pd 1.3b |
$142.56
|
1 |
|
usually ships 10-13 days |
008 |
175-2471
|
Ball bearing |
$20.68
|
2 |
|
ships same day |
009 |
175-2472
|
Retaining ring |
$3.30
|
1 |
|
usually ships 10-13 days |
010 |
275-0084
|
1 groove sheave 1.9pd .62b |
$83.82
|
1 |
|
usually ships 1-5 days |
011 |
275-0085
|
Square key .19 x .19 1.25l |
$4.36
|
4 |
|
usually ships 10-13 days |
012 |
275-0086
|
Screw M6-1 x 16 set socket head |
$5.50
|
4 |
|
usually ships 1-5 days |
013 |
275-0087
|
1 groove sheave 4.5pd .62b |
$180.18
|
1 |
|
usually ships 1-5 days |
014 |
275-0088
|
PULLEY, IDLER W/ BEARING, PLSTC (Tennant Industrial) |
$92.02
|
1 |
|
usually ships 10-13 days |
015 |
275-0089
|
Steel plated round tube .88d .38b .7l |
$27.83
|
1 |
|
usually ships 1-5 days |
016 |
275-0090
|
BOLT, CARRIAGE, .38-16 X 2.50, 5 (Tennant Industrial) |
$4.17
|
1 |
|
usually ships 1-5 days |
017 |
999-0355
|
Washer 3/8 x 7/8 SAE flat stainless steel |
$0.99
|
1 |
|
ships same day |
018 |
999-0513
|
Nut 3/8-16 nylon insert lock type NE stainless steel |
$3.96
|
1 |
|
ships same day |
019 |
275-0091
|
BEARING ASSY, W/ SHAFT (Tennant Industrial) |
$543.08
|
1 |
|
usually ships 10-13 days |
020 |
275-0092
|
Washer 1/4 flat belleville |
$4.36
|
1 |
|
usually ships 10-13 days |
021 |
275-0093
|
WASHER, FLAT, 0.28B 1.00D .06, STL (Tennant Industrial) |
$5.00
|
1 |
|
usually ships 10-13 days |
022 |
999-1383
|
Screw M6-1 x 16mm hex head stainless steel |
$3.96
|
1 |
|
ships same day |
023 |
275-0094
|
Brush arm spacer |
$13.31
|
2 |
|
usually ships 10-13 days |
024 |
275-0095
|
SHIELD, PLUG, DRIVE (Tennant Industrial) |
$108.36
|
1 |
|
usually ships 10-13 days |
025 |
275-0096
|
PLATE, HOLD-DOWN (Tennant Industrial) |
$13.84
|
2 |
|
usually ships 1-5 days |
026 |
275-0097
|
Dust seal plate |
$21.67
|
1 |
|
usually ships 1-5 days |
027 |
175-3219
|
SCREW, PAN, PHL, M6 X 1.00 X 25, 4.8 (Tennant Industrial) |
$5.50
|
2 |
|
usually ships 1-5 days |
028 |
275-0098
|
PLUG, DRIVE, BRUSH, NYL (Tennant Industrial) |
$32.51
|
1 |
|
usually ships 10-13 days |
029 |
275-0099
|
V belt 24l |
$18.70
|
1 |
|
usually ships 1-5 days |
030 |
275-0100
|
V belt 29.3l |
$21.78
|
1 |
|
usually ships 1-5 days |
031 |
275-0101
|
Belt guard |
$178.64
|
1 |
|
usually ships 1-5 days |
032 |
999-1319
|
Screw M6-1 x 12mm hex head plain finish |
$0.99
|
2 |
|
ships same day |
033 |
999-0335
|
Washer 1/4 x 5/8 SAE flat stainless steel |
$0.99
|
2 |
|
ships same day |
034 |
275-0102
|
Polypropylene sweeper brush |
$501.05
|
1 |
|
usually ships 1-5 days |