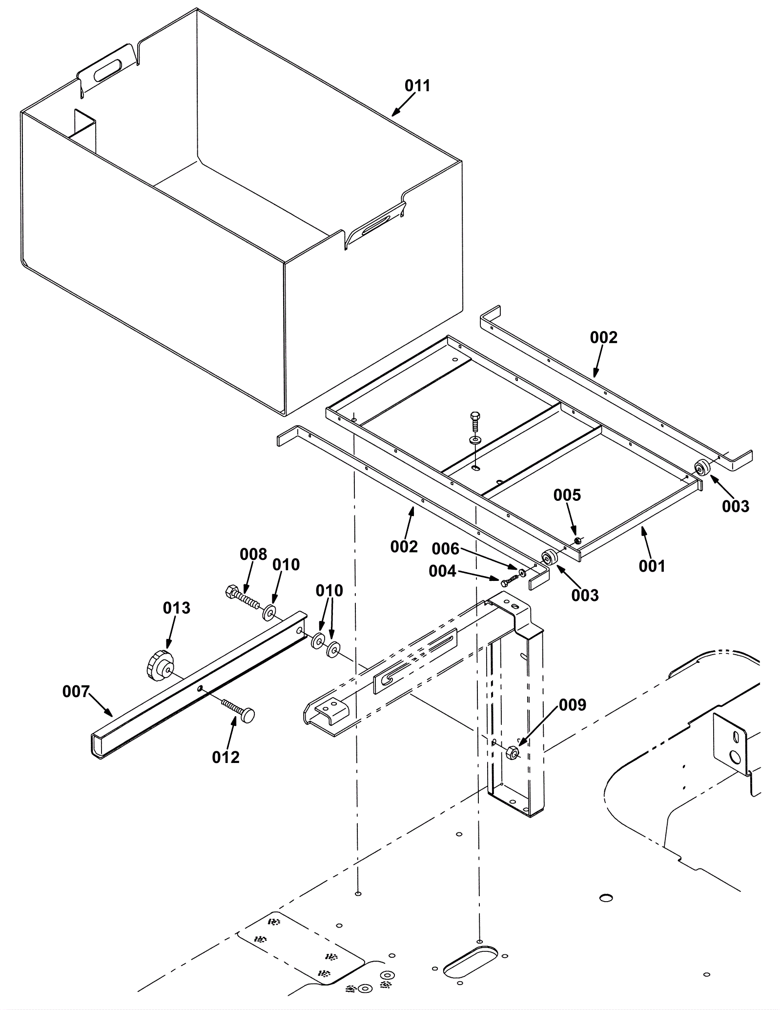
7200SS Rollout Battery Case Group

#PartDescriptionPriceReqNotesAvailability
001 175-9797 Battery rollers mounting bar weldment $239.91 1 usually ships 1-5 days
002 275-0002 Channel .18 27.8w 2.3 .9l 5/.3h $53.79 2 usually ships 1-5 days
003 275-0003 Bearing $43.23 10 usually ships 1-5 days
004 999-0298 Bolt 1/4-20 x 1 1/4 hex head stainless steel $0.99 10 ships same day
005 999-0152 Nut 1/4-20 nylon insert lock zinc plated $0.99 10 ships same day
006 999-0335 Washer 1/4 x 5/8 SAE flat stainless steel $0.99 10 ships same day
007 275-0004 Battery stop arm weldment (OBSOLETE) $286.99 1 usually ships 10-13 days
008 275-0005 Screw 1/2-13 x 2 1/2 hex head stainless steel $7.70 1 usually ships 10-13 days
009 999-1208 Nut 1/2-13 nylon insert lock stainless steel $2.53 1 ships same day
010 999-0114 Washer 1/2 SAE flat $0.99 3 ships same day
011 275-0006 Battery rollout box weldment $1,011.56 1 usually ships 1-5 days
012 275-0007 Leveler stop $14.08 1 usually ships 1-5 days
013 275-0008 Round plastic knob 2.37d 1.3l .38h $15.40 1 usually ships 1-5 days