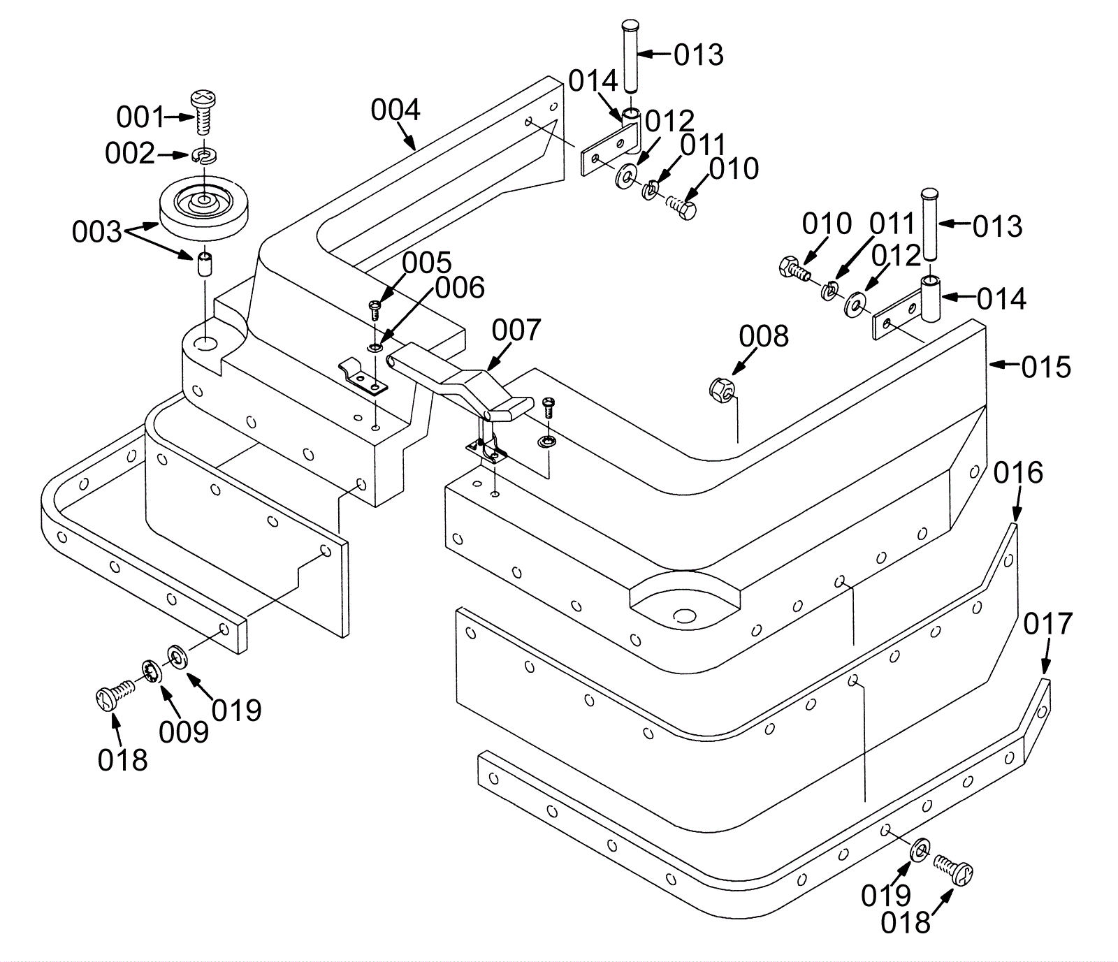
Skirt Assembly
Click to enlarge