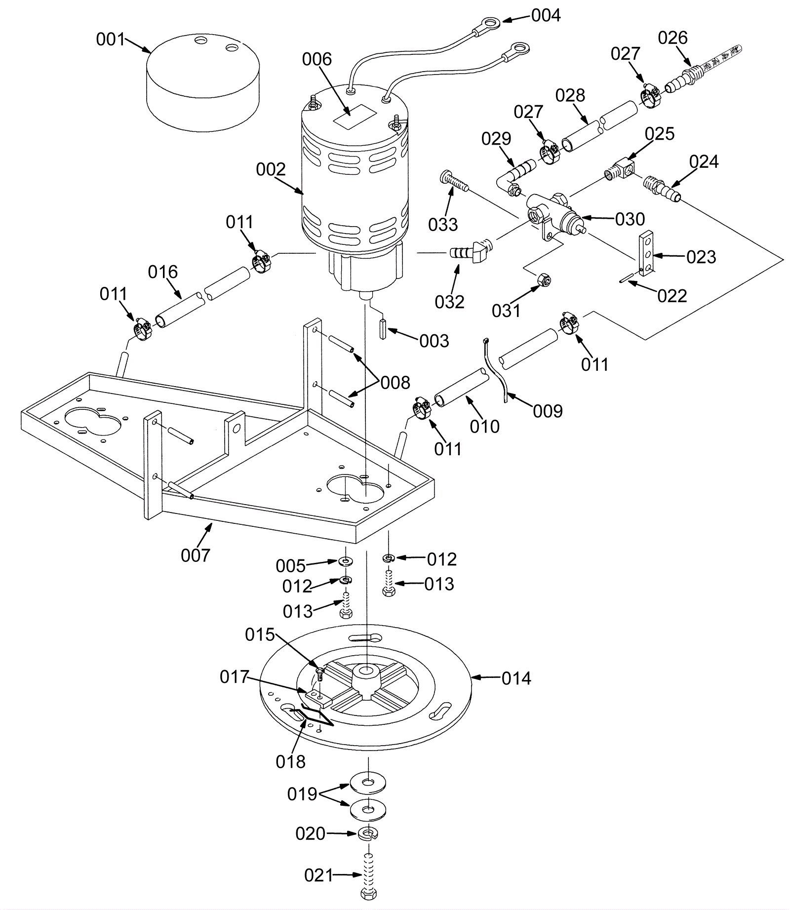
Brush Drive and Solution Hose Assembly
Click to enlarge