| # | Part | Description | Price | Req | Notes | Availability |
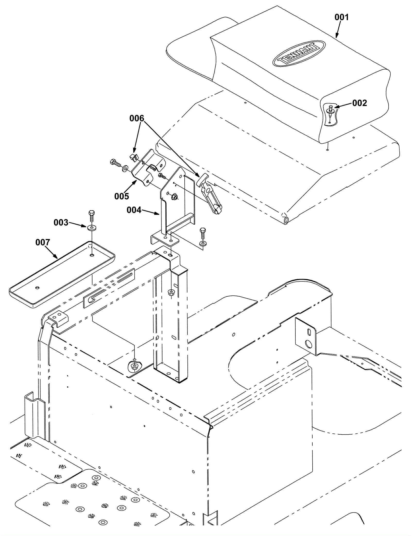
001 |
175-9416
|
Power bag |
$173.47
|
1 |
|
usually ships 1-5 days |
002 |
175-3378
|
Rivet 1/4 x 57/64 plastic |
$4.22
|
4 |
|
usually ships 10-13 days |
003 |
999-0549
|
Washer 5/16 x 3/4 SAE flat stainless steel |
$0.99
|
2 |
|
ships same day |
004 |
175-9732
|
BRACKET WLDT, WAND, POWER (Tennant Industrial) |
$308.62
|
1 |
|
usually ships 1-5 days |
005 |
175-9727
|
Power wand bracket |
$57.42
|
1 |
|
usually ships 1-5 days |
006 |
175-9728
|
Flexible draw latch |
$31.24
|
1 |
|
usually ships 1-5 days |
007 |
175-9733
|
TRAY, BRUSH, RWK (Tennant Industrial) |
$116.07
|
1 |
|
usually ships 1-5 days |