| # | Part | Description | Price | Req | Notes | Availability |
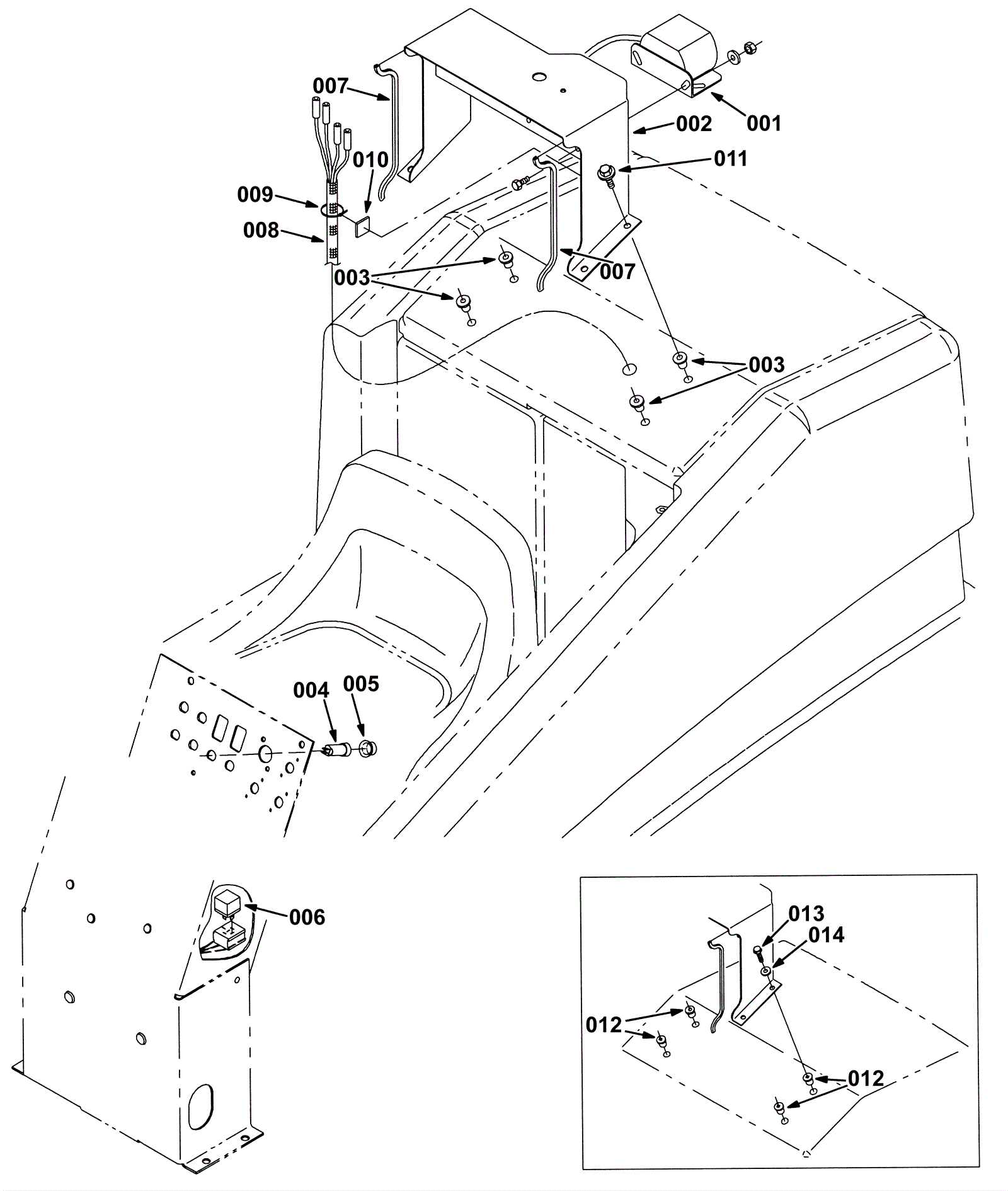
001 |
175-5431
|
Backup alarm assembly (OBSOLETE) |
$216.37
|
1 |
|
usually ships 1-5 days |
002 |
175-9639
|
Light or alarm bracket weldment |
$179.52
|
1 |
|
usually ships 10-13 days |
003 |
175-5424
|
Nut 1/4-20 isolator wall thick |
$5.50
|
4 |
|
usually ships 10-13 days |
004 |
175-2542
|
10amp circuit breaker |
$19.80
|
1 |
|
usually ships 10-13 days |
005 |
275-2596
|
Circuit breaker boot (Tennant Industrial) |
$20.84
|
1 |
|
ships same day |
006 |
175-2265
|
36V 5amp relay |
$17.71
|
1 |
|
usually ships 10-13 days |
007 |
275-8203
|
Molding |
$48.40
|
2 |
|
usually ships 1-5 days |
008 |
175-9641
|
Backup light or alarm harness |
$85.91
|
1 |
|
usually ships 10-13 days |
009 |
175-2162
|
Nylon wire tie |
$3.30
|
1 |
|
usually ships 10-13 days |
010 |
175-3233
|
Cable tie mount |
$4.62
|
1 |
|
usually ships 1-5 days |
011 |
999-0136
|
Bolt 1/4-20 x 1 1/4 hex head grade 5 zinc plated |
$0.99
|
4 |
|
ships same day |
012 |
175-9642
|
NUT KIT, ISOLATOR, F/369344, REPLMT (Tennant Industrial) |
$18.17
|
1 |
|
usually ships 1-5 days |
013 |
999-0178
|
Bolt 5/16-18 x 2 hex head grade 5 zinc plated |
$0.54
|
4 |
|
ships same day |
014 |
999-0024
|
Washer 5/16 flat stainless steel |
$1.34
|
4 |
|
ships same day |
KIT |
175-9711
|
CI backup alarm kit |
$473.88
|
1 |
includes 001-011 |
usually ships 1-5 days |