| # | Part | Description | Price | Req | Notes | Availability |
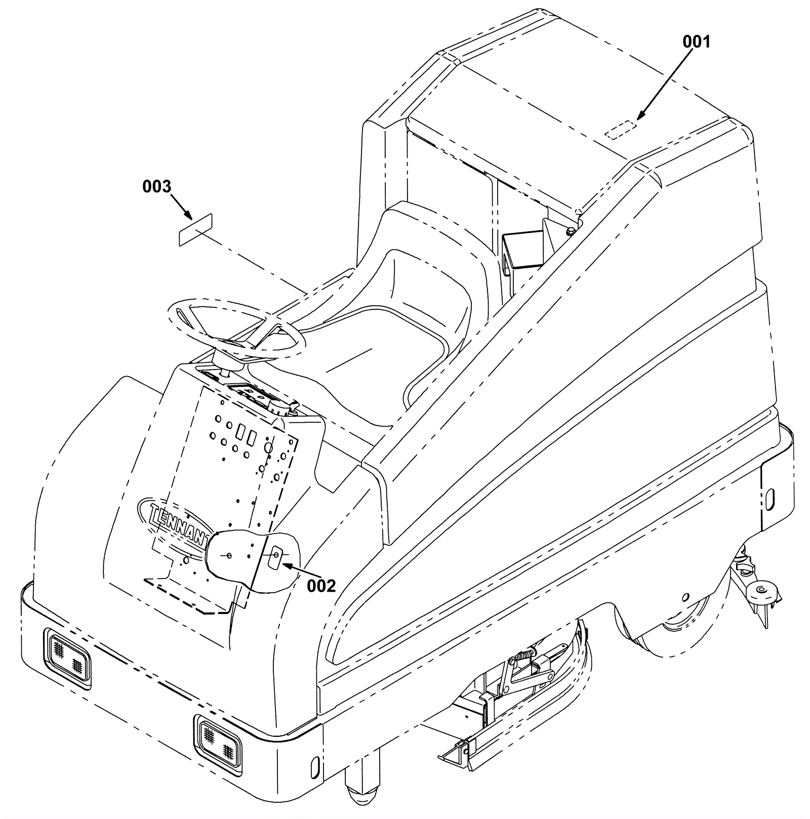
001 |
175-5222
|
Attention users decal (FaST) |
$5.83
|
1 |
|
usually ships 10-13 days |
002 |
175-9710
|
Circuitbreaker operational label |
$19.36
|
1 |
|
usually ships 1-5 days |
003 |
175-5223
|
FaST decal |
$19.58
|
1 |
|
usually ships 1-5 days |