| # | Part | Description | Price | Req | Notes | Availability |
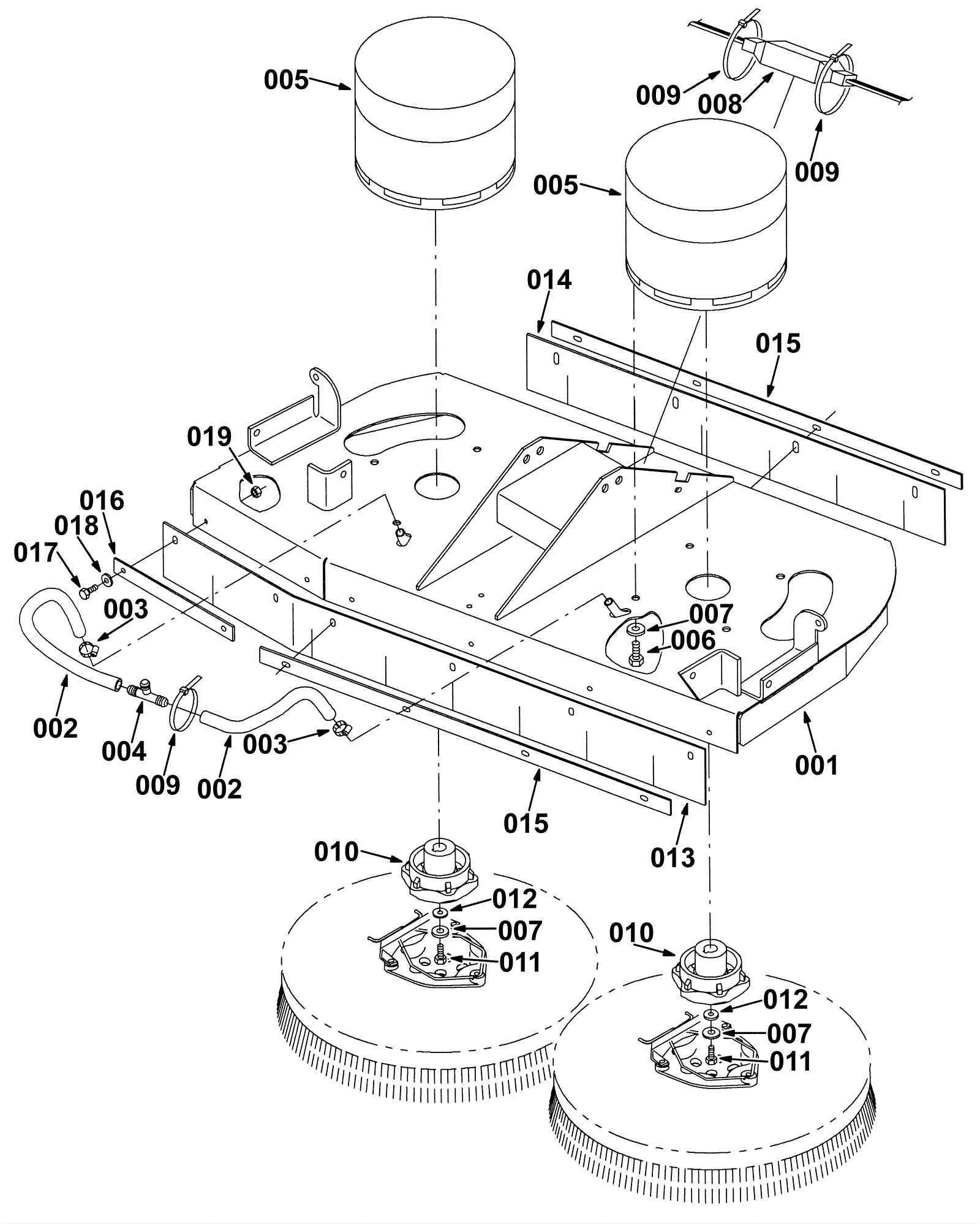
001 |
175-9522
|
Disk head weldment 36 inch (OBSOLETE) |
$758.23
|
1 |
|
usually ships 10-13 days |
002 |
175-5249
|
Hose 1/2 x 1 foot (Tennant Industrial) |
$32.01
|
2 |
|
usually ships 10-13 days |
003 |
175-6081
|
Hose clamp |
$4.84
|
2 |
|
usually ships 1-5 days |
004 |
175-3329
|
Plastic tee fitting |
$6.49
|
1 |
|
usually ships 10-13 days |
005 |
175-3325
|
Brush motor kit |
$1,532.74
|
2 |
See breakdowns |
usually ships 10-13 days |
006 |
175-9524
|
Screw 3/8-16 x 5/8 hex head stainless steel |
$5.28
|
8 |
|
usually ships 1-5 days |
007 |
999-0355
|
Washer 3/8 x 7/8 SAE flat stainless steel |
$0.99
|
1 |
|
ships same day |
008 |
175-2440
|
Disk head wiring harness |
$157.85
|
1 |
|
usually ships 10-13 days |
009 |
175-2226
|
Nylon wire tie |
$4.49
|
6 |
|
ships same day |
010 |
175-9525
|
Brush drive hub |
$203.17
|
2 |
|
usually ships 10-13 days |
011 |
999-0424
|
Bolt 5/16-18 x 1 hex head stainless steel |
$0.99
|
2 |
|
ships same day |
012 |
999-0105
|
Washer 5/16 external star lock zinc plated |
$0.99
|
2 |
|
ships same day |
013 |
175-9526
|
Skirt 12-3.75 x 37.62 6/.31 |
$30.58
|
1 |
|
usually ships 10-13 days |
014 |
175-9527
|
Skirt .12-3.75 x 29.12 4/.31 |
$22.99
|
1 |
|
usually ships 10-13 days |
015 |
175-9528
|
Left front skirt retainer strip |
$32.89
|
2 |
|
usually ships 10-13 days |
016 |
175-9529
|
Right front skirt retainer strip |
$25.19
|
1 |
|
usually ships 10-13 days |
017 |
999-0507
|
Bolt M6-1 x 16mm hex head full thread plain finish |
$0.99
|
10 |
|
ships same day |
018 |
999-0335
|
Washer 1/4 x 5/8 SAE flat stainless steel |
$0.99
|
10 |
|
ships same day |
019 |
999-0497
|
Nut M6-1 nylon insert lock stainless steel |
$0.99
|
10 |
|
ships same day |