| # | Part | Description | Price | Req | Notes | Availability |
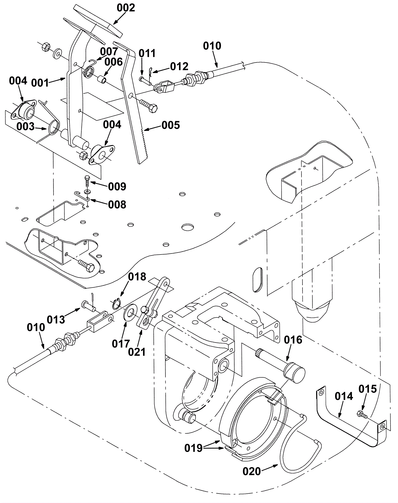
001 |
175-9983
|
Brake pedal weldment |
$56.10
|
1 |
|
usually ships 1-5 days |
002 |
175-3279
|
Pedal pad |
$32.78
|
1 |
|
usually ships 10-13 days |
003 |
175-9984
|
Torsion spring |
$18.26
|
1 |
|
usually ships 10-13 days |
004 |
175-3201
|
Flanged bearing |
$6.49
|
2 |
|
usually ships 10-13 days |
005 |
175-9985
|
Brake pedal lock |
$50.60
|
1 |
|
usually ships 1-5 days |
006 |
175-0632
|
Sleeve bushing |
$5.28
|
1 |
|
usually ships 1-5 days |
007 |
175-0633
|
Spring |
$5.50
|
1 |
|
usually ships 10-13 days |
008 |
175-3290
|
Parking brake spring |
$6.49
|
1 |
|
usually ships 1-5 days |
009 |
999-1228
|
Screw M5-.8 x 10mm hex head stainless steel |
$0.99
|
2 |
|
ships same day |
010 |
275-4658
|
Clevis pull cable |
$301.62
|
1 |
|
usually ships 1-5 days |
011 |
175-9987
|
Clevis pin 1/4 x 3/4 |
$4.49
|
1 |
|
usually ships 1-5 days |
012 |
175-7107
|
Cotter hair pin |
$3.30
|
1 |
|
usually ships 10-13 days |
013 |
175-0637
|
Clevis pin |
$4.49
|
1 |
|
usually ships 10-13 days |
014 |
175-9988
|
Nylon strap 1 x 11 1/4 |
$19.91
|
1 |
|
usually ships 1-5 days |
015 |
999-1319
|
Screw M6-1 x 12mm hex head plain finish |
$0.99
|
2 |
|
ships same day |
016 |
175-9989
|
Brake cam |
$130.57
|
1 |
|
usually ships 10-13 days |
017 |
175-9990
|
Washer M21-37 x 3 flat |
$5.61
|
1 |
|
usually ships 10-13 days |
018 |
175-9991
|
Retainer ring |
$4.62
|
1 |
|
usually ships 10-13 days |
019 |
175-9992
|
Brake shoe |
$90.64
|
2 |
|
usually ships 1-5 days |
020 |
175-9993
|
Brake return spring |
$24.31
|
1 |
|
usually ships 1-5 days |
021 |
175-9994
|
Brake lever |
$90.09
|
1 |
|
usually ships 1-5 days |