| # | Part | Description | Price | Req | Notes | Availability |
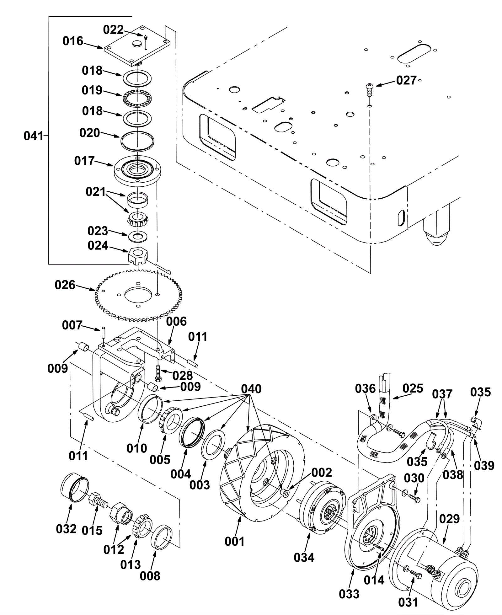
001 |
175-9951
|
Front wheel and isolator assembly |
$1,054.46
|
1 |
|
usually ships 10-13 days |
002 |
175-9953
|
Urethane isolator bushing |
$8.58
|
6 |
|
usually ships 10-13 days |
003 |
175-9954
|
Washer 2.80 x 4.06 x .25 |
$15.95
|
1 |
|
usually ships 10-13 days |
004 |
175-9955
|
Seal |
$25.63
|
1 |
|
usually ships 10-13 days |
005 |
175-9956
|
Cone bearing 2.25 bore .86 width |
$50.27
|
1 |
|
usually ships 10-13 days |
006 |
175-9957
|
Drive wheel housing |
$1,394.47
|
1 |
includes 007-011 |
usually ships 1-5 days |
007 |
175-9958
|
Dowel pin 1/2 x 1 1/2 |
$5.28
|
1 |
|
usually ships 10-13 days |
008 |
175-9959
|
Cup bearing 82 |
$19.58
|
1 |
|
usually ships 10-13 days |
009 |
175-9960
|
Bushing |
$22.44
|
2 |
|
usually ships 1-5 days |
010 |
175-9961
|
Cup bearing 3 13/16 |
$27.72
|
1 |
|
usually ships 10-13 days |
011 |
175-9962
|
Dowel pin 3/8 x 2 |
$7.70
|
2 |
|
usually ships 1-5 days |
012 |
175-9963
|
Bearing sleeve assembly |
$112.64
|
1 |
includes 013 |
usually ships 10-13 days |
013 |
175-9964
|
Cone bearing 50 bore |
$43.23
|
1 |
|
usually ships 10-13 days |
014 |
175-9965
|
Screw M6-1 x 25mm socket head nylon lock |
$4.36
|
6 |
|
usually ships 1-5 days |
015 |
175-9966
|
Screw M20-2.5 x 35 hex head nylon lock |
$11.44
|
1 |
|
usually ships 10-13 days |
016 |
175-9968
|
Swivel plate weldment |
$254.87
|
1 |
|
usually ships 10-13 days |
017 |
175-3252
|
Bottom swivel plate |
$302.39
|
1 |
|
usually ships 10-13 days |
018 |
175-3249
|
Washer thrust |
$7.37
|
2 |
|
usually ships 10-13 days |
019 |
175-3250
|
Thrust bearing |
$23.43
|
1 |
|
usually ships 10-13 days |
020 |
175-3251
|
Felt seal |
$8.80
|
1 |
|
usually ships 10-13 days |
021 |
175-3253
|
Bearing assembly cup/cone |
$106.37
|
1 |
|
usually ships 10-13 days |
022 |
175-3248
|
Grease fitting |
$4.49
|
1 |
|
usually ships 10-13 days |
023 |
175-3254
|
Washer |
$7.37
|
1 |
|
usually ships 10-13 days |
024 |
175-3255
|
Nut hexslot 1 1/4 x 12 |
$10.34
|
1 |
|
usually ships 1-5 days |
025 |
175-9969
|
Nylon sleeve number 17 30 |
$20.57
|
1 |
|
usually ships 1-5 days |
026 |
175-9970
|
Drive steering sprocket |
$43.56
|
1 |
|
usually ships 1-5 days |
027 |
175-9971
|
Screw M12-1.75 x 30 Button head nylon lock |
$6.49
|
4 |
|
usually ships 1-5 days |
028 |
175-9972
|
Screw M12-1.75 x 45mm hex head nylon lock |
$4.09
|
4 |
|
usually ships 1-5 days |
029a |
175-9973
|
Electric motor 36 volt 1 1/2 horsepower |
$2,836.35
|
1 |
|
usually ships 1-5 days |
029b |
175-9974
|
Electric motor 36 volt 1 1/2 horsepower 14000rpm |
$2,552.55
|
1 |
|
usually ships 10-13 days |
030 |
175-9975
|
Screw M8-1.25 x 30mm hex head nylon lock |
$5.50
|
4 |
|
usually ships 1-5 days |
031 |
999-0501
|
Bolt M8-1.25 x 25mm hex head full thread stainless steel |
$2.64
|
4 |
|
ships same day |
032 |
175-9976
|
Front wheel cap |
$27.72
|
1 |
|
usually ships 10-13 days |
033 |
175-9977
|
Electric motor mounting plate (OBSOLETE) |
$406.12
|
1 |
|
usually ships 10-13 days |
034 |
175-9978
|
Planetary gearbox |
$1,257.96
|
1 |
|
usually ships 1-5 days |
035 |
175-2122
|
90 degree cable boot |
$5.28
|
4 |
|
usually ships 10-13 days |
036 |
175-9979
|
Clamp (Tennant Industrial) |
$8.17
|
1 |
|
usually ships 1-5 days |
037 |
175-9980
|
HARNESS, MOTOR (Tennant Industrial) |
$65.51
|
1 |
|
usually ships 1-5 days |
038 |
175-9981
|
Wire 6 gauge 48 inch black ring terminal |
$41.25
|
1 |
|
usually ships 1-5 days |
039 |
175-9982
|
Wire 6 gauge 46 inch black ring terminal |
$40.59
|
1 |
|
usually ships 1-5 days |
040 |
175-9951
|
Front wheel and isolator assembly |
$1,054.46
|
1 |
(includes 001-005) |
usually ships 10-13 days |
041 |
175-9967
|
Caster assembly |
$585.86
|
1 |
includes 016-024 |
usually ships 10-13 days |