| # | Part | Description | Price | Req | Notes | Availability |
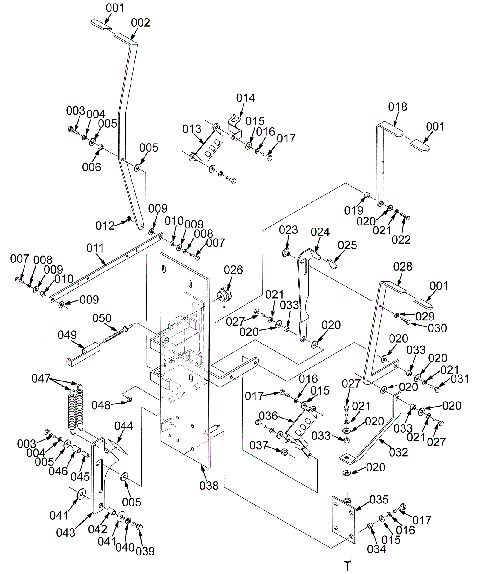
019 |
175-2731
|
Bushing |
$8.14
|
|
|
usually ships 10-13 days |
020 |
999-0617
|
Washer 3/8 x 1 flat stainless steel |
$1.82
|
|
|
ships same day |
021 |
999-0034
|
Washer 3/8 split lock plain finish |
$1.82
|
|
|
ships same day |
022 |
999-0812
|
Screw 3/8-16 x 7/8 hex head grade 5 plain finish |
$0.99
|
|
|
ships same day |
031 |
999-0350
|
Bolt 3/8-16 x 1 1/2 hex head grade 5 zinc plated |
$0.99
|
|
|
ships same day |
037 |
999-0513
|
Nut 3/8-16 nylon insert lock type NE stainless steel |
$3.96
|
|
|
ships same day |