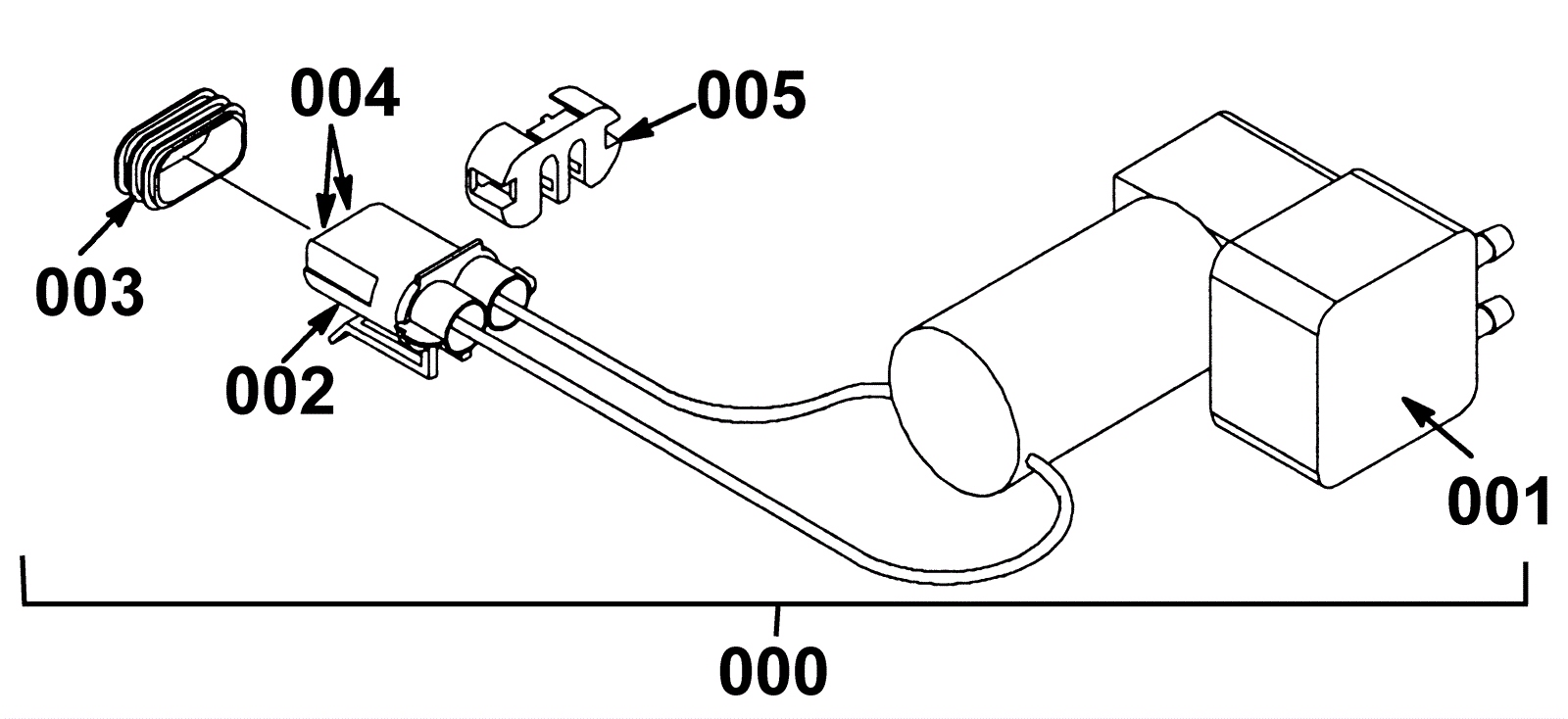
| # | Part | Description | Price | Req | Notes | Availability |
000 |
175-8712
|
Air pump |
$1,242.45
|
1 |
(includes 001 to 005) |
usually ships 1-5 days |
001 |
175-5317
|
Air compressor diaphragm repair kit |
$319.55
|
1 |
|
usually ships 1-5 days |
002 |
175-8753
|
Female connector |
$8.25
|
1 |
|
usually ships 10-13 days |
003 |
175-8754
|
14/16 wire seal |
$4.49
|
2 |
|
usually ships 1-5 days |
004 |
175-8755
|
TERMINAL, FEM, MP280, SEALED, 18-16GA (Tennant Industrial) |
$5.67
|
2 |
|
usually ships 1-5 days |
005 |
175-8756
|
Male and female secondary lock |
$5.28
|
1 |
|
usually ships 10-13 days |