| # | Part | Description | Price | Req | Notes | Availability |
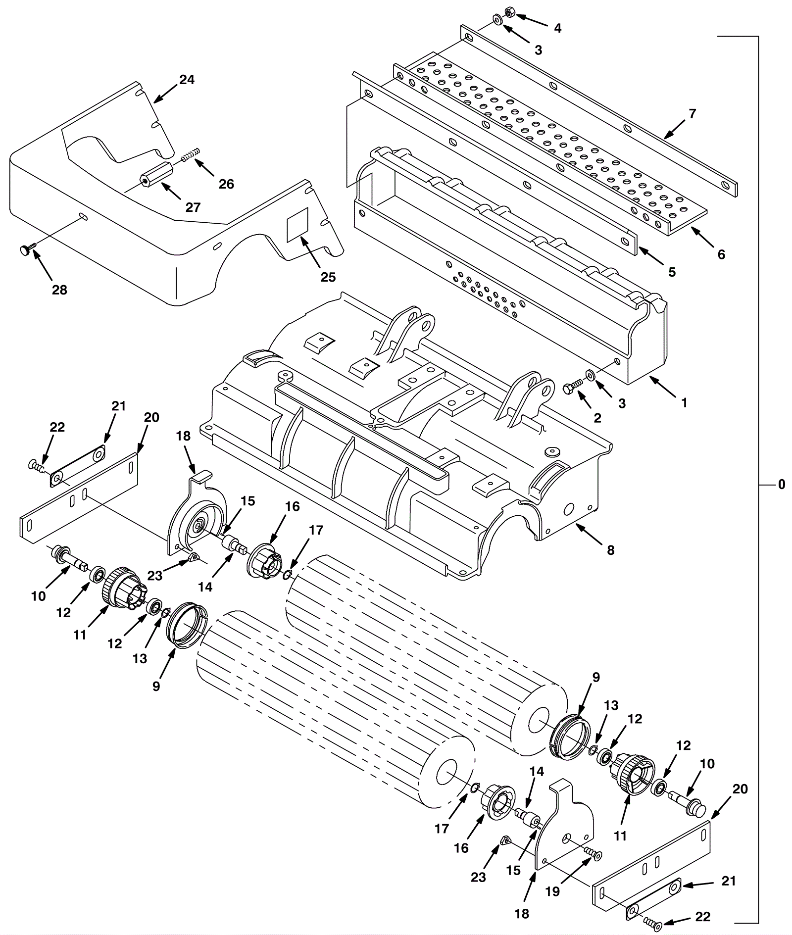
000 |
175-8672
|
Cylindrical scrubhead kit (OBSOLETE) |
$4,684.68
|
1 |
Includes 001 to 028 |
usually ships 1-5 days |
001 |
175-8688
|
Debris hopper |
$266.64
|
1 |
|
usually ships 10-13 days |
002 |
999-1087
|
Bolt M6-1 x 25mm hex head stainless steel |
$0.99
|
4 |
|
ships same day |
003 |
999-0016
|
Washer 1/4 flat plain finish |
$0.99
|
8 |
|
ships same day |
004 |
999-0497
|
Nut M6-1 nylon insert lock stainless steel |
$0.99
|
4 |
|
ships same day |
005 |
175-8689
|
Debris hopper lip |
$77.67
|
1 |
|
usually ships 1-5 days |
006 |
175-2517
|
Skirt |
$38.17
|
1 |
|
usually ships 10-13 days |
007 |
175-8690
|
Retaining hopper strip |
$101.75
|
1 |
|
usually ships 1-5 days |
008 |
175-8680
|
Cylinder brush scrubber head (OBSOLETE) |
$2,653.04
|
1 |
|
usually ships 10-13 days |
009 |
175-2495
|
Seal ring |
$61.82
|
2 |
|
ships same day |
010a |
175-2468
|
Brush drive plug assembly |
$234.63
|
2 |
(includes 010b, 011, 012, 013) |
usually ships 10-13 days |
010b |
175-2469
|
Shaft drive plug |
$104.61
|
2 |
|
ships same day |
011 |
175-2470
|
Brush drive plug |
$109.67
|
2 |
|
usually ships 10-13 days |
012 |
175-2471
|
Ball bearing |
$20.68
|
4 |
|
ships same day |
013 |
175-2472
|
Retaining ring |
$3.30
|
2 |
|
usually ships 10-13 days |
014a |
175-2475
|
Idler plug assembly |
$117.26
|
2 |
(includes 014b, 015, 016, 017) |
usually ships 10-13 days |
014b |
175-2476
|
Idler plug shaft |
$79.97
|
2 |
|
usually ships 10-13 days |
015 |
175-2477
|
Roll pin |
$3.30
|
2 |
|
usually ships 10-13 days |
016 |
175-2478
|
Brush idler plug |
$31.02
|
2 |
|
ships same day |
017 |
175-2472
|
Retaining ring |
$3.30
|
2 |
|
usually ships 10-13 days |
018 |
175-2474
|
Brush door |
$57.86
|
2 |
|
ships same day |
019 |
175-2863
|
Screw M10-1.5 x 20mm flat head stainless steel nylok |
$5.28
|
2 |
|
usually ships 10-13 days |
020 |
175-8687
|
Side cylinder scrubhead skirt (OBSOLETE) |
$20.46
|
2 |
|
usually ships 10-13 days |
021 |
175-2481
|
Support bar |
$10.34
|
4 |
|
ships same day |
022 |
999-0770
|
Screw M8-1.25 x 30mm flat head socket stainless steel |
$2.62
|
8 |
|
ships same day |
023 |
175-8691
|
Nut scrubhead skirt retainer |
$17.49
|
4 |
|
usually ships 10-13 days |
024 |
175-8692
|
Cylindrical brush shroud |
$156.75
|
1 |
|
usually ships 10-13 days |
025 |
175-1238
|
Moving parts decal |
$5.83
|
2 |
|
usually ships 10-13 days |
026 |
175-4543
|
Screw M6 x 30 set |
$5.50
|
1 |
|
usually ships 1-5 days |
027 |
175-8693
|
Scrubhead shroud standoff |
$11.22
|
1 |
|
usually ships 1-5 days |
028 |
175-3718
|
Knob |
$5.28
|
7 |
|
ships same day |