| # | Part | Description | Price | Req | Notes | Availability |
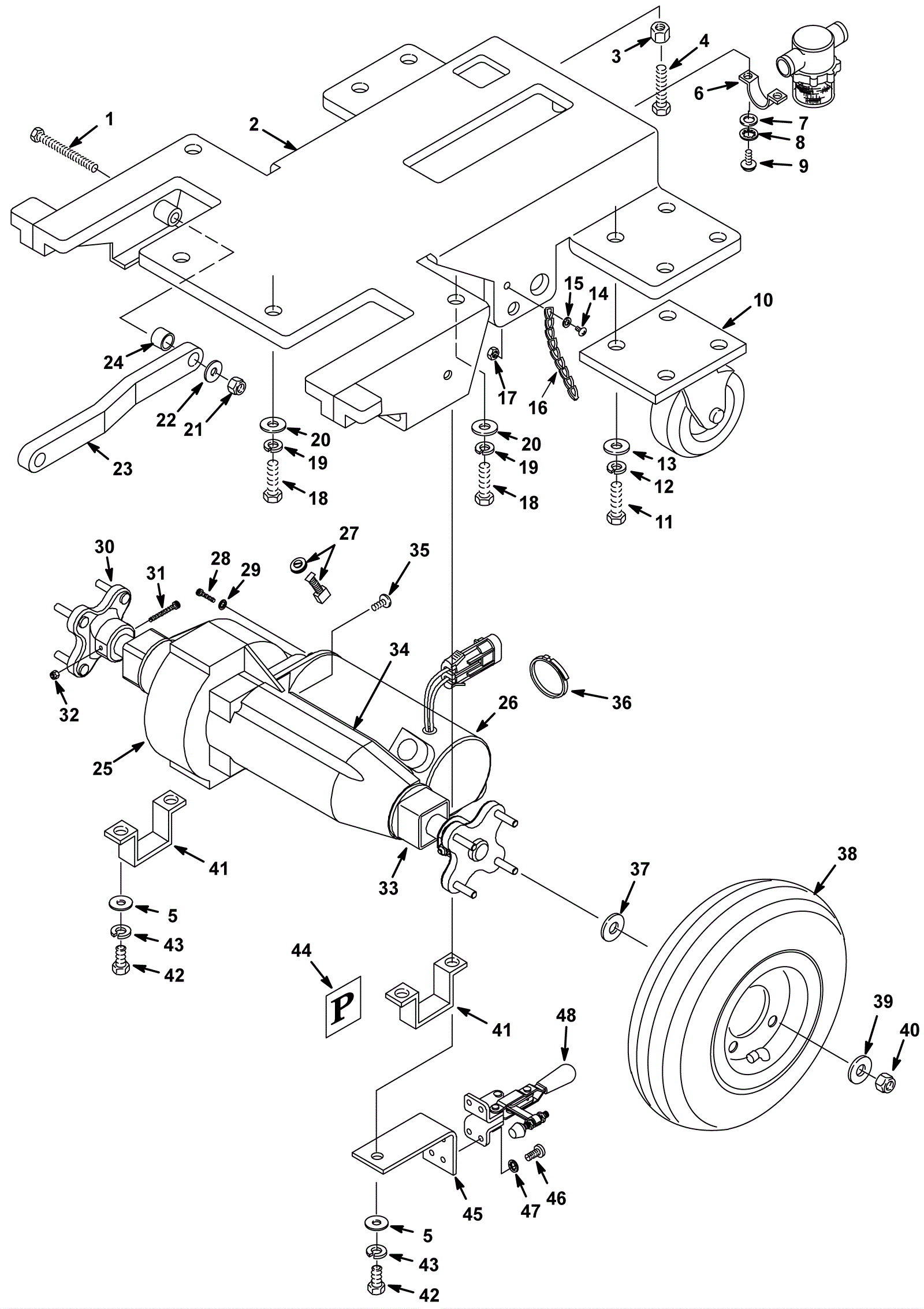
1 |
999-9079
|
Screw M8 x 80mm hex head stainless steel |
$4.41
|
2 |
|
ships same day |
2 |
175-8637
|
Transaxle frame (OBSOLETE) |
$533.83
|
1 |
|
usually ships 1-5 days |
3 |
999-1424
|
Nut M8-1.25 hex stainless steel |
$1.65
|
1 |
|
ships same day |
4 |
999-9079
|
Screw M8 x 80mm hex head stainless steel |
$4.41
|
1 |
|
ships same day |
5 |
999-0024
|
Washer 5/16 flat stainless steel |
$1.34
|
4 |
|
ships same day |
6 |
175-3690
|
U clamp |
$28.82
|
2 |
|
usually ships 10-13 days |
7 |
999-0393
|
Washer 3/16 flat aluminum |
$0.99
|
4 |
|
ships same day |
8 |
999-9132
|
Washer M5 split lock stainless steel |
$0.99
|
4 |
|
ships same day |
9 |
999-1090
|
Screw M5-.8 x 10mm pan head phillips zinc plated |
$0.99
|
4 |
|
ships same day |
10a |
175-2991
|
4 inch caster wheel |
$67.71
|
2 |
(OEM) |
ships same day |
10b |
991-2016
|
4 inch caster wheel |
$67.71
|
2 |
(NON-OEM) |
ships same day |
11 |
999-0501
|
Bolt M8-1.25 x 25mm hex head full thread stainless steel |
$2.64
|
8 |
|
ships same day |
12 |
999-1053
|
Washer 5/16 internal star lock stainless steel |
$0.99
|
8 |
|
ships same day |
13 |
999-0024
|
Washer 5/16 flat stainless steel |
$1.34
|
8 |
|
ships same day |
14 |
999-9113
|
Screw M4-.7 x 16mm pan head phillips stainless steel |
$0.99
|
2 |
|
ships same day |
15 |
999-1652
|
Washer M4.3 flat |
$1.93
|
2 |
|
ships same day |
16 |
175-4342
|
Link chain |
$12.43
|
2 |
|
usually ships 1-5 days |
17 |
999-0954
|
Nut M4-.7 nylon insert lock stainless steel |
$0.99
|
2 |
|
ships same day |
18 |
999-1133
|
Bolt M8-1.25 x 20mm hex head full thread plain |
$0.99
|
4 |
|
ships same day |
19 |
999-1053
|
Washer 5/16 internal star lock stainless steel |
$0.99
|
4 |
|
ships same day |
20 |
999-0024
|
Washer 5/16 flat stainless steel |
$1.34
|
4 |
|
ships same day |
21 |
999-0471
|
Nut M8-1.25 nylon insert lock zinc plated |
$0.99
|
2 |
|
ships same day |
22 |
999-0024
|
Washer 5/16 flat stainless steel |
$1.34
|
2 |
|
ships same day |
23 |
175-2102
|
Scrub head lifting arm |
$53.46
|
2 |
|
usually ships 10-13 days |
24 |
175-4343
|
1 inch tube |
$7.04
|
2 |
|
ships same day |
25a |
175-3622
|
24V transaxle motor assembly |
$2,422.75
|
1 |
(includes 25b-35) |
usually ships 10-13 days |
25b |
175-3654
|
Transaxle body |
$2,285.47
|
1 |
|
usually ships 10-13 days |
25c |
175-3655
|
Transaxle coupling |
$10.78
|
1 |
|
usually ships 10-13 days |
25d |
175-3656
|
Transaxle key |
$11.00
|
1 |
|
usually ships 10-13 days |
26 |
175-3657
|
24V transaxle motor |
$712.80
|
1 |
(includes 27) |
usually ships 10-13 days |
27 |
999-0745
|
Screw 10-24 x 1 1/4 socket head shoulder |
$2.67
|
1 |
|
ships same day |
28 |
999-1320
|
Screw M6-1 x 20mm socket head stainless steel |
$0.99
|
2 |
|
ships same day |
29 |
999-0238
|
Washer 1/4 internal star lock zinc plated |
$0.99
|
2 |
|
ships same day |
30 |
275-5229
|
Transaxle wheel hub with retainer |
$147.29
|
2 |
|
usually ships 10-13 days |
31 |
999-0745
|
Screw 10-24 x 1 1/4 socket head shoulder |
$2.67
|
2 |
|
ships same day |
32 |
999-0442
|
Nut 10-24 nylon insert lock stainless steel |
$1.76
|
2 |
|
ships same day |
33 |
175-3660
|
Transaxle sleeve |
$11.11
|
2 |
|
usually ships 10-13 days |
34 |
175-3665
|
Transaxle cover (OBSOLETE) |
$27.39
|
1 |
|
usually ships 1-5 days |
35 |
999-0458
|
Screw 8 x 1/2 pan head phillips T-A sheet metal zinc |
$0.99
|
2 |
|
ships same day |
36 |
175-0921
|
Wire tie |
$5.28
|
2 |
|
usually ships 10-13 days |
37 |
175-1097
|
Washer flat stainless steel |
$5.50
|
8 |
|
usually ships 10-13 days |
38a |
675-9896
|
Air filled (pneumatic) tire |
$53.68
|
2 |
|
ships same day |
38b |
175-3017
|
Neoprene solid wheel |
$282.81
|
2 |
|
usually ships 10-13 days |
38c |
175-3652
|
Foam filled wheel |
$206.47
|
2 |
|
usually ships 10-13 days |
38d |
175-3146
|
Air filled (pneumatic) tire kit (pkg of 2) (OBSOLETE) |
$116.16
|
1 |
|
usually ships 10-13 days |
38e |
175-4210
|
Neoprene solid wheel kit (pkg of 2) |
$547.14
|
1 |
|
usually ships 10-13 days |
38f |
175-3147
|
Foam filled tire kit (pkg of 2) (OBSOLETE) |
$226.05
|
1 |
|
usually ships 10-13 days |
39 |
999-0016
|
Washer 1/4 flat plain finish |
$0.99
|
8 |
|
ships same day |
40 |
999-0152
|
Nut 1/4-20 nylon insert lock zinc plated |
$0.99
|
8 |
|
ships same day |
41 |
175-4349
|
Transaxle bracket |
$40.15
|
2 |
|
usually ships 10-13 days |
42 |
999-1653
|
Screw M8-1.25 x 30mm hex head stainless steel |
$4.36
|
4 |
|
ships same day |
43 |
999-1053
|
Washer 5/16 internal star lock stainless steel |
$0.99
|
4 |
|
ships same day |
44a |
175-8641
|
Parking brake kit |
$130.02
|
1 |
(includes 44b-48) |
usually ships 1-5 days |
44b |
175-8643
|
Parking brake decal |
$4.62
|
1 |
|
usually ships 1-5 days |
45 |
175-8642
|
Brake bracket |
$51.70
|
1 |
|
usually ships 1-5 days |
46 |
999-0811
|
Screw 10-32 x 3/8 pan head phillips stainless steel |
$0.99
|
4 |
|
ships same day |
47 |
999-1026
|
Washer #10 internal lock stainless steel |
$0.99
|
4 |
|
ships same day |
48 |
175-1248
|
Parking brake clamp |
$35.81
|
1 |
|
usually ships 1-5 days |