# | Part | Description | Price | Req | Notes | Availability |
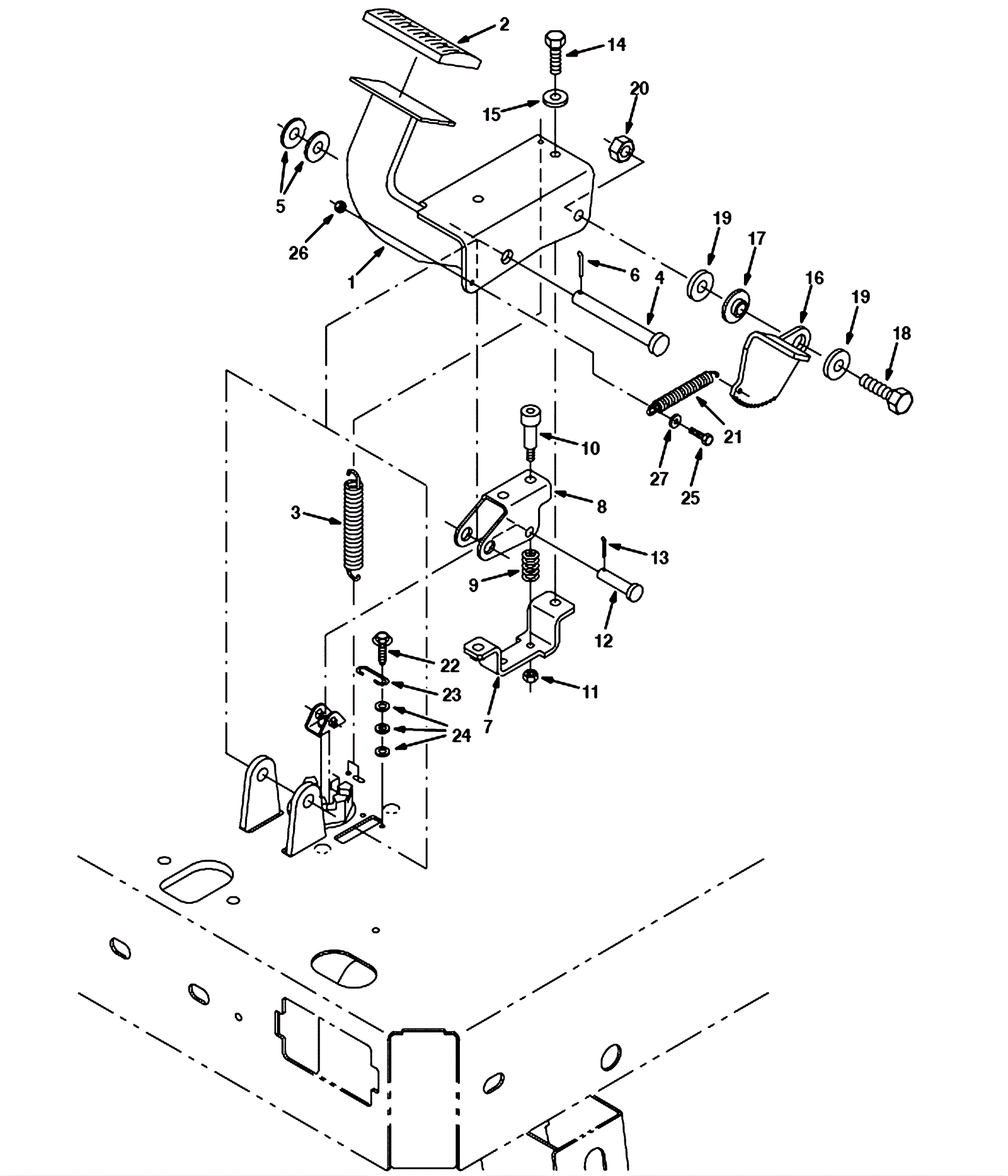
1 |
175-3278
|
Brake pedal weldment (OBSOLETE) |
$62.92
|
1 |
|
usually ships 1-5 days |
2 |
175-3279
|
Pedal pad |
$32.78
|
1 |
|
usually ships 10-13 days |
3 |
175-2064
|
Extension spring |
$10.34
|
1 |
|
usually ships 10-13 days |
4 |
175-3280
|
Clevis pin |
$6.49
|
1 |
|
usually ships 10-13 days |
5 |
999-0114
|
Washer 1/2 SAE flat |
$0.99
|
2 |
|
ships same day |
6 |
175-3281
|
Cotter pin |
$3.30
|
1 |
|
usually ships 10-13 days |
7 |
175-4961
|
Spring mounting channel weldment |
$32.89
|
1 |
|
usually ships 1-5 days |
8 |
175-3283
|
Mounting channel (OBSOLETE) |
$27.31
|
1 |
|
usually ships 1-5 days |
9 |
175-3284
|
Compression spring |
$17.16
|
2 |
|
usually ships 1-5 days |
10 |
175-3285
|
Bolt 1/4-20 x 5/16-1 shoulder |
$7.37
|
2 |
|
usually ships 1-5 days |
11 |
999-0609
|
Nut 1/4-20 hex stainless steel |
$0.99
|
2 |
|
ships same day |
12 |
175-2111
|
Clevis pin |
$5.15
|
1 |
|
usually ships 10-13 days |
13 |
175-6176
|
Cotter pin |
$3.30
|
1 |
|
ships same day |
14 |
175-4963
|
Bolt M6-1 x 20mm hex head |
$5.50
|
2 |
|
usually ships 1-5 days |
15 |
999-0016
|
Washer 1/4 flat plain finish |
$0.99
|
2 |
|
ships same day |
16 |
175-3286
|
Brake pedal lock |
$79.97
|
1 |
|
usually ships 1-5 days |
17 |
175-3287
|
Flanged bushing |
$6.27
|
1 |
|
ships same day |
18 |
175-3258
|
Bolt M10-1.5 x 35mm hex head |
$5.28
|
1 |
|
usually ships 1-5 days |
19 |
999-0032
|
Washer 3/8 USS flat plain finish |
$2.42
|
2 |
|
ships same day |
20 |
999-9133
|
Nut M10-1.5 nut hex head stainless steel |
$1.25
|
1 |
|
usually ships 1-5 days |
21 |
175-2065
|
Extension spring |
$11.11
|
1 |
|
usually ships 10-13 days |
22 |
175-3289
|
Bolt M5-.8 x 16mm hex head |
$5.28
|
2 |
|
usually ships 10-13 days |
23 |
175-3290
|
Parking brake spring |
$6.49
|
1 |
|
usually ships 1-5 days |
24 |
999-0006
|
Washer 3/16 flat zinc plated |
$0.99
|
6 |
|
ships same day |
25 |
175-3291
|
SCREW, HEX, M4 X 0.70 X 20, 8.8 (Tennant Industrial) |
$5.50
|
1 |
|
usually ships 10-13 days |
26 |
999-0954
|
Nut M4-.7 nylon insert lock stainless steel |
$0.99
|
1 |
|
ships same day |
27 |
999-0412
|
Washer #8 SAE flat |
$0.99
|
1 |
|
ships same day |