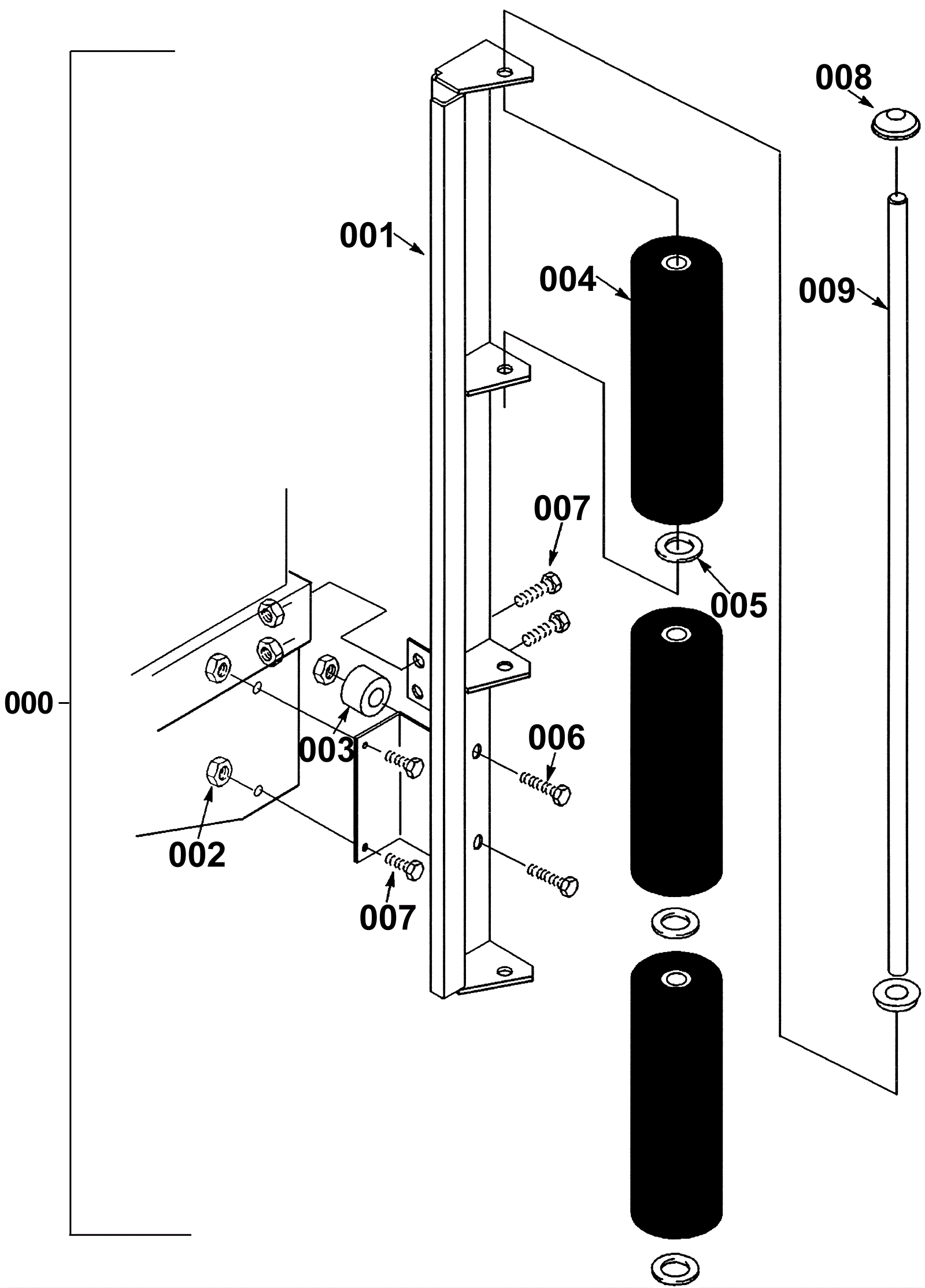
| # | Part | Description | Price | Req | Notes | Availability |
000 |
175-7034
|
Roller kit (OBSOLETE) |
$514.80
|
1 |
(includes 001-009) |
usually ships 1-5 days |
001a |
175-9422
|
Left side roller bracket (OBSOLETE) |
$170.83
|
1 |
|
usually ships 10-13 days |
001b |
175-7035
|
Right side roller bracket (OBSOLETE) |
$200.09
|
1 |
|
usually ships 1-5 days |
002 |
999-0471
|
Nut M8-1.25 nylon insert lock zinc plated |
$0.99
|
12 |
|
ships same day |
003 |
175-7036
|
Spanner (OBSOLETE) |
$11.77
|
4 |
|
usually ships 1-5 days |
004 |
175-7037
|
Upper roller (OBSOLETE) |
$21.23
|
6 |
|
usually ships 1-5 days |
005 |
999-0114
|
Washer 1/2 SAE flat |
$0.99
|
6 |
|
ships same day |
006 |
999-1297
|
Screw M8 x 50mm hex head stainless steel |
$2.86
|
4 |
|
ships same day |
007 |
999-0517
|
Bolt M8-1.25 x 16mm hex head full thread zinc |
$0.99
|
8 |
|
ships same day |
008 |
175-5178
|
Push-on cap (OBSOLETE) |
$3.56
|
4 |
|
usually ships 1-5 days |
009 |
175-7038
|
Roller shaft |
$37.51
|
2 |
|
usually ships 1-5 days |