| # | Part | Description | Price | Req | Notes | Availability |
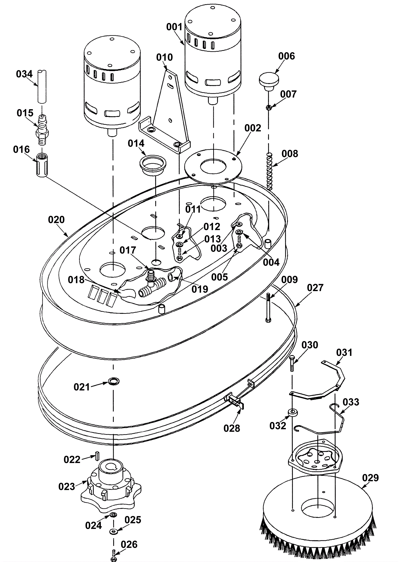
001 |
175-3226
|
Insulated stand off |
$10.34
|
2 |
NON-OEM option not available at this time. |
ships same day |
002 |
175-7016
|
End bell gasket |
$21.56
|
2 |
|
usually ships 10-13 days |
003 |
999-0016
|
Washer 1/4 flat plain finish |
$0.99
|
8 |
|
ships same day |
004 |
999-0632
|
Washer 1/4 split lock stainless steel |
$0.99
|
8 |
|
ships same day |
005 |
175-1331
|
Screw 1/4-20 x 8/9 hex head (OBSOLETE) |
$1.32
|
8 |
|
usually ships 1-5 days |
006 |
175-7017
|
Round knob (OBSOLETE) |
$24.20
|
2 |
|
usually ships 10-13 days |
007 |
999-0628
|
Nut 3/8-16 hex jam stainless steel |
$0.99
|
2 |
|
ships same day |
008 |
175-7018
|
Compression spring |
$5.50
|
2 |
|
ships same day |
009 |
999-1566
|
Screw 3/8-16 x 4 3/4 hex head zinc plated |
$3.36
|
2 |
|
ships same day |
010 |
175-7019
|
Head lifting bracket (OBSOLETE) |
$23.54
|
2 |
|
usually ships 1-5 days |
011 |
999-0024
|
Washer 5/16 flat stainless steel |
$1.34
|
4 |
|
ships same day |
012 |
999-0553
|
Washer 5/16 medium split lock stainless steel |
$0.99
|
8 |
|
ships same day |
013 |
999-0581
|
Bolt M8-1.25 x 25mm hex head full thread zinc |
$0.99
|
4 |
|
ships same day |
014 |
175-5059
|
Plug (OBSOLETE) |
$1.58
|
1 |
|
usually ships 1-5 days |
015 |
175-8668
|
Plastic fitting |
$6.49
|
1 |
|
usually ships 10-13 days |
016 |
175-5054
|
Coupling fitting |
$6.60
|
1 |
|
usually ships 1-5 days |
017 |
175-5053
|
Tee fitting (OBSOLETE) |
$3.43
|
1 |
|
usually ships 1-5 days |
018 |
175-1043
|
3 inch hose |
$42.90
|
1 |
|
ships same day |
019 |
175-5052
|
Hose |
$16.39
|
1 |
|
usually ships 10-13 days |
020 |
175-5047
|
Scrub head (OBSOLETE) |
$276.21
|
1 |
|
usually ships 1-5 days |
021 |
175-7020
|
Steel plated spacer (OBSOLETE) |
$7.26
|
2 |
|
usually ships 1-5 days |
022 |
175-2601
|
Square keyway |
$5.28
|
2 |
|
usually ships 10-13 days |
023 |
175-7021
|
Brush drive hub |
$175.34
|
2 |
|
ships same day |
024 |
999-0549
|
Washer 5/16 x 3/4 SAE flat stainless steel |
$0.99
|
4 |
|
ships same day |
025 |
999-0553
|
Washer 5/16 medium split lock stainless steel |
$0.99
|
2 |
|
ships same day |
026 |
999-0162
|
Bolt 5/16-18 x 1 1/4 hex head grade 5 zinc plated |
$0.99
|
2 |
|
ships same day |
027 |
175-7022
|
Scrub head skirt |
$42.02
|
1 |
|
usually ships 10-13 days |
028 |
175-1429
|
Skirt strap assembly |
$39.82
|
1 |
|
usually ships 10-13 days |
029 |
NOTE
|
Please See Batteries, Brushes, Pad Holders and Charger Pages |
Call for price
|
2 |
|
usually ships 3-26 days |
030 |
999-1147
|
Bolt M6-1 x 40mm hex head stainless steel |
$0.99
|
6 |
|
ships same day |
031 |
175-7024
|
Spring retainer bracket |
$19.47
|
4 |
|
ships same day |
032 |
175-7025
|
Spacer (Tennant Industrial) |
$5.33
|
4 |
|
usually ships 1-5 days |
033 |
175-8609
|
Brush retaining wire spring |
$18.26
|
2 |
|
ships same day |
034 |
175-3530
|
Vacuum hose with cuffs 1 1/2 x 46 inch |
$56.51
|
1 |
|
ships same day |