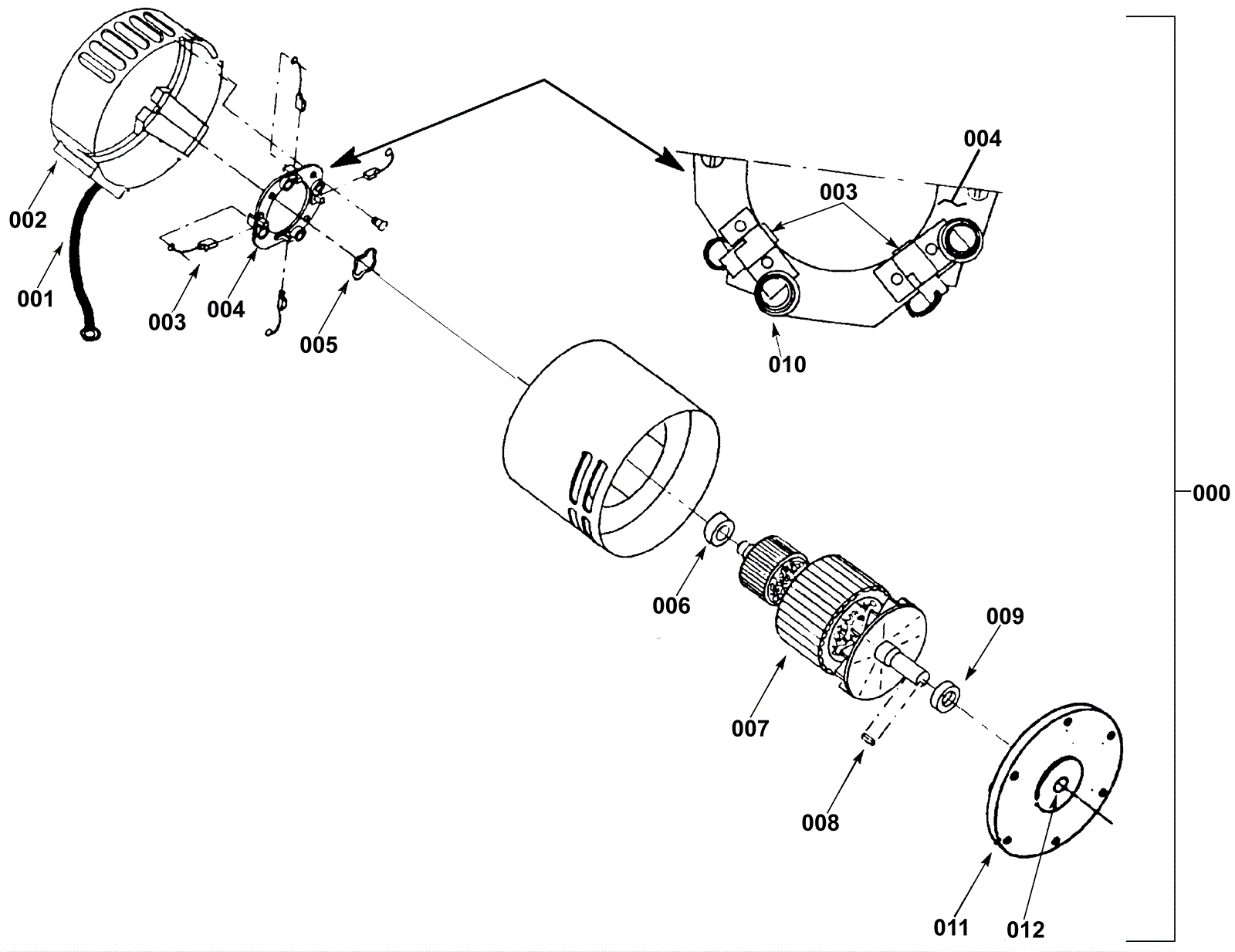
| # | Part | Description | Price | Req | Notes | Availability |
000 |
175-3226
|
Insulated stand off |
$10.34
|
1 |
(includes 001-012) |
ships same day |
001 |
175-0366
|
Lead assembly (OBSOLETE) |
$26.73
|
1 |
|
usually ships 1-5 days |
002 |
N/A
|
Not available |
Call for price
|
1 |
(Commutator bracket) |
usually ships 3-26 days |
003 |
175-0368
|
Carbon brush (sold individually) |
$28.82
|
4 |
|
usually ships 10-13 days |
004 |
175-0369
|
Brush board assembly (OBSOLETE) |
$93.83
|
1 |
(includes 003 and 010) |
usually ships 1-5 days |
005 |
175-0370
|
Helical washer |
$5.28
|
1 |
|
usually ships 1-5 days |
006 |
175-0957
|
Brush bearing |
$14.30
|
1 |
|
usually ships 10-13 days |
007 |
175-0372
|
Armature assembly (OBSOLETE) |
$665.72
|
1 |
(includes 006 and 009) |
usually ships 1-5 days |
008 |
175-0373
|
Key shaft (OBSOLETE) |
$1.98
|
1 |
|
usually ships 1-5 days |
009 |
175-2781
|
Wheel bearing |
$37.18
|
1 |
|
usually ships 3-28 days |
010 |
175-0375
|
Brush spring (pkg of 4) |
$11.99
|
1 |
|
usually ships 1-5 days |
011 |
175-0376
|
Back end bracket |
$134.64
|
1 |
|
usually ships 1-5 days |
012 |
175-0377
|
Oil seal |
$21.01
|
1 |
|
usually ships 10-13 days |