| # | Part | Description | Price | Req | Notes | Availability |
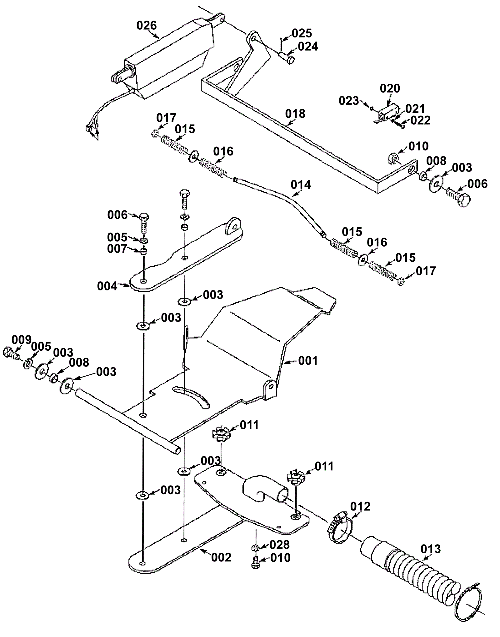
001 |
175-5618
|
Squeegee pivot plate (OBSOLETE) |
$314.71
|
1 |
|
usually ships 1-5 days |
002 |
175-5619
|
Squeegee mounting bracket (OBSOLETE) |
$386.43
|
1 |
|
usually ships 1-5 days |
003 |
999-0559
|
Washer 1/2 x 1/4 flat stainless steel |
$0.99
|
10 |
|
ships same day |
004 |
175-5623
|
Centering rod bracket (OBSOLETE) |
$129.80
|
1 |
|
usually ships 1-5 days |
005 |
999-0126
|
Washer 1/2 split lock |
$1.28
|
4 |
|
ships same day |
007 |
175-2743
|
Sleeved bushing |
$5.15
|
2 |
|
usually ships 10-13 days |
008 |
175-2785
|
Bushing |
$3.17
|
4 |
|
usually ships 1-5 days |
009 |
999-0561
|
Bolt 1/2-13 x 1 hex head stainless steel |
$3.28
|
2 |
|
ships same day |
011 |
175-2812
|
Knob |
$10.34
|
2 |
|
ships same day |
012 |
175-2057
|
Hose clamp |
$6.27
|
1 |
|
usually ships 1-5 days |
013 |
175-0225
|
Hose 1 1/2 x 50 inch with 90 degree cuff (OBSOLETE) |
$103.73
|
1 |
|
usually ships 10-13 days |
014 |
175-5620
|
Squeegee centering rod (OBSOLETE) |
$125.18
|
1 |
|
usually ships 1-5 days |
015 |
175-5621
|
Compression spring 24 39/64 x 2 13/64 (OBSOLETE) |
$6.27
|
4 |
|
usually ships 1-5 days |
016 |
999-0617
|
Washer 3/8 x 1 flat stainless steel |
$1.82
|
2 |
|
ships same day |
017 |
999-0170
|
Nut 3/8-16 hex plain finish |
$0.99
|
2 |
|
ships same day |
018 |
175-5622
|
Squeegee lift bracket (OBSOLETE) |
$154.00
|
1 |
|
usually ships 1-5 days |
019 |
999-0050
|
Nut 1/2-13 hex jam plain finish |
$0.99
|
2 |
|
ships same day |
020 |
675-9886
|
Snap switch |
$15.84
|
1 |
|
ships same day |
021 |
999-1158
|
Washer #6 flat stainless steel |
$0.99
|
2 |
|
ships same day |
022 |
999-0974
|
Screw 6-32 x 1 1/4 pan head phillips stainless steel |
$7.92
|
2 |
|
ships same day |
023 |
999-0195
|
Nut 6-32 hex plain |
$0.99
|
2 |
|
ships same day |
024 |
175-3012
|
Clevis pin |
$8.25
|
2 |
|
usually ships 10-13 days |
025 |
175-5080
|
Cotter pin |
$4.49
|
2 |
|
ships same day |
026 |
175-3010
|
Actuator |
$514.36
|
1 |
|
usually ships 10-13 days |
027 |
175-0142
|
1/4 inch male terminal |
$5.28
|
2 |
|
ships same day |
028 |
999-0628
|
Nut 3/8-16 hex jam stainless steel |
$0.99
|
1 |
|
ships same day |