| # | Part | Description | Price | Req | Notes | Availability |
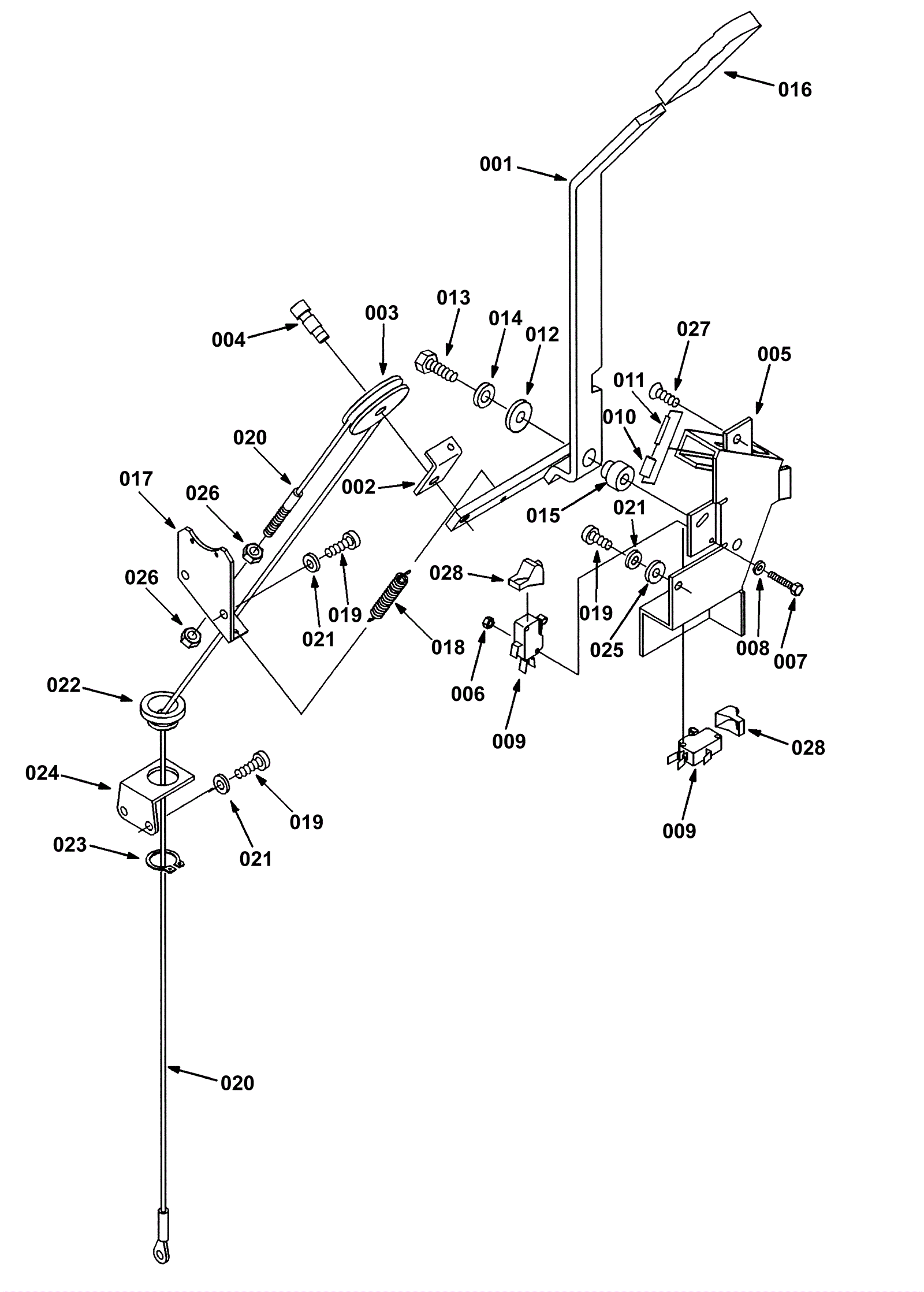
001 |
175-4795
|
Squeegee lifting arm (OBSOLETE) |
$111.10
|
1 |
|
usually ships 10-13 days |
002 |
175-4796
|
Bracket (OBSOLETE) |
$5.15
|
1 |
|
usually ships 10-13 days |
003 |
175-4797
|
Cable pulley (OBSOLETE) |
$17.27
|
1 |
|
usually ships 1-5 days |
004 |
999-1256
|
Screw 5/16-18 x 3/8 x 1 socket head shoulder |
$4.84
|
1 |
|
ships same day |
005 |
175-4798
|
Squeegee lifting arm bracket (OBSOLETE) |
$98.34
|
1 |
|
usually ships 10-13 days |
006 |
999-1161
|
Nut M3-.5 hex nylock stainless steel |
$0.99
|
4 |
|
ships same day |
007 |
175-1333
|
Screw M3-.5 x 20mm hex head |
$5.28
|
4 |
|
usually ships 10-13 days |
008 |
999-1553
|
Washer M3.5 flat zinc plated |
$0.99
|
8 |
|
ships same day |
009 |
175-4578
|
Switch kit |
$39.93
|
2 |
|
usually ships 10-13 days |
010 |
175-4799
|
Squeegee lift bracket bushing (OBSOLETE) |
$8.14
|
1 |
|
usually ships 1-5 days |
011 |
175-4800
|
Roll pin |
$20.13
|
1 |
|
usually ships 1-5 days |
012 |
999-0016
|
Washer 1/4 flat plain finish |
$0.99
|
1 |
|
ships same day |
013 |
999-0786
|
Screw M8-1.25 x 35mm hex head stainless steel |
$1.12
|
1 |
|
ships same day |
014 |
999-1053
|
Washer 5/16 internal star lock stainless steel |
$0.99
|
1 |
|
ships same day |
015 |
175-4801
|
Bushing |
$7.70
|
1 |
|
usually ships 10-13 days |
016 |
N/A
|
Not available |
Call for price
|
1 |
Squeegee lift grip |
usually ships 3-26 days |
017 |
175-4803
|
Squeegee cable bracket (OBSOLETE) |
$10.78
|
1 |
|
usually ships 1-5 days |
018 |
N/A
|
Not available |
Call for price
|
1 |
Extension spring |
usually ships 3-26 days |
019 |
999-1084
|
Screw M6-1 x 16mm truss head slotted stainless steel |
$1.85
|
5 |
|
ships same day |
020 |
175-3068
|
Squeegee lift cable |
$35.86
|
1 |
|
usually ships 10-13 days |
021 |
999-1117
|
Washer M6 split lock stainless steel |
$0.99
|
5 |
|
ships same day |
022 |
175-8735
|
Cable bushing |
$6.49
|
1 |
|
ships same day |
023 |
175-3008
|
Retaining ring |
$4.49
|
1 |
|
ships same day |
024 |
175-3007
|
Cable guide bracket |
$4.36
|
1 |
|
usually ships 1-5 days |
025 |
999-0016
|
Washer 1/4 flat plain finish |
$0.99
|
1 |
|
ships same day |
026 |
999-0181
|
Nut 1/4-20 hex jam plain finish |
$0.99
|
2 |
|
ships same day |
027 |
999-1422
|
Screw M6-1 x 16mm flat head zinc plated |
$2.26
|
1 |
|
ships same day |
028 |
175-4723
|
Switch boot |
$16.50
|
2 |
|
usually ships 10-13 days |