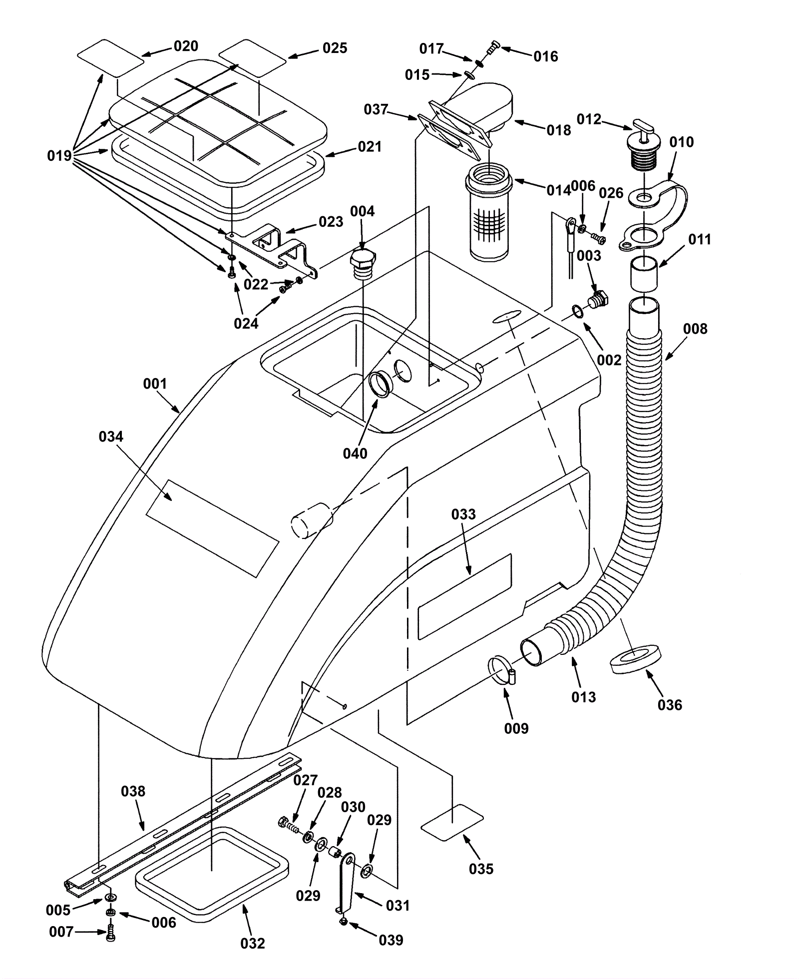
| # | Part | Description | Price | Req | Notes | Availability |
001 |
175-4667
|
Recovery tank (teal) |
$527.23
|
1 |
|
usually ships 1-5 days |
002 |
175-4668
|
O-ring seal |
$31.68
|
1 |
|
usually ships 1-5 days |
003 |
175-4669
|
Plug fitting |
$49.50
|
1 |
|
usually ships 1-5 days |
004 |
175-4670
|
3/4 inch plug |
$17.38
|
1 |
|
usually ships 10-13 days |
005 |
999-0006
|
Washer 3/16 flat zinc plated |
$0.99
|
8 |
|
ships same day |
006 |
999-1117
|
Washer M6 split lock stainless steel |
$0.99
|
9 |
|
ships same day |
007 |
999-1084
|
Screw M6-1 x 16mm truss head slotted stainless steel |
$1.85
|
8 |
|
ships same day |
008 |
175-4671
|
Drain hose assembly (OBSOLETE) |
$102.96
|
1 |
|
usually ships 10-13 days |
010 |
175-2654
|
Drain hose strap |
$22.99
|
1 |
|
usually ships 10-13 days |
011 |
175-2655
|
Drain hose sleeve |
$17.71
|
1 |
|
usually ships 10-13 days |
012 |
175-2653
|
1 1/2 inch expansion plug |
$61.82
|
1 |
|
usually ships 10-13 days |
013 |
175-2656
|
Drain hose |
$105.82
|
1 |
|
usually ships 10-13 days |
014a |
175-1804
|
Shut-off float |
$82.72
|
1 |
|
ships same day |
014b |
991-3108
|
Shut off float |
$40.98
|
1 |
(NON-OEM) |
ships same day |
015 |
999-1261
|
Washer M6 flat stainless steel |
$0.99
|
2 |
|
ships same day |
016 |
999-1168
|
Screw M6-1 x 20mm pan head phillips stainless steel |
$1.01
|
2 |
|
ships same day |
017 |
999-1117
|
Washer M6 split lock stainless steel |
$0.99
|
2 |
|
ships same day |
018 |
175-4532
|
Screw mo4 x 12 mm (OBSOLETE) |
$0.99
|
1 |
|
usually ships 1-5 days |
019 |
175-4672
|
Recovery tank lid assembly |
$188.65
|
1 |
|
usually ships 10-13 days |
020 |
175-1995
|
Model decal |
$65.12
|
1 |
|
usually ships 1-5 days |
021 |
175-4673
|
Recovery tank lid gasket |
$58.30
|
1 |
|
usually ships 10-13 days |
022 |
175-5797
|
Washer 1/6 flat zinc |
$4.49
|
4 |
|
usually ships 10-13 days |
023 |
175-1803
|
Tank lid hinge |
$13.20
|
1 |
|
ships same day |
024 |
999-0336
|
Screw 6-32 x 3/8 pan head phillips stainless steel |
$0.99
|
4 |
|
ships same day |
025 |
175-2649
|
Do not spray decal |
$5.50
|
1 |
|
usually ships 10-13 days |
026 |
999-0507
|
Bolt M6-1 x 16mm hex head full thread plain finish |
$0.99
|
1 |
|
ships same day |
027 |
999-0517
|
Bolt M8-1.25 x 16mm hex head full thread zinc |
$0.99
|
1 |
|
ships same day |
028 |
175-1886
|
Green twist cap |
$92.29
|
1 |
|
usually ships 1-5 days |
029 |
999-0024
|
Washer 5/16 flat stainless steel |
$1.34
|
2 |
|
ships same day |
030 |
175-2673
|
Bushing |
$4.22
|
1 |
|
usually ships 10-13 days |
031 |
175-4241
|
Tank support |
$38.28
|
1 |
|
usually ships 1-5 days |
032 |
175-4674
|
Gasket |
$12.98
|
1 |
|
usually ships 10-13 days |
033 |
175-4675
|
5280 decal (OBSOLETE) |
$10.67
|
2 |
|
usually ships 1-5 days |
034 |
175-4237
|
Tennant decal |
$18.04
|
1 |
|
usually ships 10-13 days |
035 |
175-1995
|
Model decal |
$65.12
|
1 |
|
usually ships 1-5 days |
036 |
675-9895
|
Vacuum motor gasket |
$9.79
|
1 |
|
usually ships 10-13 days |
037 |
175-4231
|
Float mount gasket |
$5.83
|
1 |
|
ships same day |
038 |
175-4676
|
Hinge (OBSOLETE) |
$22.11
|
1 |
|
usually ships 1-5 days |
039 |
175-7780
|
Rubber bumper |
$4.62
|
1 |
|
usually ships 10-13 days |
040 |
175-4228
|
2 inch plug |
$4.49
|
1 |
|
usually ships 10-13 days |