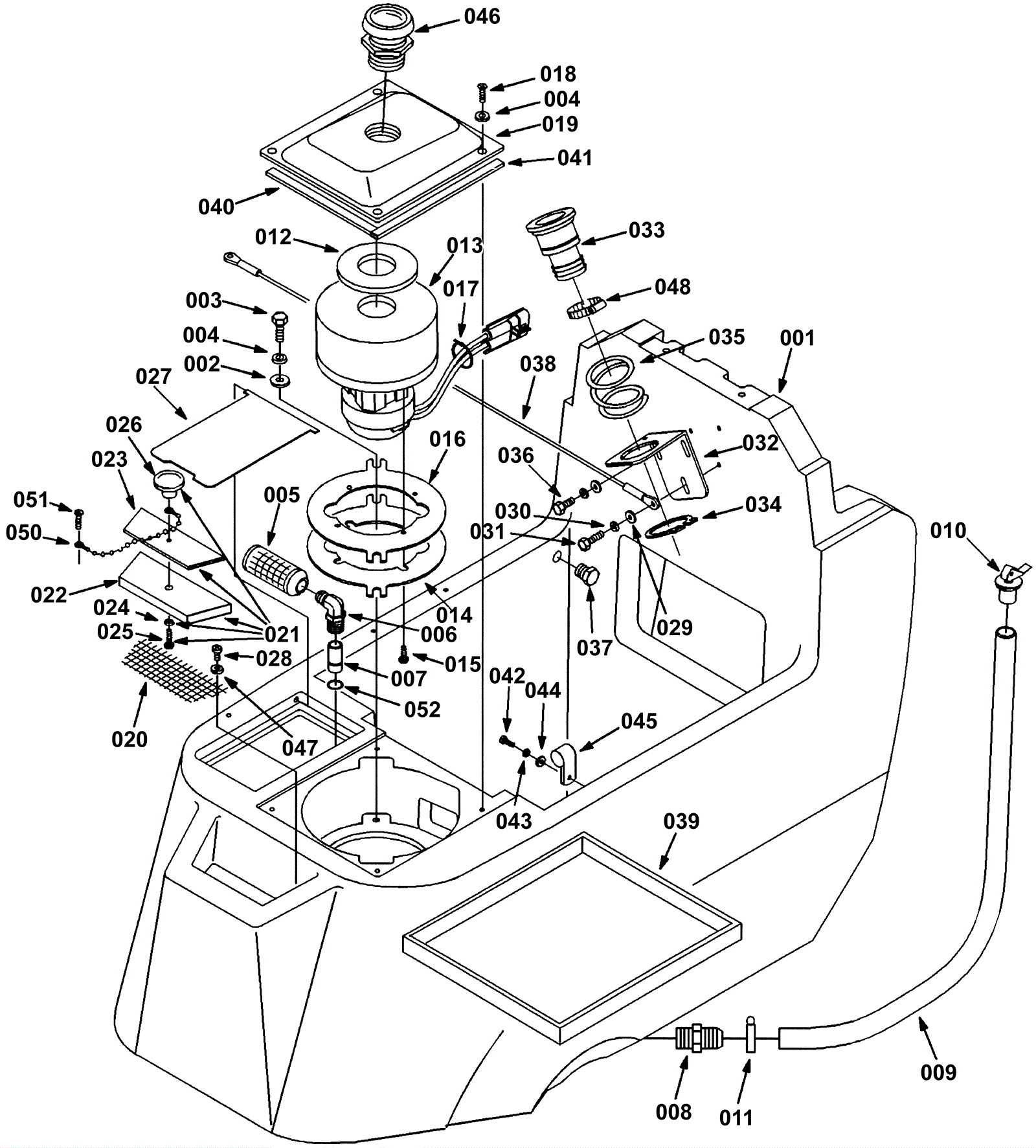
| # | Part | Description | Price | Req | Notes | Availability |
001 |
175-4742
|
Solution tank (teal) |
Call for price
|
1 |
|
usually ships 16-21 days |
002 |
999-0024
|
Washer 5/16 flat stainless steel |
Call for price
|
2 |
|
usually ships 11-14 days |
003 |
999-1133
|
Bolt M8-1.25 x 20mm hex head full thread plain |
Call for price
|
2 |
|
usually ships 8-9 days |
004 |
999-1053
|
Washer 5/16 internal star lock stainless steel |
Call for price
|
6 |
|
usually ships 11-14 days |
005 |
175-4743
|
Mesh screen filter |
Call for price
|
1 |
|
usually ships 16-21 days |
006 |
175-4744
|
90 degree elbow fitting |
Call for price
|
1 |
|
usually ships 16-21 days |
007 |
175-4745
|
Spacer |
Call for price
|
1 |
|
usually ships 16-21 days |
008 |
175-4746
|
Straight fitting |
Call for price
|
1 |
|
usually ships 1-5 days |
009 |
175-4747
|
Hose 3/4 x 33 inch (OBSOLETE) |
Call for price
|
1 |
|
usually ships 16-21 days |
010 |
175-4748
|
3/4 inch expansion plug |
Call for price
|
1 |
|
usually ships 16-21 days |
011 |
175-0199
|
Hose clamp |
Call for price
|
1 |
|
usually ships 16-21 days |
012 |
175-3910
|
Vacuum motor gasket |
Call for price
|
1 |
|
usually ships 16-21 days |
013a |
175-4749
|
24V 2 stage vacuum motor peripheral |
Call for price
|
1 |
(Tennant) |
usually ships 16-21 days |
013b |
991-1209-P
|
24V 2 stage vacuum motor peripheral with Packard plug |
Call for price
|
1 |
(Ametek-Lamb) |
usually ships 3-26 days |
013c |
175-2658
|
Carbon brush (pkg of 2) |
Call for price
|
2 |
|
usually ships 16-21 days |
014 |
175-4750
|
Vacuum motor bracket gasket |
Call for price
|
1 |
|
usually ships 16-21 days |
015 |
999-0332
|
Screw 10-24 x 5/8 pan head phillips stainless steel |
Call for price
|
4 |
|
usually ships 12-17 days |
016 |
175-4751
|
Vacuum motor bracket |
Call for price
|
1 |
|
usually ships 16-21 days |
017 |
175-0037
|
Wire tie |
Call for price
|
1 |
|
usually ships 16-21 days |
018 |
999-1084
|
Screw M6-1 x 16mm truss head slotted stainless steel |
Call for price
|
4 |
|
usually ships 11-14 days |
019 |
175-4752
|
Vacuum motor cover (OBSOLETE) |
Call for price
|
1 |
|
usually ships 16-21 days |
020 |
175-4753
|
Filter screen (OBSOLETE) |
Call for price
|
1 |
|
usually ships 16-21 days |
021 |
175-4754
|
Fill cover assembly (OBSOLETE) |
Call for price
|
1 |
(includes 022-026) |
usually ships 16-21 days |
022 |
175-5479
|
Solution fill cover |
Call for price
|
1 |
|
usually ships 1-5 days |
023 |
175-4755
|
Solution fill cover stiffener |
Call for price
|
1 |
|
usually ships 1-5 days |
024 |
999-0053
|
Washer #10 split lock plain finish |
Call for price
|
1 |
|
usually ships 11-14 days |
025 |
999-0371
|
Screw 10-32 x 1/2 pan head phillips zinc plated |
Call for price
|
1 |
|
usually ships 11-14 days |
026 |
175-9035
|
Knob |
Call for price
|
1 |
|
usually ships 16-21 days |
027 |
175-4757
|
Solution tank access door |
Call for price
|
1 |
|
usually ships 16-21 days |
028 |
999-0336
|
Screw 6-32 x 3/8 pan head phillips stainless steel |
Call for price
|
2 |
|
usually ships 11-14 days |
029 |
999-1261
|
Washer M6 flat stainless steel |
Call for price
|
7 |
|
usually ships 11-14 days |
030 |
999-1117
|
Washer M6 split lock stainless steel |
Call for price
|
7 |
|
usually ships 11-14 days |
031 |
999-1312
|
Screw M6-1 x 20mm hex head stainless steel |
Call for price
|
1 |
|
usually ships 11-14 days |
032 |
N/A
|
Not available |
Call for price
|
1 |
Vacuum transition mounting bracket |
usually ships 3-26 days |
033 |
175-3635
|
Transition tube |
Call for price
|
1 |
|
usually ships 16-21 days |
034 |
175-4355
|
Retaining ring |
Call for price
|
1 |
|
usually ships 16-21 days |
035 |
175-4353
|
Compression spring |
Call for price
|
1 |
|
usually ships 16-21 days |
036 |
999-0507
|
Bolt M6-1 x 16mm hex head full thread plain finish |
Call for price
|
2 |
|
usually ships 11-14 days |
037 |
175-4759
|
3/8 inch nylon plug |
Call for price
|
1 |
|
usually ships 16-21 days |
038 |
175-4760
|
Tank support cable assembly (OBSOLETE) |
Call for price
|
1 |
|
usually ships 1-5 days |
039 |
175-3140
|
Battery tray |
Call for price
|
1 |
|
usually ships 1-5 days |
040 |
175-4762
|
Vacuum motor cover gasket (OBSOLETE) |
Call for price
|
2 |
|
usually ships 16-21 days |
041 |
175-4763
|
Vacuum motor gasket (OBSOLETE) |
Call for price
|
2 |
|
usually ships 16-21 days |
042 |
999-0530
|
Screw M4-.7 x 8mm pan head slotted zinc |
Call for price
|
2 |
|
usually ships 11-14 days |
043 |
999-1083
|
Washer #8 internal star lock stainless steel |
Call for price
|
2 |
|
usually ships 8-9 days |
044 |
999-9089
|
Washer M4 flat stainless steel |
Call for price
|
2 |
|
usually ships 11-14 days |
045 |
175-3645
|
P clamp |
Call for price
|
2 |
|
usually ships 1-5 days |
046 |
175-4761
|
Vacuum fan screen filter (OBSOLETE) |
Call for price
|
1 |
|
usually ships 16-21 days |
047 |
999-1158
|
Washer #6 flat stainless steel |
Call for price
|
2 |
|
usually ships 11-14 days |
048 |
175-2057
|
Hose clamp |
Call for price
|
1 |
|
usually ships 1-5 days |
049 |
175-6469
|
Ball chain #10 stainless steel |
Call for price
|
5 in |
|
usually ships 16-21 days |
050 |
175-5586
|
End coupling |
Call for price
|
2 |
|
usually ships 1-5 days |
051 |
999-1111
|
Screw 6-32 x 3/4 pan head phillips sheet metal |
Call for price
|
1 |
|
usually ships 11-14 days |
052 |
175-4479
|
O-ring |
Call for price
|
1 |
|
usually ships 16-21 days |